TOP
|
特許
|
意匠
|
商標
意匠ウォッチ
Twitter
他の意匠を見る
発行日
2025-01-09
公報種別
意匠公報(S)
登録番号
1788629
登録日
2024-12-25
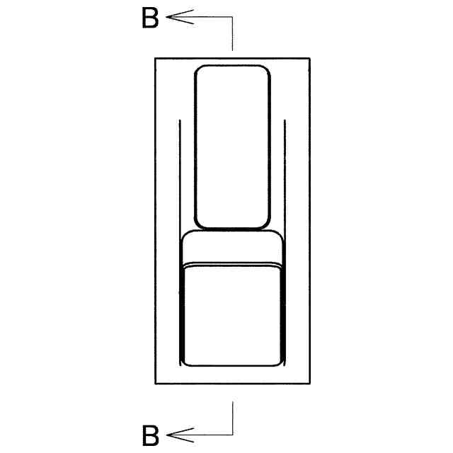
意匠に係る物品
小物掛け
意匠分類
D6
-20(室内整理用家具・用具)
出願番号
2024013770
出願日
2024-07-03
意匠権者
スガツネ工業株式会社
,
SUGATSUNE KOGYO CO.,LTD.
代理人
意匠に係る物品の説明
本物品は、壁面等に取り付けられ、本物品の掛け部を倒すと小物等を掛けることができる。
意匠の説明
左側面図は右側面図と対称にあらわれるので省略する。
この意匠をJ-PlatPat(特許庁公式サイト)で参照する
関連意匠
スガツネ工業株式会社
小物掛け
9か月前
スガツネ工業株式会社
取手
10か月前
スガツネ工業株式会社
取手
10か月前
スガツネ工業株式会社
取手
10か月前
スガツネ工業株式会社
電源プラグ受け
1か月前
スガツネ工業株式会社
取手
10か月前
スガツネ工業株式会社
蝶番
17日前
スガツネ工業株式会社
蝶番
8か月前
スガツネ工業株式会社
パイプクランプ
7か月前
スガツネ工業株式会社
蝶番
5か月前
スガツネ工業株式会社
蝶番
4か月前
スガツネ工業株式会社
棚受
17日前
スガツネ工業株式会社
棚受
17日前
スガツネ工業株式会社
棚受
17日前
スガツネ工業株式会社
蝶番
4か月前
スガツネ工業株式会社
配線孔具
3か月前
スガツネ工業株式会社
配線孔具
3か月前
スガツネ工業株式会社
配線孔具
3か月前
スガツネ工業株式会社
引戸のブラケット用カバー
2か月前
スガツネ工業株式会社
ドアクローザー
3か月前
スガツネ工業株式会社
ドアクローザー
3か月前
スガツネ工業株式会社
扉用回動規制具
8か月前
スガツネ工業株式会社
扉用回動規制具
8か月前
スガツネ工業株式会社
ドアストッパー
3か月前
スガツネ工業株式会社
配線器具用プレート
7か月前
スガツネ工業株式会社
配線器具用プレート
7か月前
スガツネ工業株式会社
ドアクローザー用受け具
3か月前
株式会社カインズ
棚
10か月前
株式会社ダルトン
棚
11か月前
株式会社イトーキ
棚
9か月前
株式会社カインズ
棚
10か月前
株式会社カインズ
棚
3か月前
株式会社カインズ
棚
3か月前
株式会社カインズ
棚
10か月前
株式会社カインズ
棚
10か月前
株式会社カインズ
棚
10か月前
続きを見る
他の意匠を見る