TOP
|
特許
|
意匠
|
商標
意匠ウォッチ
Twitter
他の意匠を見る
発行日
2025-01-15
公報種別
意匠公報(S)
登録番号
1788914
登録日
2025-01-06
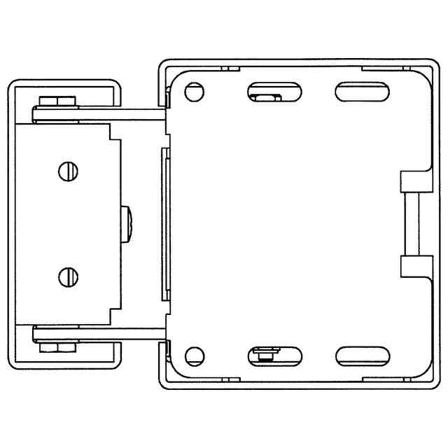
意匠に係る物品
扉用回動規制具
意匠分類
M3
-24(ねじ、くぎ、開閉金物、係止具等)
出願番号
2024014169
出願日
2024-07-10
意匠権者
スガツネ工業株式会社
,
SUGATSUNE KOGYO CO.,LTD.
代理人
意匠に係る物品の説明
本物品は、家具の扉や建具の扉の他、機械装置の扉に取り付けて、扉を所定の開き角度で止めるためのものである。本物品のアームは、正面図に示す位置から、アームが動いた正面図に示す位置まで動く。使用状態を示す参考図1、使用状態を示す参考図2は、本物品を機械装置の扉に取り付けた状態をあらわしている。使用状態を示す参考図1は、扉が閉まった状態、使用状態を示す参考図2は、扉が90度で止まった状態をあらわしている。
意匠の説明
背面図は正面図と対称にあらわれるので省略する。アームが動いた状態の背面図はアームが動いた状態の正面図と対称にあらわれるので省略する。
この意匠をJ-PlatPat(特許庁公式サイト)で参照する
関連意匠
スガツネ工業株式会社
小物掛け
9か月前
スガツネ工業株式会社
取手
10か月前
スガツネ工業株式会社
取手
10か月前
スガツネ工業株式会社
取手
10か月前
スガツネ工業株式会社
電源プラグ受け
1か月前
スガツネ工業株式会社
取手
10か月前
スガツネ工業株式会社
蝶番
23日前
スガツネ工業株式会社
蝶番
8か月前
スガツネ工業株式会社
パイプクランプ
7か月前
スガツネ工業株式会社
蝶番
5か月前
スガツネ工業株式会社
蝶番
4か月前
スガツネ工業株式会社
棚受
23日前
スガツネ工業株式会社
棚受
23日前
スガツネ工業株式会社
棚受
23日前
スガツネ工業株式会社
蝶番
4か月前
スガツネ工業株式会社
配線孔具
3か月前
スガツネ工業株式会社
配線孔具
3か月前
スガツネ工業株式会社
配線孔具
3か月前
スガツネ工業株式会社
引戸のブラケット用カバー
2か月前
スガツネ工業株式会社
ドアクローザー
3か月前
スガツネ工業株式会社
ドアクローザー
3か月前
スガツネ工業株式会社
扉用回動規制具
9か月前
スガツネ工業株式会社
扉用回動規制具
9か月前
スガツネ工業株式会社
ドアストッパー
3か月前
スガツネ工業株式会社
配線器具用プレート
7か月前
スガツネ工業株式会社
配線器具用プレート
7か月前
スガツネ工業株式会社
ドアクローザー用受け具
3か月前
個人
錠
3か月前
アブロイ オサケ ユキチュア
錠
11か月前
株式会社シブタニ
鍵材
5日前
株式会社バンダイ
吸盤
4か月前
スガツネ工業株式会社
蝶番
5か月前
株式会社バンダイ
吸盤
4か月前
スガツネ工業株式会社
蝶番
4か月前
スガツネ工業株式会社
蝶番
4か月前
株式会社シブタニ
鍵材
5日前
続きを見る
他の意匠を見る