TOP
|
特許
|
意匠
|
商標
意匠ウォッチ
Twitter
他の意匠を見る
発行日
2025-01-24
公報種別
意匠公報(S)
登録番号
1789784
登録日
2025-01-16
意匠に係る物品
植木鉢
意匠分類
K3
-15600(農業用機械器具、鉱山機械、建設機械等)
出願番号
2024016612
出願日
2024-08-08
意匠権者
株式会社ASENSE
代理人
個人
,
個人
意匠に係る物品の説明
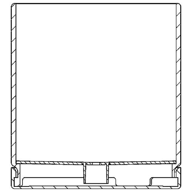
本物品は、草木の育成や飾りに適した植木鉢である。正面図中央断面図に示すように、本物品は本体の上端に開口縁を有し、本体の底に入れ子を有し、本体の下端に受け皿が着脱可能に設けられており、本体、入れ子及び受け皿で植木鉢としての機能を発揮するとともに、本体と受け皿で意匠上の一体感を醸し出している。本体と受け皿の間に、植木鉢の内部と外部を連通する通気経路が設けられている。本物品は使用状態を示す参考図に示すように、本物品の入れ子上部に鉢底石を載置してから土を入れ、植木を土に植え付けて使用する。
意匠の説明
本願意匠において、右側面図、左側面図および背面図は正面図と同一に表れるため、省略する。
この意匠をJ-PlatPat(特許庁公式サイト)で参照する
関連意匠
株式会社ASENSE
植木鉢
8か月前
株式会社コジマ
鎌
2か月前
株式会社キッツメタルワークス
鈴
16日前
株式会社コジマ
鎌
2か月前
個人
鋤簾
4か月前
サイボット株式会社
熊鈴
6か月前
個人
竹杭
1か月前
個人
竹杭
1か月前
個人
蹄鉄
8か月前
株式会社クボタ
耕耘機
11か月前
旭川機械工業株式会社
磨砕機
8か月前
井関農機株式会社
作業車
2か月前
和同産業株式会社
除雪機
2か月前
和同産業株式会社
除雪機
2か月前
株式会社アイデック
草取機
2か月前
ジェイ.シー. バンフォード エクスカベターズ リミテッド
掘削機
2か月前
個人
植木鉢
3か月前
株式会社GLOBE
植木鉢
3か月前
株式会社ハルコン
除雪機
11か月前
井関農機株式会社
耕耘機
4か月前
株式会社小松製作所
掘削爪
5日前
株式会社カインズ
散布器
6か月前
株式会社カインズ
散布器
6か月前
株式会社ワイビーエム
攪拌翼
11か月前
株式会社ワイビーエム
攪拌翼
7か月前
慈溪市華之杰塑料製品有限公司
把持部
8か月前
慈溪市華之杰塑料製品有限公司
雪かき
11か月前
個人
植木鉢
8か月前
株式会社カインズ
散布器
10か月前
株式会社クボタ
耕耘機
11か月前
株式会社カインズ
散布器
10か月前
株式会社GLOBE
植木鉢
10か月前
株式会社マーナ
植木鉢
9か月前
株式会社マーナ
植木鉢
9か月前
ニューデルタ工業株式会社
草刈機
8か月前
株式会社金山化成
植木鉢
8か月前
続きを見る
他の意匠を見る