TOP
|
特許
|
意匠
|
商標
意匠ウォッチ
Twitter
他の意匠を見る
発行日
2025-05-29
公報種別
意匠公報(S)
登録番号
1799744
登録日
2025-05-21
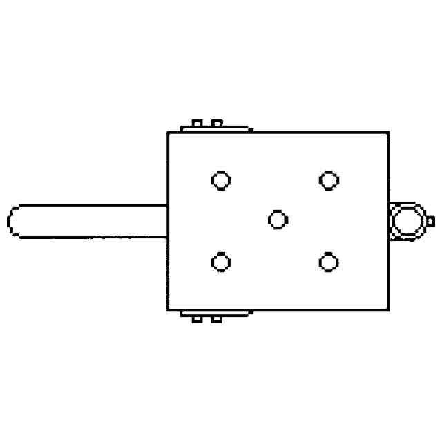
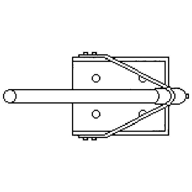
意匠に係る物品
鋤簾
意匠分類
K3
-1600(農業用機械器具、鉱山機械、建設機械等)
出願番号
2024009184
出願日
2024-04-16
意匠権者
個人
代理人
意匠に係る物品の説明
本物品は、側溝や側溝集水桝の底に溜った沈殿物などの汚泥を掬う柄と底部に支持金具の補強を施した鋤簾である。参考実施例図は底部の板幅を広くした形状であり、広い側溝幅に適した板幅での加工となる。
意匠の説明
この意匠をJ-PlatPat(特許庁公式サイト)で参照する
関連意匠
株式会社コジマ
鎌
2か月前
株式会社キッツメタルワークス
鈴
15日前
株式会社コジマ
鎌
2か月前
個人
鋤簾
4か月前
サイボット株式会社
熊鈴
6か月前
個人
竹杭
1か月前
個人
竹杭
1か月前
個人
蹄鉄
8か月前
株式会社クボタ
耕耘機
11か月前
旭川機械工業株式会社
磨砕機
8か月前
井関農機株式会社
作業車
2か月前
和同産業株式会社
除雪機
2か月前
和同産業株式会社
除雪機
2か月前
株式会社アイデック
草取機
2か月前
ジェイ.シー. バンフォード エクスカベターズ リミテッド
掘削機
2か月前
個人
植木鉢
3か月前
株式会社GLOBE
植木鉢
3か月前
株式会社ハルコン
除雪機
11か月前
井関農機株式会社
耕耘機
4か月前
株式会社小松製作所
掘削爪
4日前
株式会社カインズ
散布器
6か月前
株式会社カインズ
散布器
6か月前
株式会社ワイビーエム
攪拌翼
11か月前
株式会社ワイビーエム
攪拌翼
7か月前
慈溪市華之杰塑料製品有限公司
把持部
8か月前
慈溪市華之杰塑料製品有限公司
雪かき
11か月前
個人
植木鉢
8か月前
株式会社カインズ
散布器
10か月前
株式会社クボタ
耕耘機
11か月前
株式会社カインズ
散布器
10か月前
株式会社GLOBE
植木鉢
10か月前
株式会社マーナ
植木鉢
9か月前
株式会社マーナ
植木鉢
9か月前
ニューデルタ工業株式会社
草刈機
8か月前
株式会社金山化成
植木鉢
8か月前
株式会社ASENSE
植木鉢
8か月前
続きを見る
他の意匠を見る