TOP
|
特許
|
意匠
|
商標
意匠ウォッチ
Twitter
他の意匠を見る
発行日
2025-02-03
公報種別
意匠公報(S)
登録番号
1790432
登録日
2025-01-24
意匠に係る物品
シール部材
意匠分類
K9
-19(産業用機械器具汎用部品及び付属品)
出願番号
2024010839
出願日
2024-05-29
意匠権者
三和テクノ株式会社
代理人
個人
,
個人
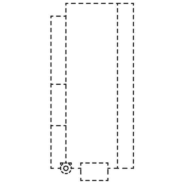
意匠に係る物品の説明
本物品は、工作機械や3Dプリンタ等においてレール上を摺動するスライダの摺動方向の端部に固定されるシール部材であって、レールに摺動可能に篏合されることでスライダ側に異物等が入り込むことを防止する。本物品は、各部の機能を示す参考斜視図に示されているように、摺動方向に沿って第1シール材部、第2シール材部および第3シール材部をこの順で有している。これらのシール材部は、レールに接触するように配置され、異物等の侵入を防止する。B部拡大参考断面図に示されているように、第1シール材部は、芯材の周囲を筒体(筒状の編成体)で覆った構成であり、第2シール材部は、多数のパイル糸を含むカットパイル部であり、第3シール材部は、発泡樹脂等からなる樹脂部である。第1シール材部、第2シール材部および第3シール材部は、それぞれ機能が異なるシール材部である。使用状態を示す参考斜視図に示されているように、本物品は、外枠体に配置された状態で使用するようにしてもよい。この場合、第1シール材部、第2シール材部および第3シール材部は、支持体が外枠体に配置された状態で所定の位置に固定されていればよい。また、本物品において、例えば支持体は、支持体の変形例を示す参考斜視図に示されるように、切欠きを有していてもよい。この構成によると、切欠き部分の開閉によってレールへの支持体の篏合が容易となる。
意匠の説明
A-A線断面図を含めて、実線で表した部分が部分意匠として意匠登録を受けようとする部分である。一点鎖線は意匠登録を受けようとする部分とその他の部分との境界のみを示す線である。左側面図は右側面図と対称に表れるので省略する。
この意匠をJ-PlatPat(特許庁公式サイト)で参照する
関連意匠
三和テクノ株式会社
シール部材
1か月前
三和テクノ株式会社
シール部材
7か月前
三和テクノ株式会社
シール部材
7か月前
三和テクノ株式会社
シール部材
8か月前
三和テクノ株式会社
シール部材
8か月前
三和テクノ株式会社
シール部材
8か月前
三和テクノ株式会社
シール部材
4か月前
三和テクノ株式会社
コンベヤベルト用ローラ
5か月前
三和テクノ株式会社
コンベヤベルト用ローラ
5か月前
ナブテスコ株式会社
減速機
10か月前
ナブテスコ株式会社
減速機
10か月前
星朋商工株式会社
防振具
7か月前
ナブテスコ株式会社
減速機
10か月前
ナブテスコ株式会社
減速機
10か月前
ナブテスコ株式会社
減速機
2か月前
ナブテスコ株式会社
減速機
2か月前
ナブテスコ株式会社
減速機
10か月前
ナブテスコ株式会社
減速機
10か月前
株式会社タイカ
防振具
11か月前
株式会社タイカ
防振具
11か月前
株式会社タイカ
防振具
11か月前
ナブテスコ株式会社
減速機
4か月前
ナブテスコ株式会社
減速機
10か月前
ナブテスコ株式会社
減速機
9か月前
株式会社タイカ
防振具
3か月前
NTN株式会社
玉軸受
7か月前
ダンフォス アクチ-セルスカブ
油圧モータ
9か月前
ダンフォス アクチ-セルスカブ
油圧モータ
9か月前
三和テクノ株式会社
シール部材
8か月前
三和テクノ株式会社
シール部材
8か月前
ダンフォス アクチ-セルスカブ
油圧モータ
9か月前
ダンフォス アクチ-セルスカブ
油圧モータ
9か月前
三和テクノ株式会社
シール部材
8か月前
株式会社タツノ
ノズル掛け
21日前
三機工業株式会社
部品保持具
8か月前
三和テクノ株式会社
シール部材
4か月前
続きを見る
他の意匠を見る