TOP
|
特許
|
意匠
|
商標
意匠ウォッチ
Twitter
他の意匠を見る
発行日
2025-04-24
公報種別
意匠公報(S)
登録番号
1797100
登録日
2025-04-16
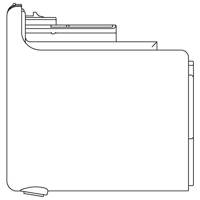
意匠に係る物品
電気掃除機用バッテリー
意匠分類
H1
-800(基本的電気素子)
出願番号
2024025435
出願日
2024-12-09
意匠権者
日立グローバルライフソリューションズ株式会社
代理人
弁理士法人磯野国際特許商標事務所
意匠に係る物品の説明
本物品は電気掃除機に装着されて使用される蓄電池ユニット(バッテリー)である。
意匠の説明
各斜視図中、他の六面図に表れていない細線は、いずれも立体表面の形状を特定するためのものである。
この意匠をJ-PlatPat(特許庁公式サイト)で参照する
関連意匠
日立グローバルライフソリューションズ株式会社
6か月前
日立グローバルライフソリューションズ株式会社
デマンド制御システム用画像
11か月前
日立グローバルライフソリューションズ株式会社
デマンド制御システム用画像
11か月前
日立グローバルライフソリューションズ株式会社
冷蔵庫
4か月前
日立グローバルライフソリューションズ株式会社
冷蔵庫
4か月前
日立グローバルライフソリューションズ株式会社
電気洗濯機
8か月前
日立グローバルライフソリューションズ株式会社
冷蔵庫
4か月前
日立グローバルライフソリューションズ株式会社
冷蔵庫
9か月前
日立グローバルライフソリューションズ株式会社
冷蔵庫
9か月前
日立グローバルライフソリューションズ株式会社
電気洗濯乾燥機
9か月前
日立グローバルライフソリューションズ株式会社
電気洗濯乾燥機
9か月前
日立グローバルライフソリューションズ株式会社
電気掃除機本体
2か月前
日立グローバルライフソリューションズ株式会社
電気掃除機本体
2か月前
日立グローバルライフソリューションズ株式会社
電気掃除機用バッテリー
5か月前
日立グローバルライフソリューションズ株式会社
電気掃除機用バッテリー
5か月前
日立グローバルライフソリューションズ株式会社
電気掃除機本体
2か月前
日立グローバルライフソリューションズ株式会社
電気掃除機用吸口
5か月前
日立グローバルライフソリューションズ株式会社
電気掃除機用吸口
5か月前
日立グローバルライフソリューションズ株式会社
冷蔵庫用庫内冷気ダクト
11日前
タイコ エレクトロニクス (シャンハイ) カンパニー リミテッド
端子
6か月前
タイコ エレクトロニクス (シャンハイ) カンパニー リミテッド
端子
6か月前
タイコ エレクトロニクス (シャンハイ) カンパニー リミテッド
端子
6か月前
タイコ エレクトロニクス (シャンハイ) カンパニー リミテッド
端子
6か月前
深せん市緑巨能科技発展有限公司
電池
3か月前
東莞市諾星電子有限公司
電池
5か月前
タイコ エレクトロニクス (シャンハイ) カンパニー リミテッド
端子
10か月前
リーダーソン ライティング カンパニー リミテッド
電球
7か月前
新電元工業株式会社
ボビン
今日
新電元工業株式会社
ボビン
5か月前
株式会社CIO
充電器
7か月前
安克創新科技股ふん有限公司
充電器
9か月前
安克創新科技股ふん有限公司
充電器
9か月前
日本航空電子工業株式会社
端子台
5か月前
新電元工業株式会社
コイル
5か月前
ベンアン エナジー テクノロジー ジャンスー シーオー.,エルティーディー
蓄電池
10か月前
新電元工業株式会社
コイル
5か月前
続きを見る
他の意匠を見る