TOP
|
特許
|
意匠
|
商標
意匠ウォッチ
Twitter
他の意匠を見る
発行日
2025-05-07
公報種別
意匠公報(S)
登録番号
1797846
登録日
2025-04-24
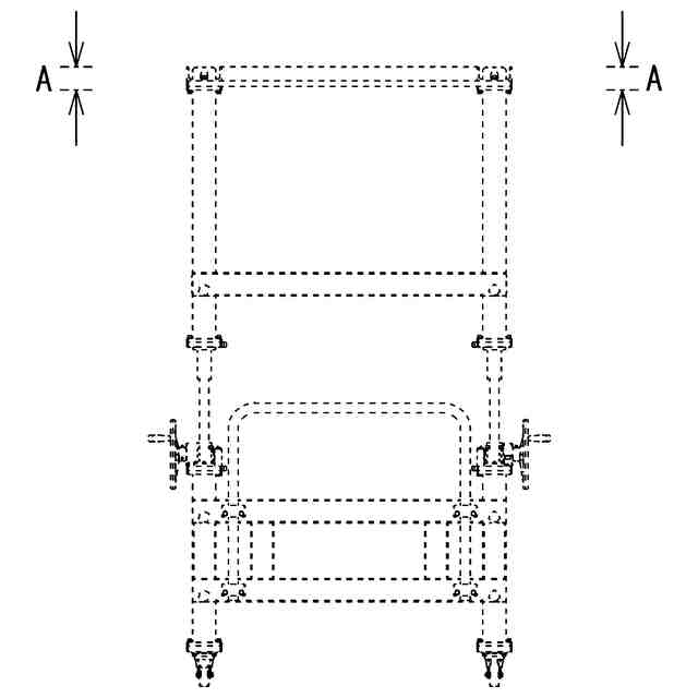
意匠に係る物品
搬送装置
意匠分類
H2
-590(回転電気機械、配電機械器具)
出願番号
2024017728
出願日
2024-08-28
意匠権者
日新電機株式会社
代理人
弁理士法人 HARAKENZO WORLD PATENT & TRADEMARK
意匠に係る物品の説明
本物品は、配電盤等を運搬し据付するための搬送装置である。本物品の正面側又は背面側の部材を取り外して、使用状態を示す参考図に示すように配電盤を囲み、側面のハンドルにより高さを調節しながら本物品の上面の配電盤固定部に配電盤の吊環を固定し、本物品に配電盤を吊り下げて移動、所定の場所に据付するための搬送装置である。配電盤固定部は、配電盤の大きさに合わせて位置を中央寄りに移動させることができる。配電盤固定部に設けられた孔に配電盤の上面に設けられた吊環を挿入し、当該吊環の環状部にピンを挿通することで配電盤を本物品に固定する。
意匠の説明
実線で表した部分が、部分意匠として意匠登録を受けようとする部分である。参考斜視図及び参考平面図に表された色彩(水色)は、形状を明確にするための背景である。背面図及び右側面図は、それぞれ正面図及び左側面図と同一に表れるため省略する。重量物であるため底面図を省略する。各断面図において、ハッチングを施した部分は物品の断面を表す。
この意匠をJ-PlatPat(特許庁公式サイト)で参照する
関連意匠
日新電機株式会社
情報表示用画像
9か月前
日新電機株式会社
情報表示用画像
11か月前
日新電機株式会社
ワッペン
4か月前
日新電機株式会社
圧力容器
9か月前
日新電機株式会社
圧力容器
9か月前
日新電機株式会社
圧力容器
9か月前
日新電機株式会社
電力変換器
21日前
日新電機株式会社
搬送装置
5か月前
日新電機株式会社
搬送装置
5か月前
日新電機株式会社
搬送装置
5か月前
日新電機株式会社
搬送装置
5か月前
日新電機株式会社
電力変換器用治具
7か月前
安克創新科技股ふん有限公司
充電器
5か月前
威陞科技有限公司
充電器
6か月前
京セラ株式会社
充電台
4か月前
京セラ株式会社
充電台
4か月前
深セン市徐如林電子商務有限公司
充電器
4か月前
多摩川精機株式会社
モータ
4か月前
株式会社オーディオテクニカ
充電器
7か月前
多摩川精機株式会社
モータ
4か月前
ホシデン株式会社
充電器
1か月前
深セン市緑聯科技股フン有限公司
充電器
1か月前
株式会社マキタ
充電器
2か月前
深セン市緑聯科技股フン有限公司
充電器
1か月前
GROOVE X株式会社
充電器
6か月前
トヨタ自動車株式会社
充電器
1か月前
深せん市藍禾技術有限公司
充電器
10か月前
パナソニックIPマネジメント株式会社
分電盤
10か月前
パナソニックIPマネジメント株式会社
蓄電池
10か月前
デンヨー株式会社
発電機
1か月前
デンヨー株式会社
発電機
10か月前
深せん英派森科技有限公司
充電器
2か月前
株式会社マキタ
充電器
2か月前
広東麦多多実業有限公司
充電器
4か月前
RENON POWER 株式会社
蓄電器
3か月前
プライム・スター株式会社
蓄電池
7か月前
続きを見る
他の意匠を見る