TOP
|
特許
|
意匠
|
商標
意匠ウォッチ
Twitter
他の意匠を見る
発行日
2025-06-02
公報種別
意匠公報(S)
登録番号
1800068
登録日
2025-05-23
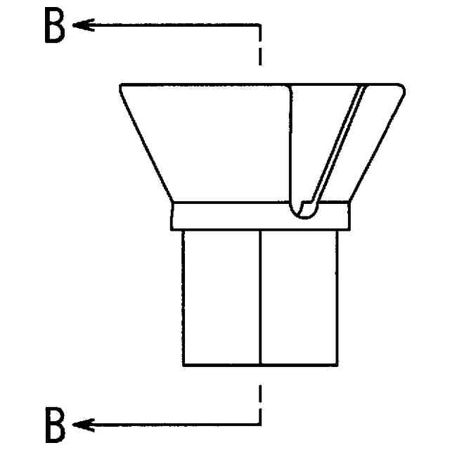
意匠に係る物品
インサート
意匠分類
L4
-580(建築用構成品)
出願番号
2025004326
出願日
2025-03-05
意匠権者
ネグロス電工株式会社
代理人
個人
,
個人
意匠に係る物品の説明
本物品は、例えばデッキプレート上に打設されるコンクリート材などで天井スラブを構築するに際し、予めデッキプレート上から打ち込み取り付けておくのであり、取付後ではスプリングによってコンクリート材による打設圧によっても傾かず、またデッキプレート下方に配されるネジ部によって吊り下げ設置する各種部材と連繋できるようにしている。
意匠の説明
実線で表した部分が、部分意匠として意匠登録を受けようとする部分である。
意匠ウォッチbot のツイートを見る
この意匠をJ-PlatPat(特許庁公式サイト)で参照する
関連意匠
ネグロス電工株式会社
やすり
11か月前
ネグロス電工株式会社
取付具
8か月前
ネグロス電工株式会社
取付具
8か月前
ネグロス電工株式会社
インサート
4か月前
ネグロス電工株式会社
インサート
4か月前
ネグロス電工株式会社
単管パイプ用取付金具
2か月前
ネグロス電工株式会社
ターンバックル
6か月前
ネグロス電工株式会社
フレーム
3か月前
ネグロス電工株式会社
ライティングダクト支持金具
11か月前
ネグロス電工株式会社
カバールーフ用各種部材の取付金具
4か月前
ネグロス電工株式会社
ライティングダクト支持金具
11か月前
ネグロス電工株式会社
カバールーフ用各種部材の取付金具
4か月前
ネグロス電工株式会社
継ぎ金具
2か月前
ネグロス電工株式会社
感知器用気密カバー
2日前
ネグロス電工株式会社
感知器用気密カバー
2日前
株式会社イチネンアクセス
ハンマー
5か月前
ネグロス電工株式会社
鳥獣害防止プレート
2か月前
ネグロス電工株式会社
鳥獣害防止プレート
2か月前
ネグロス電工株式会社
鳥獣害防止プレート
2か月前
ネグロス電工株式会社
鳥獣害防止プレート
2か月前
ネグロス電工株式会社
鳥獣害防止プレート
2か月前
ネグロス電工株式会社
鳥獣害防止プレート
2か月前
ネグロス電工株式会社
アングル材用配管支持受け具
8か月前
ネグロス電工株式会社
クリーンルーム内配管用化粧カバー
3か月前
大建工業株式会社
窓
29日前
大建工業株式会社
窓
29日前
株式会社サカタ製作所
吊子
11か月前
株式会社サカタ製作所
吊子
11か月前
株式会社サカタ製作所
吊子
11か月前
株式会社サカタ製作所
吊子
10か月前
株式会社サカタ製作所
吊子
10か月前
個人
階段
6か月前
株式会社橋梁メンテナンス
集水器
3か月前
ナカ工業株式会社
点検口
2か月前
株式会社橋梁メンテナンス
集水器
3か月前
株式会社橋梁メンテナンス
集水器
3か月前
続きを見る
他の意匠を見る