TOP
|
特許
|
意匠
|
商標
意匠ウォッチ
Twitter
他の意匠を見る
発行日
2025-06-19
公報種別
意匠公報(S)
登録番号
1801445
登録日
2025-06-11
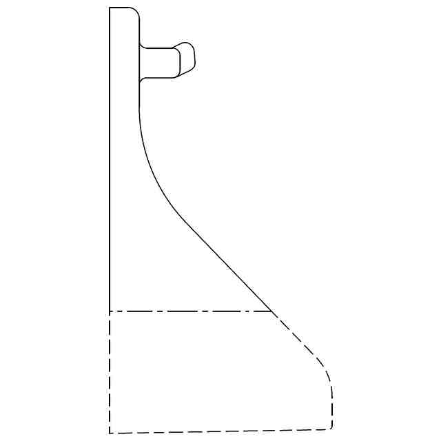
意匠に係る物品
腕時計のハンガー
意匠分類
C0
-13(C1~C7に属さないその他の生活用品)
出願番号
2024019468
出願日
2024-09-21
意匠権者
個人
代理人
意匠に係る物品の説明
本物品は、腕時計を掛けて保持するためのハンガーである。正面上部の横棒に腕時計のベルトを引っ掛ける。正面下部の傾斜面は腕時計の載置部である。本体背面上部に、壁に固定するための取付板が嵌合されている。
意匠の説明
実線で表した部分が、部分意匠として意匠登録を受けようとする部分である。一点鎖線は、部分意匠として意匠登録を受けようとする部分とその他の部分との境界のみを示す線である。底面図は、意匠登録を受けようとする部分が表れないため省略する。参考斜視図の表面に表された面境界エッジは、立体表面の形状を特定するためのものである。
この意匠をJ-PlatPat(特許庁公式サイト)で参照する
関連意匠
株式会社ニッシン
置物
6か月前
株式会社ニッシン
置物
6か月前
株式会社ニッシン
置物
6か月前
トモエ陶業株式会社
宝石箱
7か月前
株式会社天王
トレイ
2か月前
個人
刺繍枠
8か月前
近畿編針株式会社
編み針
7か月前
個人
刺繍枠
8か月前
レック株式会社
ボトル
3か月前
アッシュコンセプト株式会社
スタンド
3か月前
淀川建材工業株式会社
スタンド
9か月前
株式会社シーズワン
収納容器
10か月前
深せん市半秒科技有限公司
収納容器
6か月前
株式会社フォルム
収納容器
2か月前
株式会社フォルム
収納容器
2か月前
株式会社マーナ
収納容器
8か月前
個人
キーツリー
4か月前
錦化成株式会社
小物整理箱
7か月前
個人
オルゴール
6か月前
深せん市点星光電有限公司
収納ケース
3か月前
大山株式会社
裁縫ケース
8か月前
チューンズ デザイン エルエルシー
フックツール
10か月前
白元アース株式会社
包装用噴霧器
12か月前
個人
小物整理用具
1か月前
フマキラー株式会社
包装用噴霧器
7か月前
フマキラー株式会社
包装用噴霧器
7か月前
フマキラー株式会社
包装用噴霧器
7か月前
フマキラー株式会社
包装用噴霧器
7か月前
白元アース株式会社
包装用噴霧器
12か月前
錦化成株式会社
小物整理箱の蓋
7か月前
株式会社マーナ
収納容器用の蓋
8か月前
有限会社エイジェックス
腕時計スタンド
4か月前
レック株式会社
噴霧器付き容器
3か月前
株式会社吉野工業所
トリガースプレー
7か月前
個人
腕時計のハンガー
4か月前
個人
腕時計のハンガー
4か月前
続きを見る
他の意匠を見る