TOP
|
特許
|
意匠
|
商標
意匠ウォッチ
Twitter
他の意匠を見る
発行日
2025-07-10
公報種別
意匠公報(S)
登録番号
1803363
登録日
2025-07-02
意匠に係る物品
配管カバー
意匠分類
K8
-290(動力機械器具、ポンプ、圧縮機、送風機等)
出願番号
2025000418
出願日
2025-01-10
意匠権者
株式会社ジャパンエンジンコーポレーション
代理人
弁理士法人酒井国際特許事務所
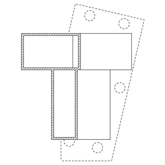
意匠に係る物品の説明
本物品は、船舶のエンジン等に用いられる配管カバーである。本物品は、内部に複数の配管を挿通して纏めて保護することが可能である。前記エンジンに本物品が組み込まれた状態の例を「使用状態を示す参考図」に表わす。
意匠の説明
実線で表わした部分が、部分意匠として意匠登録を受けようとする部分である。
この意匠をJ-PlatPat(特許庁公式サイト)で参照する
関連意匠
株式会社ジャパンエンジンコーポレーション
配管カバー
3か月前
株式会社ジャパンエンジンコーポレーション
配管カバー
3か月前
株式会社ジャパンエンジンコーポレーション
配管カバー
3か月前
株式会社ジャパンエンジンコーポレーション
配管カバー
3か月前
株式会社ジャパンエンジンコーポレーション
ポンプ駆動油の蓄圧器
3か月前
パーパス株式会社
給湯器
9か月前
パーパス株式会社
給湯器
4か月前
パーパス株式会社
給湯器
4か月前
三菱重工サーマルシステムズ株式会社
圧縮機
1か月前
パーパス株式会社
給湯器
9か月前
個人
送風機
8か月前
三菱電機株式会社
送風機
1か月前
株式会社ノーリツ
給湯器
20日前
ヤンマーホールディングス株式会社
エンジン
9か月前
株式会社加藤製作所
内燃機関
10日前
本田技研工業株式会社
内燃機関
1か月前
オリオン機械株式会社
回転ポンプ
9か月前
ナブテスコオートモーティブ株式会社
空気圧縮機
1か月前
ナブテスコオートモーティブ株式会社
空気圧縮機
1か月前
オリオン機械株式会社
回転ポンプ
9か月前
ナブテスコオートモーティブ株式会社
空気圧縮機
1か月前
槃実科技(深せん)有限公司
遠心ポンプ
1か月前
江蘇国潤電气有限公司
エアポンプ
2か月前
エレコム株式会社
エアポンプ
2か月前
オリオン機械株式会社
回転ポンプ
9か月前
アルバック機工株式会社
真空ポンプ
9か月前
オルガノ株式会社
薬液注入機
8か月前
ロイチェン カンパニー リミテッド
真空ポンプ
8か月前
株式会社鷺宮製作所
遠心ポンプ
8か月前
株式会社鷺宮製作所
遠心ポンプ
8か月前
株式会社ジャパンエンジンコーポレーション
配管カバー
3か月前
株式会社ジャパンエンジンコーポレーション
配管カバー
3か月前
株式会社ジャパンエンジンコーポレーション
配管カバー
3か月前
株式会社ジャパンエンジンコーポレーション
配管カバー
3か月前
北越工業株式会社
空気圧縮機
8か月前
株式会社日本イトミック
電気温水器
5日前
続きを見る
他の意匠を見る