TOP
|
特許
|
意匠
|
商標
意匠ウォッチ
Twitter
他の意匠を見る
発行日
2025-08-25
公報種別
意匠公報(S)
登録番号
1807007
登録日
2025-08-15
意匠に係る物品
穀類計量袋詰機
意匠分類
K3
-146(農業用機械器具、鉱山機械、建設機械等)
出願番号
2024022692
出願日
2024-10-31
意匠権者
株式会社サタケ
,
SATAKE CORPORATION
代理人
意匠に係る物品の説明
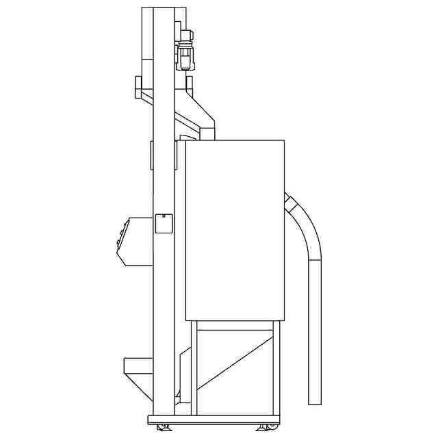
本物品は、米などの穀類を一定重量計量して袋詰するための穀類計量袋詰機である。正面図や参考斜視図に示すように、昇降機の前面下部に張込みホッパが設けられるとともに、昇降機の前面中央部に操作パネルが設置されているので、張込みホッパへの配管設置の融通性と本物品の操作性が向上している。昇降機上部には、排出樋を介してコンテナ投入シュートと返還シュートとが分岐して設けられている。もみすり・粒選別などの調製作業が終了した穀類は、まず、張込みホッパに投入される。張込みホッパに投入された穀類は、次に、昇降機によって上方へ揚穀され、コンテナ投入シュート側又は返還シュート側に分岐される。コンテナ投入シュート側に分岐された場合は、穀類は計量器及びパレット上に載置されたフレキシブルコンテナなどの米袋に一定重量となるまで投入される。一方、返還シュート側に分岐された場合は、穀類はバッファタンクに投入されて一時貯留されることになる。一時貯留された穀類はバッファタンク下部のシャッタを開放すれば、再度、昇降機によって上方へ揚穀されるようになっている。
意匠の説明
この意匠をJ-PlatPat(特許庁公式サイト)で参照する
関連意匠
株式会社サタケ
精穀機
3か月前
株式会社サタケ
精穀機
3か月前
株式会社サタケ
精穀機
3か月前
株式会社サタケ
家庭用精米器
9か月前
株式会社サタケ
家庭用精米器
9か月前
株式会社サタケ
精穀機の除糠用金網
1か月前
株式会社サタケ
精穀機の除糠用金網
3か月前
株式会社サタケ
穀類計量機
1か月前
株式会社サタケ
種子消毒機
1か月前
株式会社サタケ
種子消毒機
1か月前
株式会社サタケ
種子消毒機
1か月前
株式会社サタケ
穀類計量袋詰機
1か月前
株式会社サタケ
穀類計量袋詰機
1か月前
株式会社サタケ
樹脂ペレットの選別機
3か月前
株式会社コジマ
鎌
2か月前
株式会社キッツメタルワークス
鈴
16日前
株式会社コジマ
鎌
2か月前
個人
鋤簾
4か月前
サイボット株式会社
熊鈴
6か月前
個人
竹杭
1か月前
個人
竹杭
1か月前
個人
蹄鉄
8か月前
株式会社クボタ
耕耘機
11か月前
旭川機械工業株式会社
磨砕機
8か月前
井関農機株式会社
作業車
2か月前
和同産業株式会社
除雪機
2か月前
和同産業株式会社
除雪機
2か月前
株式会社アイデック
草取機
2か月前
ジェイ.シー. バンフォード エクスカベターズ リミテッド
掘削機
2か月前
個人
植木鉢
3か月前
株式会社GLOBE
植木鉢
3か月前
株式会社ハルコン
除雪機
11か月前
井関農機株式会社
耕耘機
4か月前
株式会社小松製作所
掘削爪
5日前
株式会社カインズ
散布器
6か月前
株式会社カインズ
散布器
6か月前
続きを見る
他の意匠を見る