TOP
|
特許
|
意匠
|
商標
意匠ウォッチ
Twitter
他の意匠を見る
発行日
2025-09-01
公報種別
意匠公報(S)
登録番号
1807482
登録日
2025-08-22
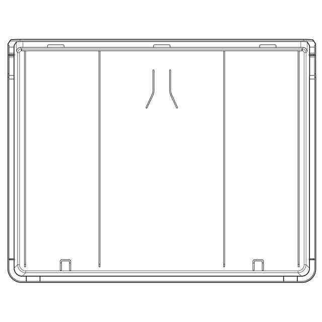
意匠に係る物品
収納ボックスの引き出し
意匠分類
D9
-14(住宅設備用品汎用部品及び付属品)
出願番号
2024023441,113302509
出願日
2024-11-12
意匠権者
聯府塑膠股ふん有限公司
代理人
個人
,
個人
意匠に係る物品の説明
この物品は、収納ボックスの引き出しである。
意匠の説明
この意匠をJ-PlatPat(特許庁公式サイト)で参照する
関連意匠
聯府塑膠股ふん有限公司
椅子
3か月前
聯府塑膠股ふん有限公司
椅子
1か月前
聯府塑膠股ふん有限公司
椅子
2か月前
聯府塑膠股ふん有限公司
折り畳み式コンテナカート
2か月前
聯府塑膠股ふん有限公司
折り畳み式コンテナカートの蓋
2か月前
聯府塑膠股ふん有限公司
折り畳み式コンテナカートの底板
2か月前
聯府塑膠股ふん有限公司
折り畳み式コンテナカートの中間棚
2か月前
聯府塑膠股ふん有限公司
折り畳み式コンテナカートの留め具
2か月前
聯府塑膠股ふん有限公司
収納ボックスの側板
3か月前
聯府塑膠股ふん有限公司
収納ボックスの台座
3か月前
聯府塑膠股ふん有限公司
収納ボックスの側板
3か月前
聯府塑膠股ふん有限公司
折り畳み式コンテナカートのバックル
2か月前
聯府塑膠股ふん有限公司
食器洗浄機用トレイ
8か月前
聯府塑膠股ふん有限公司
折り畳み式コンテナカートのサイドパネル
16日前
聯府塑膠股ふん有限公司
折り畳み式コンテナカートのサイドパネル
2か月前
聯府塑膠股ふん有限公司
折り畳み式コンテナカートのサイドパネル
16日前
聯府塑膠股ふん有限公司
折り畳み式コンテナカートのサイドパネル
2か月前
聯府塑膠股ふん有限公司
収納ボックスの脚
1か月前
聯府塑膠股ふん有限公司
食器洗浄機用トレイのフレーム
8か月前
聯府塑膠股ふん有限公司
食器洗浄機用トレイのフレーム
8か月前
聯府塑膠股ふん有限公司
食器洗浄機用トレイのフレーム
8か月前
聯府塑膠股ふん有限公司
収納ボックスの引き出し
1か月前
聯府塑膠股ふん有限公司
折り畳み式コンテナカートのキャスター
12日前
株式会社ミラタップ
棚板
1か月前
株式会社セラタ
棚柱
1か月前
スガツネ工業株式会社
棚受
12日前
スガツネ工業株式会社
棚受
12日前
スガツネ工業株式会社
棚受
12日前
コクヨ株式会社
棚板
8か月前
株式会社ウッドワン
棚受け
7か月前
株式会社サヌキ
棚受具
6か月前
株式会社サヌキ
棚受具
6か月前
株式会社ウッドワン
棚受け
7か月前
TOTO株式会社
家具用扉
3か月前
株式会社オカムラ
家具用脚
5か月前
クリナップ株式会社
家具用扉
1か月前
続きを見る
他の意匠を見る