TOP
|
特許
|
意匠
|
商標
意匠ウォッチ
Twitter
他の意匠を見る
発行日
2025-09-04
公報種別
意匠公報(S)
登録番号
1807808
登録日
2025-08-27
意匠に係る物品
縄留め具
意匠分類
M3
-000(ねじ、くぎ、開閉金物、係止具等)
出願番号
2025002622
出願日
2025-02-12
意匠権者
有限会社佐野機工
代理人
個人
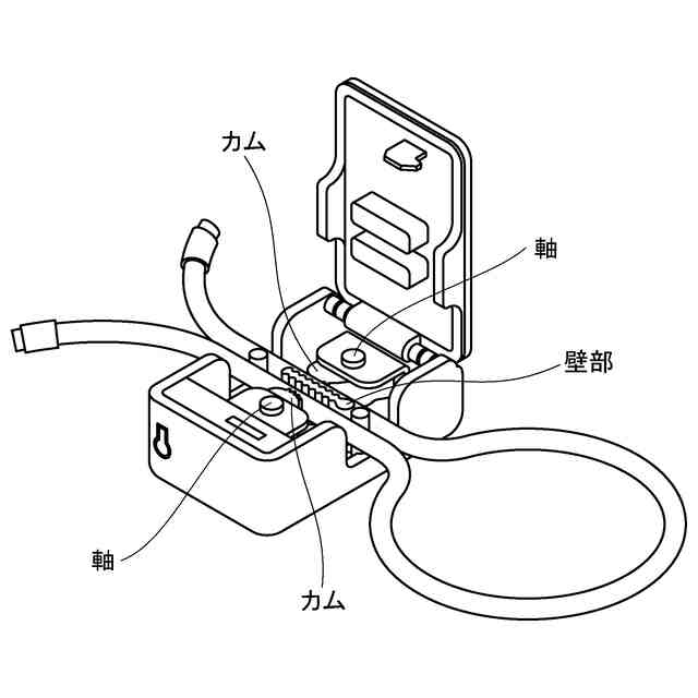
意匠に係る物品の説明
本物品は、人に腰縄を掛けるために使用し、1本の縄で作られたループを絞る縄部分を固定する縄留め具である。その使用方法は、人の腰に巻き付けた縄のループを絞る縄部分を、本物品の蓋の開いた状態でカムと壁部との間にセットし蓋を閉める。その後、縄の端側の両方あるいは一方の縄を指定方向に引いてループを絞り込み、人を腰縄で縛る。縄は指定方向にのみ引くことができる。ループを緩めるときは、蓋を開けて縄を取り出す。
意匠の説明
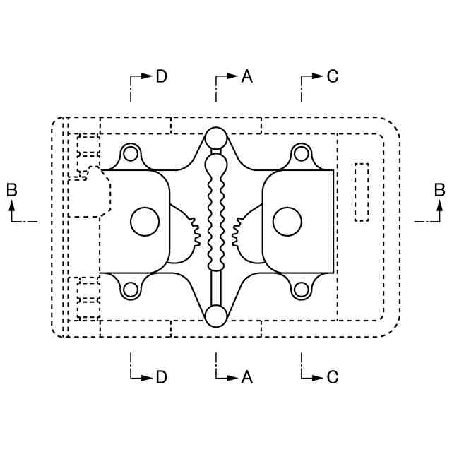
実線で表した部分が、意匠登録を受けようとする部分である。A-A線断面図、B-B線断面図、C-C線断面図、D-D線断面図およびE-E線断面図を含めて意匠登録を受けようとする部分を特定している。図面中、縄をセットした状態を示す参考斜視図で示す軸を中心にしてカムは回転する。
この意匠をJ-PlatPat(特許庁公式サイト)で参照する
関連意匠
有限会社佐野機工
縄留め具
1か月前
個人
錠
3か月前
アブロイ オサケ ユキチュア
錠
11か月前
株式会社バンダイ
吸盤
5か月前
株式会社バンダイ
吸盤
5か月前
スガツネ工業株式会社
蝶番
4か月前
スガツネ工業株式会社
蝶番
4か月前
スガツネ工業株式会社
蝶番
5か月前
株式会社シブタニ
鍵材
6日前
アイジー工業株式会社
ねじ
7か月前
住友電工ハードメタル株式会社
ねじ
3か月前
スガツネ工業株式会社
蝶番
8か月前
スガツネ工業株式会社
取手
10か月前
スガツネ工業株式会社
取手
10か月前
スガツネ工業株式会社
取手
10か月前
スガツネ工業株式会社
取手
10か月前
株式会社久力製作所
引手
11か月前
株式会社シブタニ
鍵材
6日前
スガツネ工業株式会社
蝶番
24日前
株式会社シブタニ
扉用錠
2か月前
株式会社イマオコーポレーション
締結具
3か月前
株式会社YOCABITO
留め具
1か月前
株式会社カインズ
ハトメ
9か月前
株式会社シブタニ
扉用錠
2か月前
積水樹脂株式会社
ボルト
11か月前
株式会社晃和
ナット
8か月前
積水樹脂株式会社
ナット
1か月前
積水樹脂株式会社
ナット
1か月前
積水樹脂株式会社
ナット
1か月前
積水樹脂株式会社
ナット
1か月前
個人
ボルト
5か月前
Ningbo Eudemon Child Protective Equipment Co., Ltd.
Lock
15日前
株式会社向洋技研
スタッド
8か月前
株式会社向洋技研
スタッド
8か月前
小岩金網株式会社
門扉用錠
17日前
永大産業株式会社
扉用蝶番
9か月前
続きを見る
他の意匠を見る