TOP
|
特許
|
意匠
|
商標
意匠ウォッチ
Twitter
他の意匠を見る
発行日
2025-09-19
公報種別
意匠公報(S)
登録番号
1808822
登録日
2025-09-10
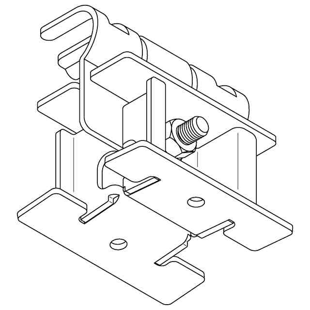
意匠に係る物品
屋根板取付金具
意匠分類
L4
-521(建築用構成品)
出願番号
2025006768
出願日
2025-04-03
意匠権者
株式会社淀川製鋼所
代理人
個人
,
個人
意匠に係る物品の説明
本願意匠に係る物品は、折板屋根の改修に使用される屋根板取付金具である。ハゼ折板屋根の改修工法の一としてカバー工法があるが、当該カバー工法において、本物品は既設の折板屋根とその上に設ける新設の折板屋根を接続するために用いられる。本物品の取付金具本体は、既設折板屋根のハゼ部を挟み込んで強固に固定する形状を備え、加えて、施工手間を少なくするために極力高さが低くされていることで特徴のある断面形状を有する。
意匠の説明
右側面図は左側面図と対称に表れる。
この意匠をJ-PlatPat(特許庁公式サイト)で参照する
関連意匠
株式会社淀川製鋼所
屋根板取付金具
24日前
株式会社淀川製鋼所
屋根板取付金具
24日前
株式会社淀川製鋼所
屋根板取付金具
24日前
株式会社淀川製鋼所
屋根板取付金具
24日前
株式会社淀川製鋼所
建築用外壁板材
3か月前
株式会社淀川製鋼所
建築用外壁板材
3か月前
株式会社淀川製鋼所
建築用外壁板材
3か月前
株式会社淀川製鋼所
建築用外壁板材
3か月前
株式会社淀川製鋼所
収納庫
4か月前
株式会社淀川製鋼所
組立て物置
11か月前
株式会社淀川製鋼所
グレーチング固定具
24日前
株式会社淀川製鋼所
グレーチング固定具用金具
24日前
株式会社淀川製鋼所
グレーチング固定具用金具
24日前
大建工業株式会社
窓
18日前
大建工業株式会社
窓
18日前
株式会社サカタ製作所
吊子
10か月前
株式会社大林組
障子
8か月前
株式会社サカタ製作所
吊子
10か月前
株式会社サカタ製作所
吊子
10か月前
個人
階段
6か月前
株式会社サカタ製作所
吊子
10か月前
株式会社サカタ製作所
吊子
10か月前
株式会社タクト
戸当り
7か月前
株式会社タクト
戸当り
7か月前
ナカ工業株式会社
点検口
2か月前
ナカ工業株式会社
点検口
2か月前
ナカ工業株式会社
点検口
2か月前
株式会社大林組
連結具
1か月前
ナカ工業株式会社
点検口
3日前
積水化学工業株式会社
樋継手
6日前
ライフデザイン・カバヤ株式会社
耐力壁
4か月前
YKK AP株式会社
外構壁
3か月前
YKK AP株式会社
外構壁
3か月前
YKK AP株式会社
外構壁
3か月前
YKK AP株式会社
外構壁
3か月前
株式会社橋梁メンテナンス
集水器
3か月前
続きを見る
他の意匠を見る