TOP
|
特許
|
意匠
|
商標
意匠ウォッチ
Twitter
他の意匠を見る
発行日
2025-09-29
公報種別
意匠公報(S)
登録番号
1809425
登録日
2025-09-18
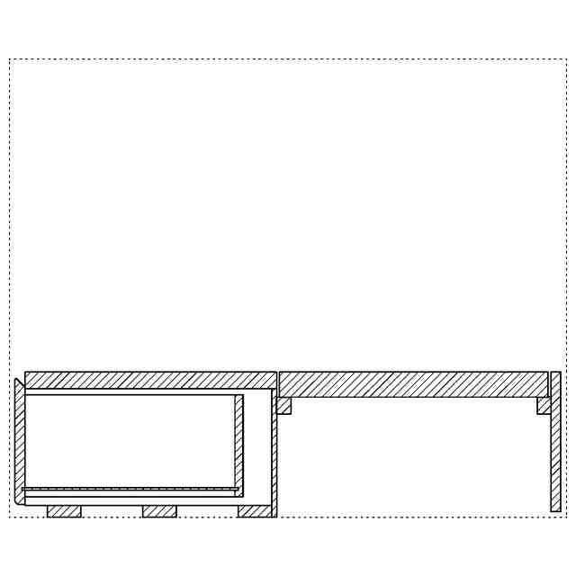
意匠に係る物品
ベッド用フレーム
意匠分類
D7
-31(家具)
出願番号
2025006976
出願日
2025-04-07
意匠権者
株式会社グランツ
代理人
意匠に係る物品の説明
本物品は正面側に引出しを備えたヘッドフレームである。正面の引出しは背面に組み替えることができる。
意匠の説明
実線で表した部分が、部分意匠として意匠登録を受けようとする部分である。
この意匠をJ-PlatPat(特許庁公式サイト)で参照する
関連意匠
株式会社グランツ
ベッド
5か月前
株式会社グランツ
二段ベッド
8か月前
株式会社グランツ
二段ベッド
8か月前
株式会社グランツ
二段ベッド
8か月前
株式会社グランツ
ベッド用棚
4か月前
株式会社グランツ
ベッド用フレーム
9か月前
株式会社グランツ
ベッド用フレーム
9か月前
株式会社グランツ
ベッド用フレーム
9か月前
株式会社グランツ
ベッド用フレーム
19日前
株式会社グランツ
ベッド用フレーム
19日前
株式会社グランツ
ベッド用フレーム
6か月前
株式会社グランツ
ベッド用フレーム
6か月前
株式会社グランツ
ベッド用フレーム
9か月前
株式会社グランツ
ベッド用ヘッドボード
8か月前
株式会社グランツ
ベッド用ヘッドボード
8か月前
株式会社グランツ
ベッド用ヘッドボード
19日前
株式会社グランツ
ベッド用ヘッドボード
11か月前
株式会社グランツ
ベッド用帽子掛け付きパネル
6か月前
株式会社RDS
机
2か月前
アイリスチトセ株式会社
机
10か月前
株式会社イトーキ
机
11か月前
株式会社イトーキ
机
11か月前
株式会社イトーキ
机
11か月前
株式会社イトーキ
机
11か月前
株式会社イトーキ
机
11か月前
株式会社イトーキ
机
11か月前
株式会社イトーキ
机
11か月前
株式会社イトーキ
机
11か月前
株式会社イトーキ
机
11か月前
株式会社イトーキ
机
11か月前
株式会社イトーキ
机
11か月前
株式会社イトーキ
机
6か月前
アイリスチトセ株式会社
机
10か月前
アイリスチトセ株式会社
机
10か月前
ミラーノル インコーポレイテッド
机
11か月前
有限会社イーナ
机
8か月前
続きを見る
他の意匠を見る