TOP
|
特許
|
意匠
|
商標
意匠ウォッチ
Twitter
他の意匠を見る
発行日
2025-10-08
公報種別
意匠公報(S)
登録番号
1810295
登録日
2025-09-30
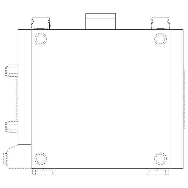
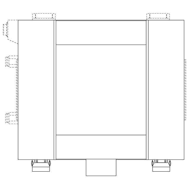
意匠に係る物品
恒温器
意匠分類
K6
-70(化学機械器具)
出願番号
2025009165
出願日
2025-05-09
意匠権者
エスペック株式会社
,
ESPEC CORP.
代理人
弁理士法人三協国際特許事務所
意匠に係る物品の説明
意匠の説明
実線で表した部分が部分意匠として意匠登録を受けようとする部分である。透明部を示す参考図におけるハッチング部は透明である。
意匠ウォッチbot のツイートを見る
この意匠をJ-PlatPat(特許庁公式サイト)で参照する
関連意匠
エスペック株式会社
恒温器
6日前
エスペック株式会社
恒温器
6日前
エスペック株式会社
恒温器用制御器
6日前
エスペック株式会社
恒温器用制御器
6日前
住友ファーマ株式会社
皿
3か月前
住友ファーマ株式会社
皿
3か月前
個人
濾布
11日前
個人
濾布
11日前
コーウェイ株式会社
浄水器
10か月前
キュア ホールディングス プロプライエタリー リミテッド
浄水器
9か月前
フルタ電機株式会社
消泡機
7か月前
株式会社中部コーポレーション
撹拌翼
19日前
株式会社ナリカ
撹拌器
3か月前
ウォンボン カンパニー リミテッド
浄水器
12日前
ウォンボン カンパニー リミテッド
浄水器
12日前
深せん市ふい心科技有限公司
浄水器
3か月前
PHC株式会社
冷凍庫
12か月前
株式会社JOIN PLANNING
噴霧器
4か月前
ニイヌマ株式会社
噴霧器
4か月前
コーウェイ株式会社
浄水器
3か月前
コーウェイ株式会社
浄水器
3か月前
エスペック株式会社
恒温器
6日前
エスペック株式会社
恒温器
6日前
住鉱潤滑剤株式会社
撹拌翼
7か月前
住鉱潤滑剤株式会社
撹拌翼
7か月前
株式会社LIXIL
冷水器
10か月前
株式会社明電舎
ろ過器
1か月前
ディジットセルズ・インコーポレイテッド
カセット
6か月前
ロート製薬株式会社
培養装置
6か月前
株式会社島津製作所
試料容器
8か月前
ロート製薬株式会社
培養装置
6か月前
国立研究開発法人量子科学技術研究開発機構
フラスコ
7か月前
三菱ケミカル株式会社
中空糸膜
4か月前
三菱ケミカル株式会社
中空糸膜
10か月前
三菱ケミカル株式会社
中空糸膜
4か月前
三菱ケミカル株式会社
中空糸膜
4か月前
続きを見る
他の意匠を見る