TOP
|
特許
|
意匠
|
商標
意匠ウォッチ
Twitter
他の意匠を見る
発行日
2025-10-10
公報種別
意匠公報(S)
登録番号
1810501
登録日
2025-10-02
意匠に係る物品
クランプ金具
意匠分類
L1
-53(仮設工事用品)
出願番号
2024022349
出願日
2024-10-28
意匠権者
株式会社くい丸
代理人
個人
,
個人
,
個人
,
個人
,
個人
,
個人
意匠に係る物品の説明
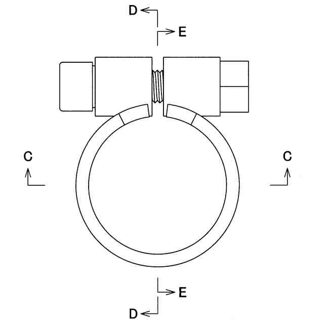
本物品は、単管、杭等を把持するクランプ金具である。本物品は金属で形成され、「ボルトが螺入される前の状態を示す参考斜視図(1)」に示すように、クランプ筒本体、ボルト、締付ブロック、締付ナット、回止めナットによって構成される。締付ブロック及び締付ナットは、円筒形状に形成されている。締付ブロックは、ボルトのネジ軸を挿通する軸穴を有する。締付ナットは、ボルトのネジ軸を螺入するネジ穴を有する。クランプ筒本体は、一枚の板を円筒形状にし、板長さ端にそれぞれ同じ形状の位置決め穴が形成されている。締付ブロック及び締付ナットは、位置決め穴内に挿入され、クランプ筒本体に固定される。本物品は、例えば、単管や杭等に装着され、単管や杭等を把持する。「ボルトが螺入される前の状態を示す参考斜視図(2)」及び「斜視図(1)」に示すように、ボルトのネジ軸は、締付ブロックの軸穴に挿通された後、締付ナットのネジ穴に螺入され、締付ナットから突出する。本物品は、クランプ筒本体内に単管や杭等を挿入して、ボルトのネジ軸を締付ナットに対して一方向に回転させることにより、ボルトの頭部の端面を締付ブロックの端面に当接する。本物品は、ボルトを一方向に回転することで、クランプ筒本体のクランプ穴(筒径)が縮径して、単管や杭等を締め付けて把持する。締付ナットから突出したネジ軸には、回止めナットが螺着される。回止めナットは、ネジ軸に対して他方向に回転し、締付ナットの端面に当接される。回止めナットを締め付けることにより、ネジ軸が他方向に回転して緩むことを抑制することができる。
意匠の説明
この意匠をJ-PlatPat(特許庁公式サイト)で参照する
関連意匠
株式会社くい丸
クランプ金具
今日
個人
柵
8か月前
個人
柵
8か月前
ペリー エスエー
支保工
8か月前
株式会社三共
足場板
10か月前
個人
鋼矢板
10か月前
株式会社片桐
型枠材
3か月前
株式会社片桐
型枠材
4か月前
個人
吊り金具
7か月前
日鉄建材株式会社
土留め壁
5か月前
個人
吊り金具
7か月前
個人
調整足場
2か月前
東阪工業株式会社
足場板材
9か月前
原田工業株式会社
足場部材
1か月前
ヒロセ株式会社
梁受け具
9か月前
日鉄建材株式会社
土留め壁
2か月前
モン.ゾン デベロップメント アーベー
足場用梁
2か月前
日鉄建材株式会社
土留め壁
5か月前
株式会社大林組
吊元装置
16日前
日鉄建材株式会社
土留め壁
7か月前
株式会社大林組
吊元装置
16日前
藤本貴昭株式会社
養生ボード
2か月前
株式会社ダイサン
仮設用支柱
8か月前
港製器工業株式会社
腹起し支柱
8か月前
JFE建材株式会社
立坑用部材
6か月前
JFE建材株式会社
立坑用部材
5か月前
JFE建材株式会社
立坑用部材
6か月前
JFE建材株式会社
立坑用部材
6か月前
JFE建材株式会社
立坑用部材
6か月前
港製器工業株式会社
腹起し支柱
18日前
JFE建材株式会社
立坑用部材
28日前
JFE建材株式会社
立坑用部材
28日前
JFE建材株式会社
立坑用部材
28日前
JFE建材株式会社
立坑用部材
28日前
株式会社東京BK足場
足場用金具
28日前
JFE建材株式会社
立坑用部材
6か月前
続きを見る
他の意匠を見る