TOP
|
特許
|
意匠
|
商標
特許ウォッチ
Twitter
他の特許を見る
10個以上の画像は省略されています。
公開番号
2025004474
公報種別
公開特許公報(A)
公開日
2025-01-15
出願番号
2023104187
出願日
2023-06-26
発明の名称
生地折り装置、及び生地折り方法
出願人
JUKI株式会社
,
国立大学法人信州大学
代理人
弁理士法人酒井国際特許事務所
主分類
A41H
43/02 20060101AFI20250107BHJP(衣類)
要約
【課題】縫製前の布部品をピックアップして搬送に適した形態にまとめることが可能な生地折り装置を提供すること。
【解決手段】生地折り装置は、生地の一部を巻き付けて保持するピックアップ機構と、前記ピックアップ機構の下方の支持位置と前記支持位置から離れた退避位置とに支持板を進退移動させる支持機構と、を含むハンド部と、前記ハンド部を上下方向と、水平方向の少なくとも一方向とに沿って移動させ、前記ハンド部に保持した前記生地を折り重ねる移動機構と、を備える。
【選択図】図1
特許請求の範囲
【請求項1】
生地の一部を保持するピックアップ機構と、
前記ピックアップ機構の下方の支持位置と前記支持位置から離れた退避位置とに支持板を進退移動させる支持機構と、
を含むハンド部と、
前記ハンド部を上下方向と、水平方向の少なくとも一方向とに沿って移動させ、前記ハンド部に保持した前記生地を折り重ねる移動機構と、を備える、
生地折り装置。
続きを表示(約 1,000 文字)
【請求項2】
前記支持機構は、前記ピックアップ機構が前記生地の一端側を保持した状態で、前記支持板を前記支持位置に配置することにより、前記生地の保持部位よりも下側を支持し、
前記移動機構は、前記ピックアップ機構および前記支持板により前記生地を支持した前記ハンド部を載置面の上方で移動させ、持ち上げた前記生地を前記載置面上に折り重ねる、
請求項1に記載の生地折り装置。
【請求項3】
前記支持機構は、前記生地が折り重ねられた後、前記支持板を前記退避位置から前記支持位置へ移動させて前記生地と載置面との間に前記支持板を配置し、
前記移動機構は、折り重ねられた前記生地を前記支持板により下方から支持した状態の前記ハンド部を、搬送先へ移動させる、
請求項1に記載の生地折り装置。
【請求項4】
前記支持板は、前記支持位置側の先端部の上面に、下り傾斜となる傾斜面を有する、
請求項3に記載の生地折り装置。
【請求項5】
前記移動機構は、前記生地の一端側を保持した前記ハンド部を、前記一方向に沿った往復移動と上下方向の移動との組み合わせで移動させることにより、載置面上に載置された前記生地の他端部上に、前記生地をジグザグに折り重ねる、
請求項1から4のいずれか1項に記載の生地折り装置。
【請求項6】
前記移動機構は、前記生地をジグザグに折り重ねる際に、前記載置面の上方の開始位置から、直線移動の組み合わせからなるジグザグ軌道により前記ハンド部を移動させる、
請求項5に記載の生地折り装置。
【請求項7】
前記ハンド部は、前記開始位置からのジグザグ移動中、前記ピックアップ機構および前記支持機構を停止させる、
請求項6に記載の生地折り装置。
【請求項8】
前記移動機構は、多関節型ロボットアームを含む、
請求項1から4のいずれか1項に記載の生地折り装置。
【請求項9】
載置面上の生地をハンド部のピックアップ機構により保持するステップと、
前記ピックアップ機構の下方の支持位置に前記ハンド部の支持板を移動させて前記生地を支持するステップと、
前記ハンド部を上下方向と、水平方向の少なくとも一方向とに沿って移動させ、前記ハンド部に保持した前記生地を前記載置面上に折り重ねるステップと、を備える、
生地折り方法。
発明の詳細な説明
【技術分野】
【0001】
本発明は、生地折り装置、及び生地折り方法に関する。
続きを表示(約 1,400 文字)
【背景技術】
【0002】
衣料製品の製造では、裁断機によって布生地を裁断して布部品を作製し、各種の布部品を一つずつピックアップして、一つの製品に必要な布部品群にまとめて縫製作業場所へ搬送し、ミシン等で各布部品を縫着する。特許文献1では、水平面内に移動する裁断ヘッドによって、裁断テーブル上の布生地を布部品毎に裁断する裁断機が開示されている。
【先行技術文献】
【特許文献】
【0003】
特開2019-118988号公報
【発明の概要】
【発明が解決しようとする課題】
【0004】
裁断された個々の布部品をピックアップして、それぞれ搬送に適した形態にまとめる作業は煩雑である。そのため、縫製前の布部品をピックアップする作業の一部または全部を自動化することが望まれている。しかし、布部品は大きさや形状が様々であり、柔軟で容易に変形するため、機械による取り扱いが困難であった。
【0005】
本発明の態様は、縫製前の布部品をピックアップして搬送に適した形態にまとめることが可能な生地折り装置及び生地折り方法を提供することを目的とする。
【課題を解決するための手段】
【0006】
本発明の第1の態様に従えば、生地の一部を巻き付けて保持するピックアップ機構と、前記ピックアップ機構の下方の支持位置と前記支持位置から離れた退避位置とに支持板を進退移動させる支持機構と、を含むハンド部と、前記ハンド部を上下方向と、水平方向の少なくとも一方向とに沿って移動させ、前記ハンド部に保持した前記生地を折り重ねる移動機構と、を備える、生地折り装置が提供される。
【0007】
本発明の第2の態様に従えば、載置面上の生地をハンド部のピックアップ機構により保持するステップと、前記ピックアップ機構の下方の支持位置に前記ハンド部の支持板を移動させて前記生地を支持するステップと、前記ハンド部を上下方向と、水平方向の少なくとも一方向とに沿って移動させ、前記ハンド部に保持した前記生地を前記載置面上に折り重ねるステップと、を備える、生地折り方法が提供される。
【発明の効果】
【0008】
本発明の態様によれば、縫製前の布部品をピックアップして搬送に適した形態にまとめることができる。
【図面の簡単な説明】
【0009】
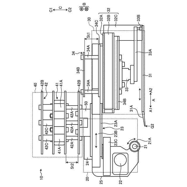
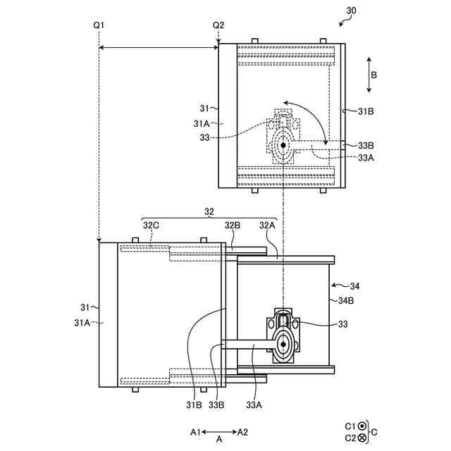
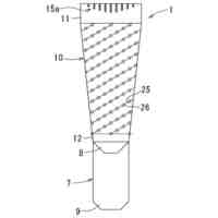
図1は、本実施形態に係る生地折り装置を模式的に示す図である。
図2は、生地折り装置の制御に関わる構成を示すブロック図である。
図3は、ハンド部の構成を模式的に示す側面図である。
図4は、支持板の支持位置と退避位置との移動を説明するための支持機構の下面図である。
図5は、生地折り装置による折り重ね前と折り重ね後の生地の模式図である。
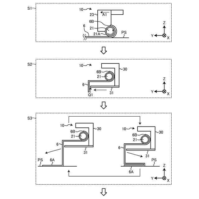
図6は、本実施形態に係る生地折り方法を説明するための第1の図である。
図7は、本実施形態に係る生地折り方法を説明するための第2の図である。
図8は、生地の折り重ねにおけるハンド部の軌道例を示す図である。
【発明を実施するための形態】
【0010】
以下、本発明に係る実施形態について図面を参照しながら説明するが、本発明はこれに限定されない。以下で説明する実施形態の構成要素は、適宜組み合わせることができる。また、一部の構成要素を用いない場合もある。
(【0011】以降は省略されています)
特許ウォッチbot のツイートを見る
この特許をJ-PlatPat(特許庁公式サイト)で参照する
関連特許
JUKI株式会社
ミシン
5日前
JUKI株式会社
3次元計測装置、部品実装装置、及び3次元計測方法
1日前
東レ株式会社
防護服
8日前
株式会社聖
手足保護具
1日前
東洋紡株式会社
マスク
14日前
個人
内フィルムマスク
16日前
株式会社マルイチ
二部式帯
8日前
株式会社TAT
被服
1日前
岡本株式会社
脚装着具
5日前
コーマ株式会社
着圧調整被服
6日前
大王製紙株式会社
マスク
5日前
株式会社クロス
衣服用の冷却装置
13日前
株式会社サンエス
衣服
6日前
株式会社アシックス
運動用タイツ
1日前
株式会社ワコール
下半身用衣類
6日前
原田産業株式会社
作業用衣服
13日前
株式会社ワコール
カップ部を有する衣類
7日前
ユニ・チャーム株式会社
衣類
15日前
株式会社 Lucky SKY
男性用ワンピース
16日前
ユニ・チャーム株式会社
下衣
15日前
株式会社ブレイン
冷却衣服
1日前
美津濃株式会社
ハーネス用上衣
5日前
3minkimono株式会社
着物体験提供方法及び二部式着物
16日前
個人
シームレスグローブ
16日前
グローブライド株式会社
浮力材及び浮力服
5日前
株式会社TAT
冷却具
14日前
株式会社BURAN
貼り付け下着
6日前
株式会社九電工
ファン付き作業着用雨合羽
14日前
株式会社ナカヒロ
ペルチェ冷却ユニットを装着可能なライナーおよびそれを備えた衣服
6日前
花王株式会社
マスク
15日前
株式会社 Lucky SKY
男性用ワンピース
16日前
株式会社 Lucky SKY
男性用ワンピース
16日前
株式会社アールエスタイチ
プロテクタ及びプロテクタの製造方法
13日前
株式会社カタログハウス
繊維、生地、装着品、及び繊維の製造方法
1日前
株式会社セフト研究所
ファン付きウェアのウェア本体及びファン付きウェア
15日前
シュネーデル、エレクトリック、インダストリーズ、エスアーエス
電気回路ブレーカ用の制御ユニットおよび関連する電気回路ブレーカ
1日前
他の特許を見る