TOP
|
特許
|
意匠
|
商標
特許ウォッチ
Twitter
他の特許を見る
公開番号
2025148205
公報種別
公開特許公報(A)
公開日
2025-10-07
出願番号
2024063650
出願日
2024-03-25
発明の名称
二部式帯
出願人
株式会社マルイチ
代理人
主分類
A41F
19/00 20060101AFI20250930BHJP(衣類)
要約
【課題】誰でも簡単な作業で、早く美しく着用できる、帯揚げ・帯締め付の二部式帯を提案する。
【解決手段】帯を2つに切断して、胴帯部と結び部の二部式帯を形成する。胴帯部の前面上辺に帯揚げと、中央部に帯締めを取り付け、端には面ファスナーを取り付ける。さらに、上に重なる側の端の下辺が、長くなるように斜めにする。結び部は、適度な大きさのたれを形成した飾り結びにし、差し込み具と、伸縮性のある面ファスナー付きの紐を取り付ける。
【選択図】図1
特許請求の範囲
【請求項1】
胴帯部と結び部で形成される二部式帯で、胴帯部の前面上辺に帯揚げと、表側中央部に帯締めとが、見栄え良く取り付けてあることを特徴とする二部式帯。
続きを表示(約 310 文字)
【請求項2】
前記胴帯部の前面裏側に、帯板兼帯揚げの型となる、適度な硬さのプレートが取り付けてあることを特徴とする請求項1に記載の二部式帯。
【請求項3】
前記胴帯部の端には、面ファスナーが上下2段に取り付けてあり、更に面ファスナーを浅く留めた時に、下段の面ファスナー部分を隠すことができるように、上に重なる側の端の下辺が、長く斜めになっていることを特徴とする請求項1又は2に記載の二部式帯。
【請求項4】
前記結び部は、帯巾の半分強の大きさのたれを形成した飾り結びで、差し込み具と、伸縮性のある面ファスナー付きの紐が取り付けてあることを特徴とする請求項1から3に記載の二部式帯。
発明の詳細な説明
【技術分野】
【0001】
本発明は和装用の帯で、胴帯部と結び部に分離されている二部式帯に関する。
続きを表示(約 1,600 文字)
【背景技術】
【0002】
和装で帯を容易に脱着できるように、胴帯部と結び部とに分かれた二部式帯のほとんどは、着物の上から胴帯部を巻き留め、結び部に備えた差し込み具を背中に差し込む。その後通常の帯同様に帯揚げや帯締めを着用することにより、帯本体から結び部がずれたり、落ちたりすることを防止する。また、下記特許文献1に開示されるように、見栄えの良い帯姿のために帯揚げや帯締めを着用する。さらに、下記特許文献に2開示されるように、文庫などの飾り結びでは、胴帯部に生じる合わせ目を覆うように、たれを大きく形成している。
【先行技術文献】
【特許文献】
【0003】
特許第4091651号公報(段落番号0007)
特開2000-328334号公報(段落番号0008、0009)
【発明の概要】
【発明が解決しようとする課題】
【0004】
上記従来の二部式帯は、帯を着用後に帯揚げと帯締めを締める必要があり、不慣れな方が、見栄え良く帯揚げや帯締めを着用するのは、容易ではないという問題があった。また、たれを大きく形成するためには、長い帯が必要だという問題もあった。
【0005】
本発明は前述の課題に鑑みてなされたもので、誰でも簡単に、帯揚げや帯締めも、見栄えの良い状態の帯姿となる二部式帯を提供することを目的とする。
【課題を達成するための手段】
【0006】
この目的を達成するため本発明の二部式帯は
(1)胴帯部と結び部から形成される二部式帯である。胴帯部の前面上辺に帯揚げ、中央に帯締め、端には面ファスナーが取り付けてある。さらに、上に重なる側は下辺が長く斜めになっており、着用者の胴囲に合わせて、面ファスナーを浅く留めても、下段の面ファスナーを隠すことができる。
(2)上記胴帯部の裏側には、帯板兼帯揚げの型が取り付けてある。この型は適度な硬さであるため、着用中違和感もなく、しかも帯揚げが崩れない。
(3)結び部は、帯巾の半分強の大きさのたれを形成した飾り結びで、胴帯部の合わせ目の大半を隠すことができる。また、着用者の胴囲に合わせて面ファスナーを浅く留めても、上段の面ファスナーを隠すことができる。さらに、差し込み具と伸縮性のある面ファスナー付きの紐が取り付けてある。
(4)着用者は胴帯部を腰に巻き面ファスナーを留め、その後結び部の差し込み具を、背中央で胴帯部に入れ紐を前で留める。その紐を胴帯部の前面内側に入れ込むことにより、帯本体から結び部がずれたり落ちたりすることを防止する。
【発明の効果】
【0007】
本発明により上記のように着用すると、誰でも簡単に見栄えの良い帯姿となる。
【図面の簡単な説明】
【0008】
本実施形態の二部式帯の全体図である。
本実施形態の二部式帯の胴帯部を示す図である。
本実施形態の二部式帯の結び部を示す図である。
本実施形態の二部式帯の着用方法を説明した図である。
本実施形態の二部式帯の着用した状態を示した図である。
【発明を実施するための形態】
【】
以下、発明を実施するための形態を図に基づいて説明する。
【0009】
図1は本実施例の二部式帯を示す図である。
【00010】
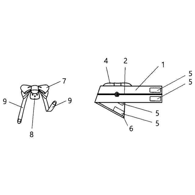
図2は本実施例の二部式帯の胴帯部1で、前面の表側中央に帯締め2が取り付けてある。その裏側前面に帯板兼帯揚げの型3が取り付けてあり、その型に帯揚げ4が取り付けてある。端には面ファスナー5が取り付けてあり、さらに、上に重なる側の端の下が長く斜めになっている事6を示す図である。
(【0011】以降は省略されています)
この特許をJ-PlatPat(特許庁公式サイト)で参照する
関連特許
株式会社マルイチ
二部式帯
4日前
株式会社マルイチ
2部式着物
16日前
個人
和服
5か月前
個人
衿芯
3か月前
個人
シャツ
1か月前
個人
二部式袍
8か月前
個人
ネクタイ
1か月前
個人
衣装
6か月前
個人
下着
4か月前
個人
靴下
9か月前
個人
マスク装着具
11か月前
個人
多機能装身具
1か月前
個人
簡単帯
9か月前
個人
マスク
1か月前
個人
手首穴付き手袋
10か月前
個人
肩章付き衣服。
4か月前
個人
健康靴下
10か月前
個人
シャツ改造方法
6か月前
個人
ボクサーパンツ
10か月前
東レ株式会社
防護服
4日前
個人
作業補助ミトン
8か月前
個人
ショーツ
9か月前
個人
:マスクカバー
1か月前
個人
足首用サポーター
7か月前
有限会社原電業
指手袋
10か月前
個人
車椅子用グローブ
2か月前
個人
手袋
6か月前
株式会社聖
手足保護具
9か月前
個人
内フィルムマスク
12日前
東洋紡株式会社
マスク
10日前
個人
ソフトキャミブラ
5か月前
個人
靴下
11か月前
個人
レインコート
5か月前
株式会社マルイチ
二部式帯
4日前
個人
被介護者用上衣
3か月前
グンゼ株式会社
衣服
5か月前
続きを見る
他の特許を見る