TOP
|
特許
|
意匠
|
商標
特許ウォッチ
Twitter
他の特許を見る
10個以上の画像は省略されています。
公開番号
2025042023
公報種別
公開特許公報(A)
公開日
2025-03-27
出願番号
2023148216
出願日
2023-09-13
発明の名称
遊技機
出願人
株式会社三共
代理人
主分類
A63F
7/02 20060101AFI20250318BHJP(スポーツ;ゲーム;娯楽)
要約
【課題】より効果的にオブジェクトを目立たせること。
【解決手段】表示手段(画像表示装置5)と、演出状況に応じて表示手段にオブジェクト(飾り図柄、セリフ画像、リーチタイトル画像、第2右打ち表示MH2など)を含む複数種類の画像を表示させることが可能な演出制御手段(演出制御用CPU120)と、を備え、表示手段は、所定の演出状況(図柄揃い演出、第1セリフ予告演出、強スーパーリーチタイトル演出、大当り遊技状態など)において該所定の演出状況に対応したオブジェクトを表示可能であるとともに該オブジェクトに対応したエフェクトを表示可能である。
【選択図】図9-1
特許請求の範囲
【請求項1】
可変表示を行い、遊技者にとって有利な有利状態に制御可能な遊技機であって、
表示手段と、
第1始動条件または第2始動条件の成立に基づいて可変表示を開始する遊技制御手段と、
演出状況に応じて、前記表示手段にオブジェクトを含む複数種類の画像を表示させることが可能な演出制御手段と、を備え、
前記遊技制御手段は、前記第2始動条件の成立に基づいて開始した可変表示の終了後に第1有利状態または第2有利状態に制御可能であり、
前記演出制御手段は、可変表示が行われていない期間においてデモンストレーション演出を実行可能であり、
前記表示手段は、
前記第1有利状態において、複数のオブジェクトと該複数のオブジェクトの各々に対応したエフェクトを表示可能であり、
前記第2有利状態において、複数のオブジェクトと該複数のオブジェクトの各々に対応したエフェクトを表示可能であり、
前記デモンストレーション演出の実行期間において、複数のオブジェクトと該複数のオブジェクトの各々に対応したエフェクトを表示可能であり、
前記表示手段が前記第1有利状態の制御期間において表示可能なエフェクトの種類数は、該表示手段が前記デモンストレーション演出の実行期間において表示可能なエフェクトの種類数よりも多く、
前記表示手段が前記第2有利状態の制御期間において表示可能なエフェクトの種類数は、該表示手段が前記デモンストレーション演出の実行期間において表示可能なエフェクトの種類数よりも多く、
さらに、
有利状態に制御可能であり、
遊技に用いられる遊技価値と付与される遊技価値との差分に関するカウンタ値を算出可能であり、
カウンタ値が作動値になる場合、遊技の進行を制限し、
カウンタ値が事前報知値となる場合、事前報知を行い、
可変表示に対応する特定表示を表示可能な表示手段を備え、
始動領域を遊技媒体が通過することにより、特定表示を移動開始位置から当該変動対応位置に移動させる表示を行い、
始動領域を遊技媒体が通過することにより、カウンタ値を更新し、
始動領域を遊技媒体が通過することにより、カウンタ値が作動値となる場合、特定表示を移動開始位置に表示させることなく、遊技の進行を制限する、遊技機。
発明の詳細な説明
【技術分野】
【0001】
本発明は、演出表示を表示可能な表示手段を備える遊技機に関する。
続きを表示(約 6,400 文字)
【背景技術】
【0002】
従来の遊技機として、大当りの確定時に標示物として「BONUS確定」オブジェクトを表示するとともに、該「BONUS確定」オブジェクト上にエフェクトを付与することで、「BONUS確定」オブジェクトを目立たせるようにしたものがある(例えば、特許文献1参照)。また、遊技機として、当落に関する確率の偏りによって過度な出玉が遊技者に付与されてしまうことによる所謂「のめり込み」等の問題を防ぐために、出玉が一定量に達した場合に、遊技の継続を不能とする打ち止め機能を備えたものがある(例えば、特許文献2参照)。
【先行技術文献】
【特許文献】
【0003】
特開2019-76384号公報
特開2023-13195号公報
【発明の概要】
【発明が解決しようとする課題】
【0004】
特許文献1および特許文献2の機能や構成を有する遊技機において、商品性を高める余地があった。
【0005】
この発明は、上記の実状に鑑みてなされたものであり、商品性を高めた遊技機を提供することを目的とする。
【課題を解決するための手段】
【0006】
本発明の請求項1に記載の遊技機は、
可変表示を行い、遊技者にとって有利な有利状態に制御可能な遊技機であって、
表示手段と、
第1始動条件または第2始動条件の成立に基づいて可変表示を開始する遊技制御手段と、
演出状況に応じて、前記表示手段にオブジェクトを含む複数種類の画像を表示させることが可能な演出制御手段と、を備え、
前記遊技制御手段は、前記第2始動条件の成立に基づいて開始した可変表示の終了後に第1有利状態または第2有利状態に制御可能であり、
前記演出制御手段は、可変表示が行われていない期間においてデモンストレーション演出を実行可能であり、
前記表示手段は、
前記第1有利状態において、複数のオブジェクトと該複数のオブジェクトの各々に対応したエフェクトを表示可能であり、
前記第2有利状態において、複数のオブジェクトと該複数のオブジェクトの各々に対応したエフェクトを表示可能であり、
前記デモンストレーション演出の実行期間において、複数のオブジェクトと該複数のオブジェクトの各々に対応したエフェクトを表示可能であり、
前記表示手段が前記第1有利状態の制御期間において表示可能なエフェクトの種類数は、該表示手段が前記デモンストレーション演出の実行期間において表示可能なエフェクトの種類数よりも多く、
前記表示手段が前記第2有利状態の制御期間において表示可能なエフェクトの種類数は、該表示手段が前記デモンストレーション演出の実行期間において表示可能なエフェクトの種類数よりも多く、
さらに、
有利状態に制御可能であり、
遊技に用いられる遊技価値と付与される遊技価値との差分に関するカウンタ値を算出可能であり、
カウンタ値が作動値になる場合、遊技の進行を制限し、
カウンタ値が事前報知値となる場合、事前報知を行い、
可変表示に対応する特定表示を表示可能な表示手段を備え、
始動領域を遊技媒体が通過することにより、特定表示を移動開始位置から当該変動対応位置に移動させる表示を行い、
始動領域を遊技媒体が通過することにより、カウンタ値を更新し、
始動領域を遊技媒体が通過することにより、カウンタ値が作動値となる場合、特定表示を移動開始位置に表示させることなく、遊技の進行を制限する。
この特徴によれば、上記実情を鑑み、商品性を高めた遊技機を提供することができる。
【0007】
尚、本発明は、本発明の請求項に記載された発明特定事項のみを有するものであってもよいし、本発明の請求項に記載された発明特定事項とともに該発明特定事項以外の構成を有するものであってもよい。
【図面の簡単な説明】
【0008】
パチンコ遊技機の正面図である。
パチンコ遊技機に搭載された各種の制御基板などを示す構成図である。
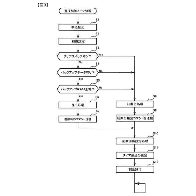
遊技制御メイン処理の一例を示すフローチャートである。
遊技制御用タイマ割込み処理の一例を示すフローチャートである。
特別図柄プロセス処理の一例を示すフローチャートである。
演出制御メイン処理の一例を示すフローチャートである。
演出制御プロセス処理の一例を示すフローチャートである。
特徴部02TMにおけるパチンコ遊技機1の正面図である。
各乱数を示す説明図である。
(A)は、表示結果判定テーブルを示す説明図であり、(B)は、大当り種別判定テーブルを示す説明図である。
大当り種別詳細情報テーブルを示す説明図である。
通常状態用の変動パターン判定テーブルを示す説明図である。
時短状態用の変動パターン判定テーブルを示す説明図である。
ST状態用の変動パターン判定テーブルを示す説明図である。
(A)は、操作方法指示演出一覧テーブルを示す説明図であり、(B)は、エラー報知演出一覧テーブルを示す説明図である。
異常操作方法指示演出決定処理の一例を示すフローチャートである。
(A)は、異常操作方法指示に関連する条件テーブルを示す説明図であり、(B)は、エラー報知に関連する条件テーブルを示す説明図である。
大当り開始時演出終了判定処理の一例を示すフローチャートである。
遊技フローの具体例を示す説明図である。
(A)は、レイヤ構造を模式的に示した概念図であり、(B)は、レイヤ構造の説明図である。
通常モードの異常左打ち指示に関する各演出の具体例を示す説明図である。
通常モードの異常左打ち指示(LV1)に関する各演出の実行タイミングを示すタイムチャートである。
通常モードの異常左打ち指示(LV2)に関する各演出の実行タイミングを示すタイムチャートである。
通常モードのエラー報知に関する各演出の具体例を示す説明図である。
通常モードのエラー報知に関する各演出の実行タイミングを示すタイムチャートである。
通常モードの異常左打ち指示と右打ちモードの大当りFF演出に関する各演出の具体例を示す説明図である。
通常モードの異常左打ち指示と右打ちモードの大当りFF演出に関する各演出の実行タイミングを示すタイムチャートである。
通常モードのエラー報知と右打ちモードの大当りFF演出に関する各演出の具体例を示す説明図である。
通常モードのエラー報知と右打ちモードの大当りFF演出に関する各演出の実行タイミングを示すタイムチャートである。
通常モードの異常左打ち指示とエラー報知と、右打ちモードの大当りFF演出に関する各演出の具体例を示す説明図である。
通常モードの異常左対指示とエラー報知と、右打ちモードの大当りFF演出に関する各演出の実行タイミングを示すタイムチャートである。
遊技機が設置されている遊技場の具体例を示す説明図である。
右打ちモードの異常右打ち指示に関する各演出の具体例を示す説明図である。
右打ちモードの異常右打ち指示に関する各演出の実行タイミングを示すタイムチャートである。
右打ちモードの大当りFF期間に異常左打ちを検出した場合に関する各演出の具体例を示す説明図である。
右打ちモードの大当りFF期間に異常左打ちを検出した場合に関する各演出の実行タイミングを示すタイムチャートである。
右打ちモードの大当りRD期間の異常右打ち指示に関する各演出の具体例を示す説明図である。
右打ちモードの大当りRD期間の異常右打ち指示に関する各演出の実行タイミングを示すタイムチャートである。
音量調整演出決定処理の一例を示すフローチャートである。
音量調整に関する各演出の具体例を示す説明図である。
音量調整に関する各演出の実行タイミングを示すタイムチャートである。
光量調整演出決定処理の一例を示すフローチャートである。
光量調整に関する各演出の具体例を示す説明図である。
光量調整に関する各演出の実行タイミングを示すタイムチャートである。
通常モードの音量調整と右打ちモードの大当りFF演出に関する各演出の具体例を示す説明図である。
通常モードの音量調整と右打ちモードの大当りFF演出に関する各演出の実行タイミングを示すタイムチャートである。
通常モードの光量調整と右打ちモードの大当りFF演出に関する各演出の具体例を示す説明図である。
通常モードの光量調整と右打ちモードの大当りFF演出に関する各演出の実行タイミングを示すタイムチャートである。
オートボタン設定演出決定処理の一例を示すフローチャートである。
オートボタンOFFモードに関する各演出の具体例を示す説明図である。
オートボタンONモードに関する各演出の具体例を示す説明図である。
通常モードのオートボタンOFF設定演出と右打ちモードの大当りFF演出に関する各演出の具体例を示す説明図である。
通常モードのオートボタンOFF設定演出と右打ちモードの大当りFF演出に関する各演出の実行タイミングを示すタイムチャートである。
通常モードのオートボタンON設定演出と右打ちモードの大当りFF演出に関する各演出の具体例を示す説明図である。
通常モードのオートボタンONO設定演出と右打ちモードの大当りFF演出に関する各演出の実行タイミングを示すタイムチャートである。
音量調整表示、光量調整表示、オートボタン設定表示が同時に表示される場合に関する各演出の具体例を示す説明図である。
音量調整表示、光量調整表示、オートボタン設定表示が同時に表示される場合に関する各演出の具体例を示す説明図である。
音量調整表示、光量調整表示、オートボタン設定表示が同時に表示される場合に関する各演出の実行タイミングを示すタイムチャートである。
大当りA及び大当りBに対応する大当りFF演出(第1部)に関する各演出の具体例を示す説明図である。
大当りCに対応する大当りFF演出(第1部)に関する各演出の具体例を示す説明図である。
(A)は、大当りA及び大当りBに対応する大当りFF演出に関する各演出の具体例を示す説明図であり、(B)は、大当りCに対応する大当りFF演出に関する各演出の具体例を示す説明図である。
大当りA及び大当りBに対応する大当りFF演出に関する各演出の実行タイミングを示すタイムチャートである。
大当りCに対応する大当りFF演出に関する各演出の実行タイミングを示すタイムチャートである。
(A)は、右打ちモードの大当りA及び大当りBに対応した大当りFF演出中のエラー報知に関する各演出の具体例を示す説明図であり、(B)は、右打ちモードの大当りCに対応した大当りFF演出中のエラー報知に関する各演出の具体例を示す説明図である。
右打ちモードの大当りA及び大当りBに対応した大当りFF演出中のエラー報知に関する各演出の実行タイミングを示すタイムチャートである。
右打ちモードの大当りCに対応した大当りFF演出中のエラー報知に関する各演出の実行タイミングを示すタイムチャートである。
(A)は、大当りAに対応した大当りED演出に関する各演出の具体例を示す説明図であり、(B)は、大当りBに対応した大当りED演出に関する各演出の具体例を示す説明図である。
大当りAに対応した大当りED演出に関する各演出の実行タイミングを示すタイムチャートである。
大当りBに対応した大当りED演出に関する各演出の実行タイミングを示すタイムチャートである。
大当りCに対応した大当りED演出に関する各演出の具体例を示す説明図である。
大当りCに対応した大当りED演出に関する各演出の実行タイミングを示すタイムチャートである。
右打ちモードの大当りED演出中のエラー報知に関する各演出の具体例を示す説明図である。
右打ちモードの大当りED演出中のエラー報知に関する各演出の実行タイミングを示すタイムチャートである。
獲得賞球更新演出に関する各演出の具体例を示す説明図である。
獲得賞球更新演出に関する各演出の実行タイミングを示すタイムチャートである。
役物と画像表示装置の正面図である。
(A)役物を備えた遊技機における大当りFF演出(第1部)中のエラー報知に関する各演出の具体例を示す説明図であり、役物を備えた遊技機における大当りFF演出(第2部)中のエラー報知に関する各演出の具体例を示す説明図である。
時短モードに移行した後に通常モードに制御される場合に関する各演出の具体例を示す説明図である。
時短モードに移行した後に通常モードに制御される場合に関する各演出の実行タイミングを示すタイムチャートである。
STモードに移行した後に通常モードに制御される場合に関する各演出の具体例を示す説明図である。
STモードに移行した後に通常モードに制御される場合に関する各演出の実行タイミングを示すタイムチャートである。
通常モードのエラー報知と右打ちモードの大当りFF演出に関する各演出の具体例を示す説明図である。
通常モードの異常左打ち指示とエラー報知と、右打ちモードの大当りFF演出に関する各演出の具体例を示す説明図である。
右打ちモードの大当りRD期間の異常右打ち指示に関する各演出の具体例を示す説明図である。
パチンコ遊技機の正面図である。
パチンコ遊技機に搭載された各種の制御基板などを示す構成図である。
VRAMの内容を示す説明図である
各描画領域の説明図である。
表示優先度の説明図である。
(A)、(B)は、演出制御コマンドを例示する図である。
各乱数を示す説明図である。
表示結果判定テーブルを示す説明図である。
(A)は大当り種別判定テーブルを示す説明図であり、(B)は大当り種別の説明図である。
はずれ変動パターンの説明図である。
大当り変動パターンの説明図である。
変動パターン種別判定テーブルを示す説明図である。
はずれ用変動パターン判定テーブルの説明図である。
はずれ用変動パターン判定テーブルの説明図である。
大当り用変動パターン判定テーブルの説明図である。
遊技制御用データ保持エリアの説明図である。
【発明を実施するための形態】
【0009】
本遊技機の特徴Aを以下に説明する。
【0010】
(基本説明)
まず、パチンコ遊技機1の基本的な構成及び制御(一般的なパチンコ遊技機の構成及び制御でもある。)について説明する。
(【0011】以降は省略されています)
この特許をJ-PlatPat(特許庁公式サイト)で参照する
関連特許
株式会社三共
遊技機
3か月前
株式会社三共
遊技機
1か月前
株式会社三共
遊技機
28日前
株式会社三共
遊技機
28日前
株式会社三共
遊技機
1か月前
株式会社三共
遊技機
1か月前
株式会社三共
遊技機
1か月前
株式会社三共
遊技機
1か月前
株式会社三共
遊技機
1か月前
株式会社三共
遊技機
28日前
株式会社三共
遊技機
1か月前
株式会社三共
遊技機
1か月前
株式会社三共
遊技機
1か月前
株式会社三共
遊技機
1か月前
株式会社三共
遊技機
1か月前
株式会社三共
遊技機
1か月前
株式会社三共
遊技機
28日前
株式会社三共
遊技機
28日前
株式会社三共
遊技機
1か月前
株式会社三共
遊技機
28日前
株式会社三共
遊技機
16日前
株式会社三共
遊技機
16日前
株式会社三共
遊技機
16日前
株式会社三共
遊技機
16日前
株式会社三共
遊技機
27日前
株式会社三共
遊技機
28日前
株式会社三共
遊技機
28日前
株式会社三共
遊技機
28日前
株式会社三共
遊技機
28日前
株式会社三共
遊技機
28日前
株式会社三共
遊技機
28日前
株式会社三共
遊技機
28日前
株式会社三共
遊技機
28日前
株式会社三共
遊技機
28日前
株式会社三共
遊技機
28日前
株式会社三共
遊技機
1か月前
続きを見る
他の特許を見る