TOP
|
特許
|
意匠
|
商標
特許ウォッチ
Twitter
他の特許を見る
公開番号
2025063507
公報種別
公開特許公報(A)
公開日
2025-04-16
出願番号
2023172776
出願日
2023-10-04
発明の名称
足関節底背屈トレーニング器具
出願人
美津濃株式会社
,
公立大学法人大阪
代理人
弁理士法人深見特許事務所
主分類
A63B
23/08 20060101AFI20250409BHJP(スポーツ;ゲーム;娯楽)
要約
【課題】十分な背屈角度まで踵を下ろすことにより広い可動域で運動を行なうことができ、かつ運動負荷を小さくすることにより高速度で底屈運動を行なうことができる足関節底背屈トレーニング器具を提供する。
【解決手段】足関節底背屈トレーニング器具100は、本体部10と、ペダル部20とを備えている。本体部10は、台座部11と、底部12と、付勢部14と、回転支持部15とを含んでいる。ペダル部20は、基端部21と、中央部22と、先端部23とを含んでいる。ベダル部20は、回転軸15bを中心に回転した状態で、台座部11と底部12とが対向する対向方向において、先端部23を台座部11に対して底部12側に位置させるように構成されている。付勢部14は、対向方向において、ペダル部20を底部12に対して台座部11側に付勢するように構成されている。
【選択図】図5
特許請求の範囲
【請求項1】
本体部と、
前記本体部に接続されたペダル部とを備え、
前記本体部は、台座部と、前記台座部と対向する底部と、前記ペダル部を付勢するように構成された付勢部と、前記ペダル部を回転可能に支持するように構成された回転支持部とを含み、
前記回転支持部は、軸受部と、前記軸受部に回転可能に支持された回転軸とを含み、
前記ペダル部は、前記回転軸に支持された基端部と、前記基端部に接続された中央部と、前記中央部に対して前記基端部と反対側に配置された先端部とを含み、かつ前記回転軸を中心に回転した状態で、前記台座部と前記底部とが対向する対向方向において、前記先端部を前記台座部に対して前記底部側に位置させるように構成されており、
前記付勢部は、前記台座部と前記底部とが対向する前記対向方向において、前記ペダル部を前記底部に対して前記台座部側に付勢するように構成されている、足関節底背屈トレーニング器具。
続きを表示(約 1,000 文字)
【請求項2】
前記付勢部は、ねじりバネと、前記ねじりバネを支持するように構成された軸とを含み、
前記ねじりバネは、巻回部と、前記巻回部の径方向の外方に延在するように構成された延在部とを含み、
前記ねじりバネは、前記軸が前記ねじりバネの前記巻回部に挿通された状態で、前記延在部が前記ペダル部を付勢するように構成されている、請求項1に記載の足関節底背屈トレーニング器具。
【請求項3】
前記軸は、前記台座部と前記底部とが対向する前記対向方向において、前記回転軸と前記底部との間に配置されている、請求項2に記載の足関節底背屈トレーニング器具。
【請求項4】
前記巻回部は、第1巻回部分と、前記軸の軸方向に前記第1巻回部分と並んで配置された第2巻回部分とを含み、
前記延在部は、前記第1巻回部分に接続された第1延在部分と、前記第2巻回部分に接続された第2延在部分とを含み、
前記ねじりバネは、前記第1巻回部分と前記第2巻回部分とを連結するように構成された連結部とを含み、
前記第1延在部分は、前記軸方向において前記第1巻回部分に対して前記連結部と反対側に配置されており、
前記第2延在部分は、前記軸方向において前記第2巻回部分に対して前記連結部と反対側に配置されている、請求項2に記載の足関節底背屈トレーニング器具。
【請求項5】
前記付勢部は、前記連結部を支持するように構成された支持部を含み、
前記支持部は、雄ねじ部と、前記雄ねじ部と螺号するように構成された雌ねじ部と、前記雄ねじ部を支持するように構成された基台とを有し、
前記付勢部は、前記雌ねじ部が前記連結部に接した状態で、前記雌ねじ部が前記基台に支持された前記雄ねじ部に対して移動することにより、前記ねじりバネの付勢力を変化可能に構成されている、請求項4に記載の足関節底背屈トレーニング器具。
【請求項6】
前記付勢部は、前記連結部を支持するように構成されたシリンダー部を含み、
前記シリンダー部は、前記連結部を付勢するように構成されており、
前記付勢部は、前記シリンダー部が前記連結部を付勢することにより、前記ねじりバネの付勢力を変化可能に構成されている、請求項4に記載の足関節底背屈トレーニング器具。
発明の詳細な説明
【技術分野】
【0001】
本発明は、足関節底背屈トレーニング器具に関するものである。
続きを表示(約 2,000 文字)
【背景技術】
【0002】
足関節底屈機能は、歩行、走行、跳躍などの様々な運動パフォーマンスに関連する重要な下肢機能である。歩行中の足関節底屈による蹴り出しが前方への推進力生成に寄与する。足関節底屈機能としては、底屈筋力に加えて底屈運動速度も重要な要因である。底屈運動速度は、無負荷でできるだけ素早い底屈運動を行った際の関節角速度である。底屈運動速度は、運動パフォーマンスに対して底屈筋力以上に重要な機能である可能性がある。
【0003】
底屈運動速度の向上には、広い可動域での運動および高速度での底屈運動が必要である。カーフレイズ(踵挙上運動)は、代表的な底屈筋力トレーニングである。広い可動域および高速度のカーフレイズによって、足関節底屈機能(筋力および運動速度)の向上が可能である。そして、足関節底屈機能の向上に伴う運動パフォーマンスの向上が期待できる。一般的なカーフレイズは、平坦な床面に立った状態で、踵を高く上げてから下ろすことを繰り返す運動である。段差を利用したカーフレイズは、段差のある所に踵を出すように立ち、踵をできるだけ下に下げてから高く上げることを繰り返す運動である。
【0004】
例えば、実用新案登録第3230391号公報(特許文献1)には、爪先立ちを行なう際に踵の下から圧縮コイルばねで踵を押し上げて、爪先立ち運動を促通するように工夫した爪先立ち促通運動器が記載されている。具体的には、基盤上に圧縮コイルバネを介して足底面設置板が設けられている。
【先行技術文献】
【特許文献】
【0005】
実用新案登録第3230391号公報
【発明の概要】
【発明が解決しようとする課題】
【0006】
一般的なカーフレイズでは、平坦な床面に立った状態で踵が下ろされるため、十分な背屈角度まで踵を下ろすことは難しい。したがって、広い可動域での運動は難しい。段差を利用したカーフレイズでは、運動負荷が大きいため、高速度での底屈運動は難しい。上記公報に記載された促通運動器では、基盤上に圧縮コイルバネを介して足底面設置板が設けられているため、十分な背屈角度まで踵を下ろすことは難しい。したがって、広い可動域での運動は難しい。
【0007】
本発明は、上記課題に鑑みてなされたものであり、その目的は、十分な背屈角度まで踵を下ろすことにより広い可動域で運動を行なうことができ、かつ運動負荷を小さくすることにより高速度で底屈運動を行なうことができる足関節底背屈トレーニング器具を提供することである。
【課題を解決するための手段】
【0008】
本発明の足関節底背屈トレーニング器具は、本体部と、本体部に接続されたペダル部とを備えている。本体部は、台座部と、台座部と対向する底部と、ペダル部を付勢するように構成された付勢部と、ペダル部を回転可能に支持するように構成された回転支持部とを含んでいる。回転支持部は、軸受部と、軸受部に回転可能に支持された回転軸とを含んでいる。ペダル部は、回転軸に支持された基端部と、基端部に接続された中央部と、中央部に対して基端部と反対側に配置された先端部とを含んでいる。ベダル部は、回転軸を中心に回転した状態で、台座部と底部とが対向する対向方向において、先端部を台座部に対して底部側に位置させるように構成されている。付勢部は、台座部と底部とが対向する対向方向において、ペダル部を底部に対して台座部側に付勢するように構成されている。
【発明の効果】
【0009】
本発明の足関節底背屈トレーニング器具によれば、十分な背屈角度まで踵を下ろすことにより広い可動域で底屈運動を行なうことができ、かつ運動負荷を小さくすることにより高速度で底屈運動を行なうことができる。
【図面の簡単な説明】
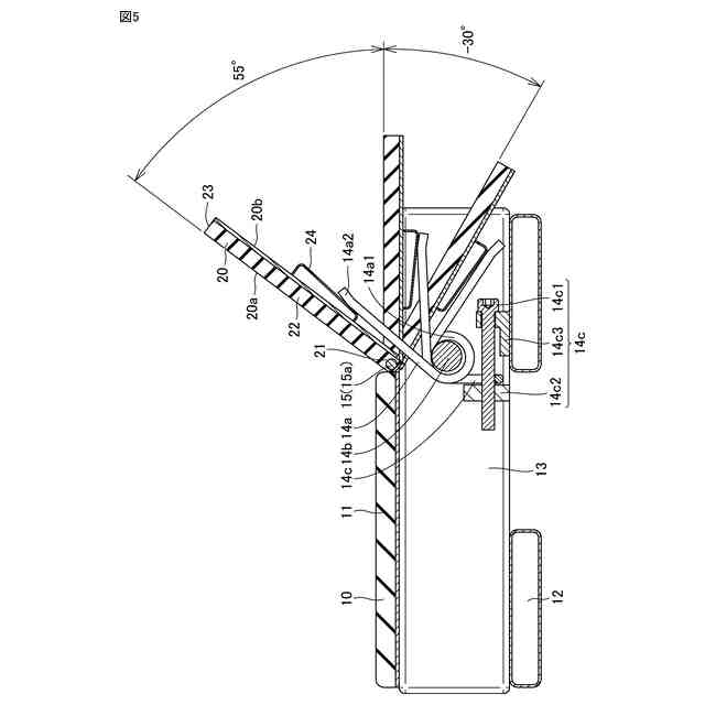
【0010】
実施の形態に係る足関節底背屈トレーニング器具の構成を概略的に示す斜視図である。
実施の形態に係る足関節底背屈トレーニング器具の構成を概略的に示す正面図である。
実施の形態に係る足関節底背屈トレーニング器具の構成を概略的に示す背面図である。
実施の形態に係る足関節底背屈トレーニング器具の構成を概略的に示す側面図である。
実施の形態に係る足関節底背屈トレーニング器具の構成を概略的に示す断面図である。
実施の形態に係る足関節底背屈トレーニング器具の変形例1の構成を概略的に示す断面図である。
実施の形態に係る足関節底背屈トレーニング器具の変形例2の構成を概略的に示す背面図である。
実施の形態に係る足関節底背屈トレーニング器具の変形例2の構成を概略的に示す側面図である。
【発明を実施するための形態】
(【0011】以降は省略されています)
この特許をJ-PlatPat(特許庁公式サイト)で参照する
関連特許
美津濃株式会社
腰サポーター
3日前
美津濃株式会社
ハーネス用上衣
1日前
美津濃株式会社
アイアンゴルフクラブヘッド
1日前
美津濃株式会社
ソール構造及びそれを備えるシューズ
1日前
美津濃株式会社
ソール構造およびそれを備えたシューズ
1日前
美津濃株式会社
グリップテープユニットおよびグリップテープユニットの製造方法
1か月前
個人
玩具
3か月前
個人
玩具
29日前
個人
自走玩具
22日前
個人
ゲーム玩具
4か月前
個人
運動補助具
2か月前
個人
打撃練習用具
2日前
株式会社三共
遊技機
6か月前
株式会社三共
遊技機
2か月前
株式会社三共
遊技機
2か月前
株式会社三共
遊技機
2か月前
株式会社三共
遊技機
2か月前
個人
カードスタンド
6か月前
株式会社三共
遊技機
2か月前
株式会社三共
遊技機
2か月前
株式会社三共
遊技機
2か月前
株式会社三共
遊技機
2か月前
株式会社高尾
遊技機
7か月前
株式会社三共
遊技機
2か月前
株式会社三共
遊技機
2か月前
株式会社三共
遊技機
2か月前
株式会社三共
遊技機
2か月前
株式会社三共
遊技機
2か月前
株式会社三共
遊技機
2か月前
株式会社三共
遊技機
2か月前
株式会社三共
遊技機
2か月前
株式会社三共
遊技機
2か月前
株式会社三共
遊技機
2か月前
株式会社三共
遊技機
2か月前
株式会社三共
遊技機
2か月前
株式会社三共
遊技機
2か月前
続きを見る
他の特許を見る