TOP
|
特許
|
意匠
|
商標
特許ウォッチ
Twitter
他の特許を見る
公開番号
2025068833
公報種別
公開特許公報(A)
公開日
2025-04-30
出願番号
2023178865
出願日
2023-10-17
発明の名称
流体機械
出願人
株式会社アイシン
代理人
弁理士法人R&C
主分類
F03D
3/06 20060101AFI20250422BHJP(液体用機械または機関;風力原動機,ばね原動機,重力原動機;他類に属さない機械動力または反動推進力を発生するもの)
要約
【課題】流体のエネルギと回転体の回転エネルギとの変換効率を高め易い流体機械を提供する。
【解決手段】流体機械100は、支持体1と、第1軸心X1回りに支持体1に対して回転自在に支持された回転体2と、それぞれが第2軸心X2回りに回転体2に対して回転自在に支持された複数の羽根体3と、回転体2の第1軸心X1回りの回転と、羽根体3の第2軸心X2回りの回転とを連動させる連動機構4とを備えている。連動機構4は、支持体1に支持された反力要素41と、複数の羽根体3のそれぞれと一体的に回転する回転要素42と、複数の回転要素42のそれぞれと反力要素41とを駆動連結する連結要素43とを備え、回転体2の第1軸心X1回りの回転方向と、羽根体3の第2軸心X2回りの回転方向とが互いに逆方向になると共に、羽根体3の第2軸心X2回りの回転周期が回転体2の第1軸心X1回りの回転周期の2倍となるように構成されている。
【選択図】図1
特許請求の範囲
【請求項1】
支持体と、
第1軸心回りに前記支持体に対して回転自在となるように前記支持体に支持された回転体と、
それぞれが前記第1軸心に平行な第2軸心回りに前記回転体に対して回転自在となるように前記回転体に支持され、流体の圧力により回転する複数の羽根体と、を備えた流体機械であって、
前記回転体の前記第1軸心回りの回転と、複数の前記羽根体のそれぞれの前記回転体に対する前記第2軸心回りの回転とを連動させる連動機構を更に備え、
前記連動機構は、前記支持体に支持された反力要素と、複数の前記羽根体のそれぞれと一体的に回転する回転要素と、複数の前記回転要素のそれぞれと前記反力要素とを駆動連結する連結要素と、を備え、
前記連動機構は、前記回転体の前記第1軸心回りの回転方向と、複数の前記羽根体のそれぞれの前記第2軸心回りの回転方向とが互いに逆方向になると共に、複数の前記羽根体のそれぞれの前記第2軸心回りの回転周期が前記回転体の前記第1軸心回りの回転周期の2倍となるように構成されている、流体機械。
続きを表示(約 1,200 文字)
【請求項2】
前記第1軸心に平行な方向を軸方向とし、前記軸方向の一方側を軸方向第1側とし、前記軸方向の他方側を軸方向第2側として、
前記回転体は、第1壁部と、前記第1壁部に対して前記軸方向第2側に離間して配置された第2壁部と、前記第1壁部と前記第2壁部との前記軸方向の間に形成され、前記反力要素と複数の前記回転要素と複数の前記連結要素とを収容する収容室と、を備え、
前記支持体は、前記第1軸心に沿って前記収容室を前記軸方向に貫通するように配置され、
前記反力要素は、前記支持体における前記収容室の内部に配置された部分に支持され、
複数の前記回転要素のそれぞれは、前記第1壁部に対して回転自在に支持された第1被支持部と、前記第2壁部に対して回転自在に支持された第2被支持部と、を備え、
複数の前記連結要素のそれぞれは、前記収容室の内部において、複数の前記回転要素のうち対応するものと前記反力要素とを駆動連結している、請求項1に記載の流体機械。
【請求項3】
前記第1軸心に平行な方向を軸方向として、
前記反力要素は、前記軸方向に並んで配置された、複数の第1スプロケット又は複数の第1プーリを備え、
複数の前記回転要素のそれぞれは、複数の前記第1スプロケットのうち対応するものと対になる第2スプロケット、又は、複数の前記第1プーリのうち対応するものと対になる第2プーリを備え、
複数の前記連結要素のそれぞれは、対になる前記第1スプロケットと前記第2スプロケットとに巻き掛けられたチェーン、又は、対になる前記第1プーリと前記第2プーリとに巻き掛けられたベルトを備える、請求項1又は2に記載の流体機械。
【請求項4】
前記反力要素は、前記第1軸心上に配置された第1ベベルギヤを備え、
複数の前記回転要素のそれぞれは、前記第2軸心上に配置された第2ベベルギヤを備え、
複数の前記連結要素のそれぞれは、前記第1ベベルギヤに噛み合う第3ベベルギヤと、複数の前記第2ベベルギヤのうち対応するものに噛み合い、前記第3ベベルギヤと対になる第4ベベルギヤと、対になる前記第3ベベルギヤと前記第4ベベルギヤとを互いに一体的に回転させるように連結する連結シャフトと、を備える、請求項1又は2に記載の流体機械。
【請求項5】
前記反力要素は、前記第1軸心上に配置された第1ギヤを備え、
複数の前記回転要素のそれぞれは、前記第2軸心上に配置された第2ギヤを備え、
複数の前記連結要素のそれぞれは、複数の前記第2ギヤのうち対応するものと前記第1ギヤとの双方に噛み合う第3ギヤを備え、
前記第1軸心に平行な方向を軸方向として、前記第1ギヤと複数の前記第2ギヤと複数の前記第3ギヤとの前記軸方向の配置領域が互いに重複している、請求項1又は2に記載の流体機械。
発明の詳細な説明
【技術分野】
【0001】
本発明は、支持体と、第1軸心回りに支持体に対して回転自在となるように支持体に支持された回転体と、それぞれが第1軸心に平行な第2軸心回りに回転体に対して回転自在となるように回転体に支持され、流体の圧力により回転する複数の羽根体と、を備えた流体機械に関する。
続きを表示(約 1,600 文字)
【背景技術】
【0002】
このような流体機械の一例が、下記の特許文献1に開示されている。以下、背景技術の説明では、特許文献1における符号を括弧内に引用する。
【0003】
特許文献1の流体機械(1)では、複数の羽根体(400)のそれぞれは、所定の範囲内で揺動自在となるように、揺動装置(600)により揺動範囲が規制されている。こうして、複数の羽根体(400)のそれぞれは、回転体(700)の回転軸心回りの位相に応じて、流体を受け止める姿勢、又は、流体を受け流す姿勢となる。その結果、流体の流動方向によらず、回転体(700)を回転させることが可能となっている。
【先行技術文献】
【特許文献】
【0004】
特表2013-545019号公報
【発明の概要】
【発明が解決しようとする課題】
【0005】
特許文献1の流体機械(1)では、複数の羽根体(400)は、互いに独立して揺動すると共に、回転体(700)に対しても独立して揺動する。そのため、流体のエネルギと回転体(700)の回転エネルギとの変換効率が悪いという課題があった。
【0006】
そこで、流体のエネルギと回転体の回転エネルギとの変換効率を高め易い流体機械の実現が望まれる。
【課題を解決するための手段】
【0007】
上記に鑑みた、流体機械の特徴構成は、
支持体と、
第1軸心回りに前記支持体に対して回転自在となるように前記支持体に支持された回転体と、
それぞれが前記第1軸心に平行な第2軸心回りに前記回転体に対して回転自在となるように前記回転体に支持され、流体の圧力により回転する複数の羽根体と、を備えた流体機械であって、
前記回転体の前記第1軸心回りの回転と、複数の前記羽根体のそれぞれの前記回転体に対する前記第2軸心回りの回転とを連動させる連動機構を更に備え、
前記連動機構は、前記支持体に支持された反力要素と、複数の前記羽根体のそれぞれと一体的に回転する回転要素と、複数の前記回転要素のそれぞれと前記反力要素とを駆動連結する連結要素と、を備え、
前記連動機構は、前記回転体の前記第1軸心回りの回転方向と、複数の前記羽根体のそれぞれの前記第2軸心回りの回転方向とが互いに逆方向になると共に、複数の前記羽根体のそれぞれの前記第2軸心回りの回転周期が前記回転体の前記第1軸心回りの回転周期の2倍となるように構成されている点にある。
【0008】
この特徴構成によれば、回転体が第1軸心回りに1回転する間に、複数の羽根体のそれぞれが、回転体の回転方向とは逆方向に第2軸心回りに1/2回転するように、回転体の第1軸心回りの回転と、複数の羽根体のそれぞれの回転体に対する第2軸心回りの回転とが連動している。これにより、複数の羽根体のそれぞれの向きを、回転体の回転に応じた適切な向きにし易い。したがって、流体のエネルギと回転体の回転エネルギとの変換効率を高め易い。
【図面の簡単な説明】
【0009】
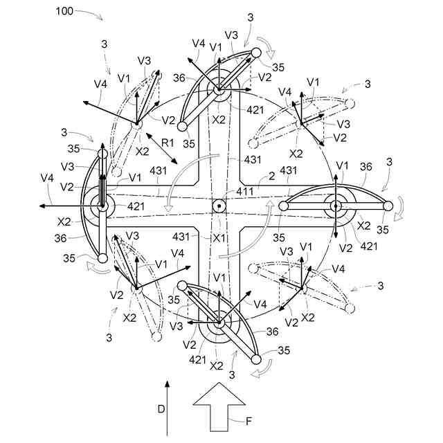
第1の実施形態に係る流体機械の主要部分を示す断面図
羽根体の公転位相及び自転位相の一例を示す図
第1の実施形態に係る流体機械が備える発電機、増速機、及び係合装置を示す断面図
位相変更装置による調整処理の一例を示す図
位相変更装置による調整処理の一例を示す図
第2の実施形態に係る流体機械の主要部分を示す断面図の一部拡大図
第3の実施形態に係る流体機械を備えた車両を示す図
図7におけるVIII-VIII断面図
【発明を実施するための形態】
【0010】
1.第1の実施形態
以下では、第1の実施形態に係る流体機械100について、図1から図5を参照して説明する。
(【0011】以降は省略されています)
この特許をJ-PlatPat(特許庁公式サイト)で参照する
関連特許
株式会社アイシン
歯車機構
3日前
株式会社アイシン
ドアロック装置
1日前
株式会社アイシン
サンルーフ装置
3日前
株式会社豊田中央研究所
非接触給電可能な回転電機
1日前
株式会社豊田中央研究所
体重推定装置、体重推定方法、及び体重推定プログラム
2日前
個人
風力発電機
2か月前
個人
磁力スロープ
2か月前
個人
小水力発電器
3日前
個人
波力発電装置
2か月前
個人
風車用回転翼
2か月前
個人
サボニウス風車
今日
個人
折り畳み式風車
2か月前
個人
風力発電装置
1か月前
個人
閉空間推進移動装置
1か月前
東レ株式会社
風車ブレード
1か月前
個人
水力発電用水の循環活動
18日前
個人
波受け板を用いた波浪発電装置
10日前
株式会社 林物産発明研究所
発電装置
28日前
株式会社ゲットクリーンエナジー
発電機
1か月前
個人
水車発電と水の循環供給装置
1か月前
株式会社リコー
水力発電装置
2か月前
三菱電機株式会社
風力発電システム
18日前
株式会社ライトエンジ
推力発生方法
18日前
株式会社アイシン
発電装置
2か月前
株式会社アイシン
発電装置
1か月前
株式会社大林組
リフトアップ装置
29日前
株式会社大林組
リフトアップ装置
29日前
個人
波力発電ユニット及び波力発電システム
1か月前
三菱重工業株式会社
風力発電装置
14日前
日本精工株式会社
風力発電装置
3か月前
パナテックス株式会社
発電装置
1か月前
株式会社日本海洋発電
海流発電システム
2か月前
日本精工株式会社
風力発電装置
2か月前
ダイキン工業株式会社
流体機械
9日前
株式会社リアムウィンド
流体発電装置及び流体発電方法
1か月前
株式会社デンソー
熱音響装置
2か月前
続きを見る
他の特許を見る