TOP
|
特許
|
意匠
|
商標
特許ウォッチ
Twitter
他の特許を見る
10個以上の画像は省略されています。
公開番号
2025158594
公報種別
公開特許公報(A)
公開日
2025-10-17
出願番号
2024061288
出願日
2024-04-05
発明の名称
サーボドライバ
出願人
オムロン株式会社
代理人
弁理士法人秀和特許事務所
主分類
H02P
27/08 20060101AFI20251009BHJP(電力の発電,変換,配電)
要約
【課題】インバータが有するスイッチング素子のうち少なくとも一部のスイッチング素子の発熱を軽減する。
【解決手段】本サーボドライバは、複数のスイッチング素子をオンオフ制御することで、三相交流の駆動電流を生成するインバータと、上位装置から受ける指令信号と、モータの動作に係る情報とを基に、上記複数のスイッチング素子をオンオフさせるPWM信号の生成に用いるキャリア波と上記三相交流の各相の変調波を決定する決定部と、上記モータの電気角の一周期未満の期間において、上記複数のスイッチング素子のうちの少なくとも一部のスイッチング素子のオン時間が短縮されるように、上記決定部によって決定された上記各相の上記変調波を補正する補正部と、上記キャリア波と上記補正部によって補正された上記変調波とを基に上記PWM信号を生成し、生成した上記PWM信号を上記複数のスイッチング素子に供給する供給部と、を備える。
【選択図】図6
特許請求の範囲
【請求項1】
複数のスイッチング素子をオンオフ制御することで、三相交流の駆動電流を生成するインバータと、
上位装置から受ける指令信号と、モータの動作に係る情報とを基に、前記複数のスイッチング素子をオンオフさせるPWM信号の生成に用いるキャリア波と前記三相交流の各相の変調波を決定する決定部と、
前記モータの電気角の一周期未満の期間において、前記複数のスイッチング素子のうちの少なくとも一部のスイッチング素子のオン時間が短縮されるように、前記決定部によって決定された前記各相の前記変調波を補正する補正部と、
前記キャリア波と前記補正部によって補正された前記変調波とを基に前記PWM信号を生成し、生成した前記PWM信号を前記複数のスイッチング素子に供給する供給部と、を備える、
サーボドライバ。
続きを表示(約 1,100 文字)
【請求項2】
前記複数のスイッチング素子のうち他のスイッチング素子よりも発熱している発熱スイッチング素子を特定する特定部をさらに備え、
前記補正部は、前記発熱スイッチング素子のオン時間が短縮されるように、前記各相の前記変調波を補正する、
請求項1に記載のサーボドライバ。
【請求項3】
前記決定部は、前記モータの動作に係る情報と前記指令信号とに基づいて第1のPWM信号を決定し、
前記特定部は、前記第1のPWM信号及び前記三相交流の各相の電流値を基に前記複数のスイッチング素子夫々の電流値を算出し、算出した前記複数のスイッチング素子夫々の電流値を基に、前記発熱スイッチング素子を特定する、
請求項2に記載のサーボドライバ。
【請求項4】
前記複数のスイッチング素子夫々に流れる電流の電流値を計測する電流計をさらに備え、
前記特定部は、前記電流計によって計測された前記電流値を基に、前記電流値が最も大きいスイッチング素子を前記発熱スイッチング素子として特定する、
請求項2に記載のサーボドライバ。
【請求項5】
前記複数のスイッチング素子夫々の温度を計測する温度計をさらに備え、
前記特定部は、前記温度計によって計測された前記温度を基に、最も前記温度が高いスイッチング素子を前記発熱スイッチング素子として特定する、
請求項2に記載のサーボドライバ。
【請求項6】
前記サーボドライバ内に配置された発熱部品から受ける熱と前記複数のスイッチング素子夫々における補正値との対応関係を記憶する記憶部をさらに備え、
前記特定部は、前記複数のスイッチング素子の発熱を前記対応関係を基に補正して、前記発熱スイッチング素子を特定する、
請求項2に記載のサーボドライバ。
【請求項7】
前記補正部は、前記モータの出力に係る指標が所定の閾値以上である場合に、前記各相の前記変調波の補正を行う、
請求項1から6のいずれか一項に記載のサーボドライバ。
【請求項8】
前記モータの出力に係る指標は、前記モータに供給される前記駆動電流を含む、
請求項7に記載のサーボドライバ。
【請求項9】
前記モータの出力に係る指標は、前記指令信号が示すトルク指令値を含む、
請求項7に記載のサーボドライバ。
【請求項10】
前記補正部は、前記モータの速度に応じて前記各相の前記変調波に対する補正量を決定する、
請求項1から6のいずれか一項に記載のサーボドライバ。
(【請求項11】以降は省略されています)
発明の詳細な説明
【技術分野】
【0001】
本発明は、サーボドライバに関する。
続きを表示(約 1,700 文字)
【背景技術】
【0002】
モータをパルス幅変調信号(PWM信号)制御するモータ制御装置が利用されている。特許文献1では、モータ制御装置によってブラシレスDCモータを低速回転させる際に生じ得るトルクムラを抑制する技術が提案されている。
【先行技術文献】
【特許文献】
【0003】
特開2003-199381号公報
【発明の概要】
【発明が解決しようとする課題】
【0004】
モータには、短期間であれば定格以上の電力で動作するものが存在する。このようなモータをサーボドライバで制御する場合、サーボドライバが有するインバータ中のスイッチング素子間で損失(発熱)の偏りが生じ得る。このような発熱の偏りを是正するため、放熱部品が大型化し、サーボドライバの小型化が困難になっていた。
【0005】
開示の技術の1つの側面は、インバータが有するスイッチング素子のうちの少なくとも一部のスイッチング素子の発熱を軽減できるサーボドライバを提供することを目的とする。
【課題を解決するための手段】
【0006】
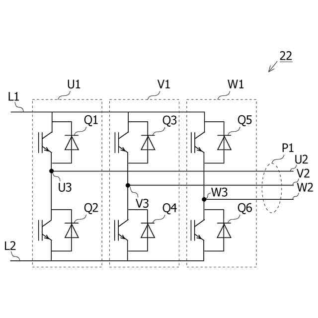
開示の技術の1つの側面は、次のようなサーボドライバによって例示される。本サーボドライバは、複数のスイッチング素子をオンオフ制御することで、三相交流の駆動電流を生成するインバータと、上位装置から受ける指令信号と、モータの動作に係る情報とを基に、上記複数のスイッチング素子をオンオフさせるPWM信号の生成に用いるキャリア波と上記三相交流の各相の変調波を決定する決定部と、上記モータの電気角の一周期未満の期間において、上記複数のスイッチング素子のうちの少なくとも一部のスイッチング素子のオン時間が短縮されるように、上記決定部によって決定された上記各相の上記変調波を補正する補正部と、上記キャリア波と上記補正部によって補正された上記変調波とを基に上記PWM信号を生成し、生成した上記PWM信号を上記複数のスイッチング素子に供給する供給部と、を備える。
【0007】
本サーボドライバによれば、少なくとも一部のスイッチング素子のオン時間が短縮されるように上記各相の変調波が補正される。そのため、インバータが有するスイッチング素子のうちの少なくとも一部のスイッチング素子の発熱を軽減できる。
【0008】
本サーボドライバは、次の特徴をさらに備えてもよい。上記複数のスイッチング素子のうち他のスイッチング素子よりも発熱している発熱スイッチング素子を特定する特定部をさらに備える。そして、上記補正部は、上記発熱スイッチング素子のオン時間が短縮されるように、上記各相の上記変調波を補正する。本サーボドライバは、このような特徴を備えることで、上記発熱スイッチング素子の発熱が抑制されるため、インバータが有するスイッチング素子の発熱をより効率的に軽減できる。
【0009】
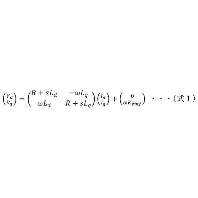
本サーボドライバは、次の特徴をさらに備えてもよい。上記決定部は、上記モータの動
作に係る情報と上記指令信号とに基づいて第1のPWM信号を決定する。そして、上記特定部は、上記第1のPWM信号及び上記三相交流の各相の電流値を基に上記複数のスイッチング素子夫々の電流値を算出し、算出した上記複数のスイッチング素子夫々の電流値を基に、上記発熱スイッチング素子を特定する。本サーボドライバは、このような特徴を備えることで、追加の計器を備えなくとも上記発熱スイッチング素子を特定できる。
【0010】
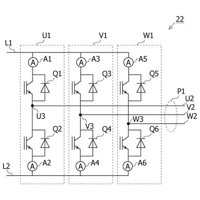
本サーボドライバは、次の特徴をさらに備えてもよい。上記複数のスイッチング素子夫々に流れる電流の電流値を計測する電流計をさらに備える。そして、上記特定部は、上記電流計によって計測された上記電流値を基に、上記電流値が最も大きいスイッチング素子を上記発熱スイッチング素子として特定する。スイッチング素子では、流れる電流が大きいほど発熱が大きいと考えられる。本サーボドライバは、このような特徴を備えることで、上記電流値を用いて上記発熱スイッチング素子を特定できる。
(【0011】以降は省略されています)
この特許をJ-PlatPat(特許庁公式サイト)で参照する
関連特許
オムロン株式会社
電磁継電器
12日前
オムロン株式会社
発光エンブレム
4日前
オムロン株式会社
サーボドライバ
4日前
オムロン株式会社
パワーコンディショナ
14日前
オムロン株式会社
電力システム及び制御装置
14日前
オムロン株式会社
情報処理システムおよび情報処理方法
11日前
オムロン株式会社
制御装置、制御方法、及び制御プログラム
11日前
オムロン株式会社
処理装置、処理方法、および処理プログラム
7日前
オムロン株式会社
処理装置、処理方法、および処理プログラム
7日前
オムロン株式会社
画像処理装置、画像処理方法及びプログラム
11日前
オムロン株式会社
モデル生成方法、推論プログラム及び推論装置
4日前
オムロン株式会社
制御装置、情報処理方法および情報処理プログラム
11日前
オムロン株式会社
物体検出装置、物体検出方法、および制御プログラム
4日前
オムロン株式会社
雨滴検出装置、雨滴検出方法および雨滴検出プログラム
19日前
オムロン株式会社
表示制御装置、表示制御方法および表示制御プログラム
6日前
オムロン株式会社
オドメトリパラメータ較正装置、方法、及びプログラム
11日前
オムロン株式会社
設計支援方法、設計支援装置、プログラム、及び記録媒体
12日前
オムロン株式会社
信頼度マップ作成方法、自己位置決定方法、装置、及びプログラム
11日前
オムロン株式会社
入出場管理システム、入出場管理方法、及び入出場管理プログラム
12日前
オムロン株式会社
機器テスト処理装置、機器テスト処理方法、機器テスト処理プログラム
14日前
オムロン株式会社
分析支援装置、分析支援方法、分析支援プログラムおよび分析支援端末
11日前
オムロン株式会社
チケット管理システム、チケット管理方法、及びチケット管理プログラム
12日前
オムロン株式会社
外観検査システム、外観検査装置、外観検査装置の制御方法及びプログラム
12日前
オムロン株式会社
チケット管理システム、チケット管理装置、チケット管理方法、及びプログラム
14日前
オムロン株式会社
ロボット制御装置、代表物体情報生成装置、操作情報付与装置、方法、及びプログラム
11日前
個人
単極モータ
7日前
株式会社アイシン
ロータ
7日前
株式会社アイシン
ロータ
11日前
トヨタ自動車株式会社
固定子
12日前
トヨタ自動車株式会社
製造装置
12日前
株式会社デンソー
回転機
5日前
個人
連続ガウス加速器形磁力増幅装置
14日前
株式会社ダイヘン
充電装置
11日前
株式会社アイシン
ステータ
11日前
株式会社アイシン
ステータ
11日前
東京瓦斯株式会社
通信装置
13日前
続きを見る
他の特許を見る