TOP
|
特許
|
意匠
|
商標
特許ウォッチ
Twitter
他の特許を見る
公開番号
2025154997
公報種別
公開特許公報(A)
公開日
2025-10-14
出願番号
2024058305
出願日
2024-03-29
発明の名称
ロータ
出願人
株式会社アイシン
代理人
個人
主分類
H02K
1/276 20220101AFI20251002BHJP(電力の発電,変換,配電)
要約
【課題】ロータコアブロック部を製造するための金型が増加するのを抑制しながら、複数のロータコアブロック部が、ロータコアブロック部の磁極の位置が互いにずれた3つ以上のロータコアブロック部を含むように構成することが可能なロータを提供する。
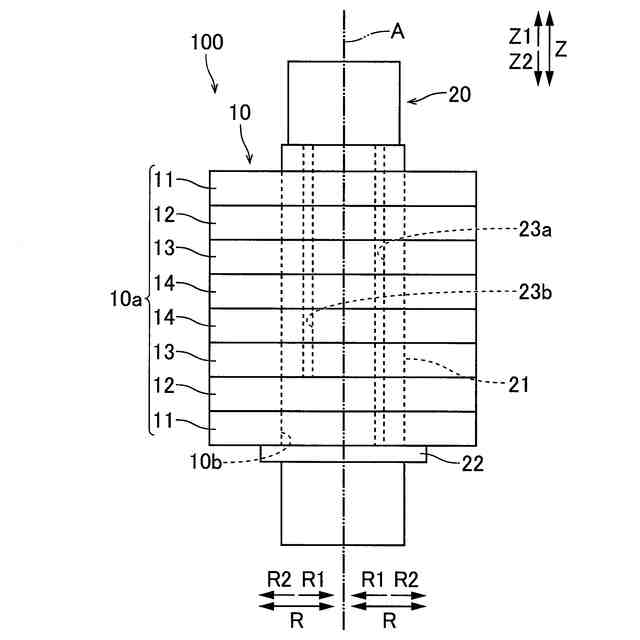
【解決手段】このロータ100では、複数のロータコアブロック部10aは、キー10dが第1キー溝23aと係合する第1ロータコアブロック部11と、キー10dが第1キー溝23aと係合するとともに第1ロータコアブロック部11をZ方向に裏返して配置され、C方向において第1ロータコアブロック部11とは磁極MPの位置がずれた第2ロータコアブロック部12と、キー10dが第2キー溝23bと係合し、C方向において第1ロータコアブロック部11および第2ロータコアブロック部12とは磁極MPの位置がずれた第3ロータコアブロック部13と、を含む。
【選択図】図4
特許請求の範囲
【請求項1】
軸方向に延びる第1キー溝と、前記軸方向に延びるとともに前記第1キー溝から周方向にずれた位置に形成された第2キー溝と、を含む、ロータシャフトと、
前記軸方向に延びるとともに、前記第1キー溝または前記第2キー溝に係合するキー、および、永久磁石が配置される複数の磁石収容孔を有する複数のロータコアブロック部が、前記軸方向に積層されたロータコアと、を備え、
前記複数のロータコアブロック部は、前記キーが前記第1キー溝と係合する第1ロータコアブロック部と、前記キーが前記第1キー溝と係合するとともに前記第1ロータコアブロック部を前記軸方向に裏返して配置され、前記周方向において前記第1ロータコアブロック部とは前記ロータコアブロック部の永久磁石により形成される磁極の位置がずれた第2ロータコアブロック部と、前記キーが前記第2キー溝と係合し、前記周方向において前記第1ロータコアブロック部および前記第2ロータコアブロック部とは前記磁極の位置がずれた第3ロータコアブロック部と、を含む、ロータ。
続きを表示(約 590 文字)
【請求項2】
前記第1キー溝は、前記ロータシャフトにおいて、前記ロータシャフトの回転軸線に対して互いに対称に一対形成されており、
前記第2キー溝は、前記ロータシャフトにおいて、前記回転軸線に対して互いに対称に一対形成されており、
前記キーは、前記ロータコアブロック部において、前記回転軸線に対して互いに対称に一対形成されている、請求項1に記載のロータ。
【請求項3】
前記複数のロータコアブロック部は、前記キーが前記第2キー溝と係合するとともに前記第3ロータコアブロック部を前記軸方向に裏返して配置され、前記周方向において前記第1ロータコアブロック部、前記第2ロータコアブロック部および前記第3ロータコアブロック部とは前記磁極の位置がずれた第4ロータコアブロック部をさらに含む、請求項1に記載のロータ。
【請求項4】
前記第1キー溝は、前記ロータシャフトにおいて、前記複数のロータコアブロック部が配置された部分の全体に渡って形成されており、
前記第2キー溝は、前記ロータシャフトにおいて、少なくとも、前記複数のロータコアブロック部のうちの前記軸方向の一方側または他方側の端部に配置された前記第1ロータコアブロック部または前記第2ロータコアブロック部が配置されている部分には形成されていない、請求項1に記載のロータ。
発明の詳細な説明
【技術分野】
【0001】
本発明は、ロータに関する。
続きを表示(約 2,800 文字)
【背景技術】
【0002】
従来、複数のロータコアブロック部が軸方向に積層されたロータコアを備えるロータが知られている(たとえば、特許文献1参照)。
【0003】
上記特許文献1には、軸方向に延びるキー溝を含むロータシャフトと、軸方向に延びるとともに、キー溝と係合するキー、および、永久磁石が配置される複数の磁石収容孔を有する複数のロータコアブロック部が、軸方向に積層されたロータコアと、を備えるロータが開示されている。上記特許文献1に記載されているロータでは、複数のロータコアブロック部は、第1ロータコアブロック部と、第1ロータコアブロック部を軸方向に裏返して配置され、周方向において第1ロータコアブロック部とはロータコアブロック部の永久磁石により形成される磁極の位置がずれた第2ロータコアブロック部と、を含む。すなわち、上記特許文献1に記載されているロータでは、同一形状のロータコアブロック部のみで、複数のロータコアブロック部が、ロータコアブロック部の磁極の位置が互いにずれた2つのロータコアブロック部を含む。
【先行技術文献】
【特許文献】
【0004】
特開平11-18339号公報
【発明の概要】
【発明が解決しようとする課題】
【0005】
しかしながら、上記特許文献1に記載されている従来のロータでは、複数のロータコアブロック部が、ロータコアブロック部の磁極の位置が互いにずれた3つ以上のロータコアブロック部を含むように構成する場合、互いに異なる形状を有する2種類以上のロータコアブロック部が必要となる。この場合、ロータコアブロック部を製造するための金型が2種類以上必要となる。このため、ロータコアブロック部を製造するための金型が増加するのを抑制しながら、複数のロータコアブロック部が、ロータコアブロック部の磁極の位置が互いにずれた3つ以上のロータコアブロック部を含むように構成することが可能なロータが望まれている。
【0006】
この発明は、上記のような課題を解決するためになされたものであり、この発明の1つの目的は、ロータコアブロック部を製造するための金型が増加するのを抑制しながら、複数のロータコアブロック部が、ロータコアブロック部の磁極の位置が互いにずれた3つ以上のロータコアブロック部を含むように構成することが可能なロータを提供することである。
【課題を解決するための手段】
【0007】
上記目的を達成するために、この発明の一の局面におけるロータは、軸方向に延びる第1キー溝と、軸方向に延びるとともに第1キー溝から周方向にずれた位置に形成された第2キー溝と、を含む、ロータシャフトと、軸方向に延びるとともに、第1キー溝または第2キー溝に係合するキー、および、永久磁石が配置される複数の磁石収容孔を有する複数のロータコアブロック部が、軸方向に積層されたロータコアと、を備え、複数のロータコアブロック部は、キーが第1キー溝と係合する第1ロータコアブロック部と、キーが第1キー溝と係合するとともに第1ロータコアブロック部を軸方向に裏返して配置され、周方向において第1ロータコアブロック部とはロータコアブロック部の永久磁石により形成される磁極の位置がずれた第2ロータコアブロック部と、キーが第2キー溝と係合し、周方向において第1ロータコアブロック部および第2ロータコアブロック部とは磁極の位置がずれた第3ロータコアブロック部と、を含む。
【0008】
この発明の一の局面におけるロータは、上記のように、複数のロータコアブロック部は、キーが第1キー溝と係合する第1ロータコアブロック部と、キーが第1キー溝と係合するとともに第1ロータコアブロック部を軸方向に裏返して配置され、周方向において第1ロータコアブロック部とはロータコアブロック部の永久磁石により形成される磁極の位置がずれた第2ロータコアブロック部と、キーが第2キー溝と係合し、周方向において第1ロータコアブロック部および第2ロータコアブロック部とは磁極の位置がずれた第3ロータコアブロック部と、を含む。これにより、第1ロータコアブロック部、第2ロータコアブロック部および第3ロータコアブロック部により、同一形状のロータコアブロック部のみで、複数のロータコアブロック部が、ロータコアブロック部の磁極の位置が互いにずれた3つのロータコアブロック部を含むように構成することができる。その結果、ロータコアブロック部を製造するための金型が増加するのを抑制しながら、複数のロータコアブロック部が、ロータコアブロック部の磁極の位置が互いにずれた3つ以上のロータコアブロック部を含むように構成することができる。
【0009】
上記一の局面によるロータにおいて、好ましくは、第1キー溝は、ロータシャフトにおいて、ロータシャフトの回転軸線に対して互いに対称に一対形成されており、第2キー溝は、ロータシャフトにおいて、回転軸線に対して互いに対称に一対形成されており、キーは、ロータコアブロック部において、回転軸線に対して互いに対称に一対形成されている。
【0010】
このように構成すれば、ロータシャフトの第1キー溝と、第1ロータコアブロック部のキーとを、回転軸線に対して互いに対向する2箇所で係合させることができるので、ロータシャフトおよび第1ロータコアブロック部の回転時に、ロータシャフトの第1キー溝および第1ロータコアブロック部のキーに作用する負荷をバランスよく分散することができる。また、ロータシャフトの第1キー溝と、第2ロータコアブロック部のキーとを、回転軸線に対して互いに対向する2箇所で係合させることができるので、ロータシャフトおよび第2ロータコアブロック部の回転時に、ロータシャフトの第1キー溝および第2ロータコアブロック部のキーに作用する負荷をバランスよく分散することができる。また、ロータシャフトの第2キー溝と、第3ロータコアブロック部のキーとを、回転軸線に対して互いに対向する2箇所で係合させることができるので、ロータシャフトおよび第3ロータコアブロック部の回転時に、ロータシャフトの第2キー溝および第3ロータコアブロック部のキーに作用する負荷をバランスよく分散することができる。これらの結果、ロータシャフトおよびロータコアの回転時に、ロータシャフトの第1キー溝、ロータシャフトの第2キー溝、第1ロータコアブロック部のキー、第2ロータコアブロック部のキー、および、第3ロータコアブロック部のキーの各々に作用する負荷を低減することができる。
(【0011】以降は省略されています)
この特許をJ-PlatPat(特許庁公式サイト)で参照する
関連特許
株式会社アイシン
ロータ
1日前
株式会社アイシン
ロータ
5日前
株式会社アイシン
歯車機構
1日前
株式会社アイシン
折り畳み装置
5日前
株式会社アイシン
走行制御装置
5日前
株式会社アイシン
ガス検出装置
5日前
株式会社アイシン
折り畳み装置
5日前
株式会社アイシン
サンルーフ装置
1日前
株式会社アイシン
燃料電池システム
1日前
株式会社アイシン
燃料電池システム
1日前
株式会社アイシン
燃料電池システム
1日前
株式会社アイシン
露光制御システム
5日前
株式会社豊田中央研究所
体重推定装置、体重推定方法、及び体重推定プログラム
今日
個人
単極モータ
1日前
株式会社アイシン
ロータ
5日前
株式会社アイシン
ロータ
1日前
トヨタ自動車株式会社
固定子
6日前
トヨタ自動車株式会社
製造装置
6日前
株式会社アイシン
ステータ
5日前
株式会社アイシン
ステータ
5日前
株式会社ダイヘン
充電装置
5日前
株式会社ダイヘン
充電装置
5日前
株式会社アイシン
ステータ
5日前
個人
太陽エネルギー収集システム
6日前
株式会社アイシン
ステータ
5日前
株式会社ダイヘン
充電装置
5日前
株式会社ダイヘン
充電装置
5日前
カヤバ株式会社
筒型リニアモータ
7日前
株式会社kaisei
発電システム
1日前
トヨタ自動車株式会社
被膜形成装置
6日前
株式会社ミツバ
回転電機
5日前
ASTI株式会社
電力変換装置
6日前
株式会社デンソー
電力変換装置
今日
大和ハウス工業株式会社
システム
7日前
キヤノン株式会社
無線電力伝送システム
6日前
株式会社アイシン
保護装置
6日前
続きを見る
他の特許を見る