TOP
|
特許
|
意匠
|
商標
特許ウォッチ
Twitter
他の特許を見る
公開番号
2025162935
公報種別
公開特許公報(A)
公開日
2025-10-28
出願番号
2024075480
出願日
2024-04-16
発明の名称
小型卓球台
出願人
個人
代理人
主分類
A63B
67/04 20060101AFI20251021BHJP(スポーツ;ゲーム;娯楽)
要約
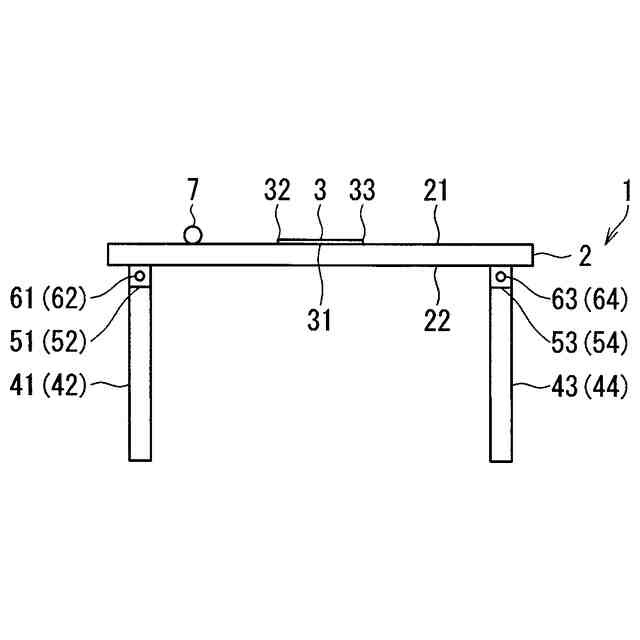
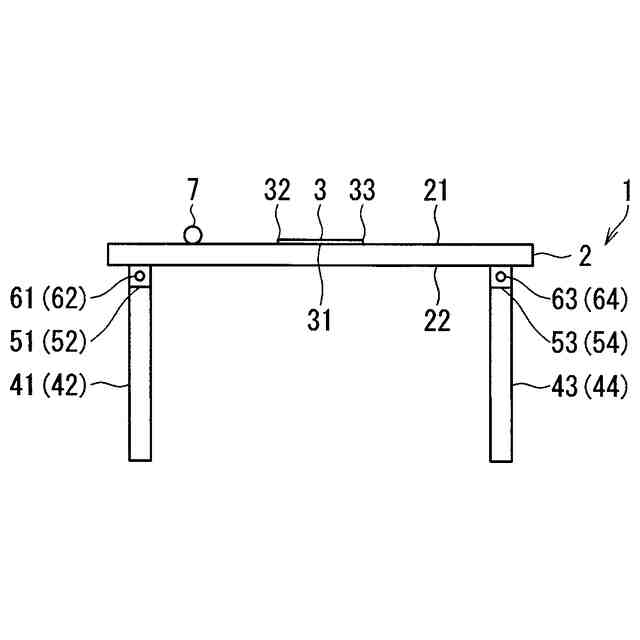
【課題】従来と似たルールで対戦でき且つ対戦方向の卓球台の天板の全長を短くできる小型卓球台を提供する。
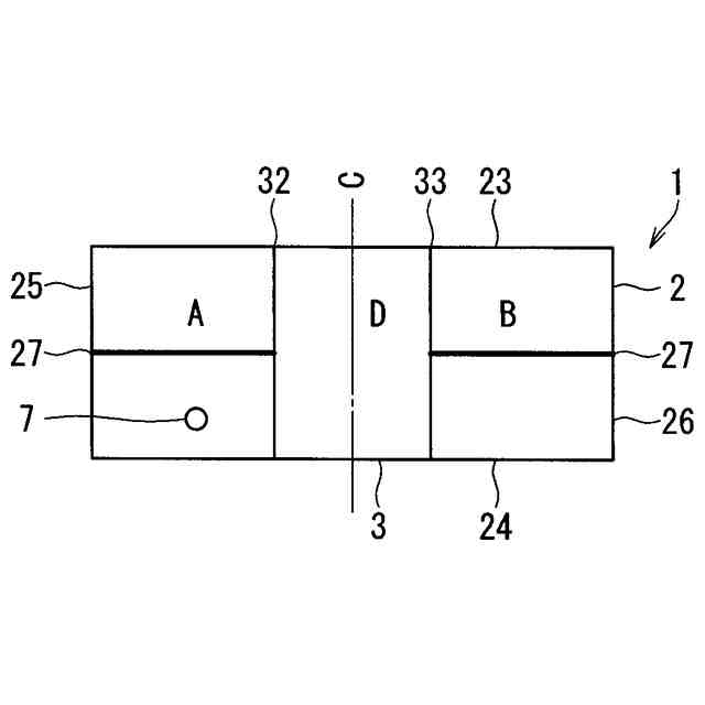
【解決手段】小型卓球台1は、天板2の中心からの長さが一定に形成された低反発性ゴムなどからなる低反発の第二天板3を備えている。
【選択図】図1
特許請求の範囲
【請求項1】
高反発の天板の中心Cの両側の前記天板に固定された又は一体化された又は載置された低反発の第二天板を備えた小型卓球台。
続きを表示(約 240 文字)
【請求項2】
前記第二天板は、天板の中心Cからの長さが一定に形成された請求項1に記載の小型卓球台。
【請求項3】
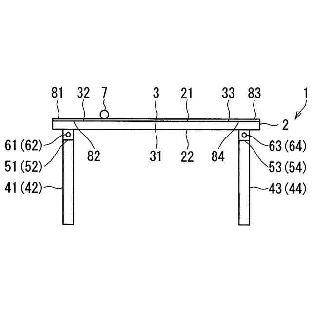
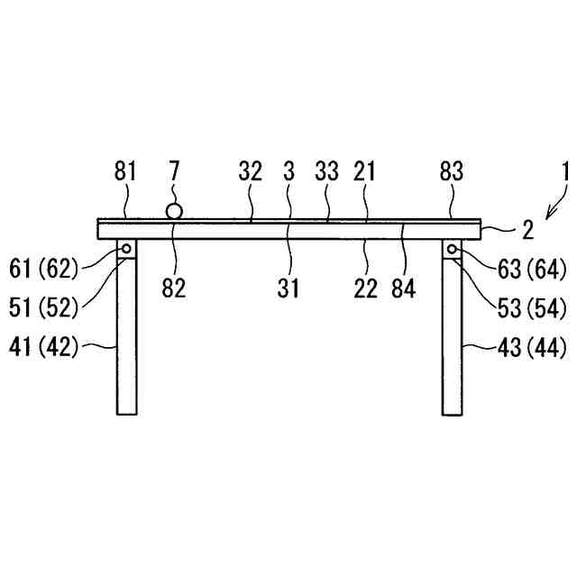
前記第二天板は、天板の中心Cからの長さが、少なくても両側のサイドライン近傍ではサイドラインに近づくほど長くなるように形成された請求項1に記載の小型卓球台。
【請求項4】
前記第二天板の上面は、前記天板又は前記第二天板の両側で前記天板に固定された高反発の第三天板の上面と段差がないように形成された請求項1に記載の小型卓球台。
発明の詳細な説明
【技術分野】
【0001】
本発明は、小型卓球台に関する。
続きを表示(約 1,000 文字)
【背景技術】
【0002】
従来、例えば特許文献1に開示された小型卓球台が知られている。特許文献1に開示された小型卓球台は、多人数で一同に卓球を楽しむために、卓球台の天板の形状が円形に形成されている。
【先行技術文献】
【特許文献】
【0003】
実用新案登録第3050954号公報
【発明の概要】
【発明が解決しようとする課題】
【0004】
特許文献1に開示された小型卓球台は、天板の上にネットなどの仕切りが無いため対戦のためのルールが明確ではなく、勝敗が決定しにくいという課題がある。
【0005】
本発明は前述の課題を解決するため、従来と似たルールで対戦でき且つ対戦方向の卓球台の天板の全長を短くできる小型卓球台を提供することを目的とする。
【課題を解決するための手段】
【0006】
本発明は前述の課題を解決するため、請求項1に記載の小型卓球台は、高反発の天板の中心Cの両側の前記天板に固定された又は一体化された又は載置された低反発の第二天板を備えている。
【0007】
また、請求項2に記載の小型卓球台は、前記第二天板が、天板の中心Cからの長さが一定に形成されている。
【0008】
また、請求項3に記載の小型卓球台は、前記第二天板が、天板の中心Cからの長さが少なくても両側のサイドライン近傍ではサイドラインに近づくほど長くなるように形成されている。
【0009】
また、請求項4に記載の小型卓球台は、前記第二天板の上面が、前記天板又は前記第二天板の両側で前記天板に固定された高反発の第三天板の上面と段差がないように形成されている。
【発明の効果】
【0010】
本発明によれば、請求項1に記載の小型卓球台は、低反発の第二天板を備えているためピンポン玉が第二天板に当たればピンポン玉の動きが高反発の天板に当たった時と異なるため、ネットを使用した卓球台と同じように対戦することができる。また、ネットがないため低いピンポン玉が打てるので、対戦方向の卓球台の天板の全長を短くすることもできる。また、第二天板が天板上に載置されている場合、第二天板を対戦方向に移動することで、対戦者に実力差があっても互角に戦うこともできる。
(【0011】以降は省略されています)
この特許をJ-PlatPat(特許庁公式サイト)で参照する
関連特許
個人
玩具
4か月前
個人
玩具
1か月前
個人
自走玩具
1か月前
個人
運動補助具
3か月前
個人
小型卓球台
4日前
個人
ゲーム玩具
5か月前
個人
パズル
5日前
個人
打撃練習用具
23日前
株式会社三共
遊技機
1か月前
株式会社三共
遊技機
1か月前
株式会社三共
遊技機
1か月前
株式会社三共
遊技機
1か月前
株式会社三共
遊技機
1か月前
株式会社三共
遊技機
1か月前
株式会社三共
遊技機
1か月前
株式会社三共
遊技機
1か月前
株式会社三共
遊技機
1か月前
株式会社三共
遊技機
1か月前
株式会社三共
遊技機
1か月前
株式会社三共
遊技機
1か月前
株式会社三共
遊技機
1か月前
株式会社三共
遊技機
1か月前
株式会社三共
遊技機
1か月前
株式会社三共
遊技機
1か月前
株式会社三共
遊技機
1か月前
株式会社三共
遊技機
7か月前
株式会社三共
遊技機
1か月前
株式会社三共
遊技機
1か月前
株式会社三共
遊技機
1か月前
株式会社三共
遊技機
1か月前
株式会社三共
遊技機
1か月前
株式会社三共
遊技機
1か月前
株式会社三共
遊技機
1か月前
株式会社三共
遊技機
1か月前
株式会社三共
遊技機
1か月前
株式会社三共
遊技機
1か月前
続きを見る
他の特許を見る