TOP
|
特許
|
意匠
|
商標
意匠ウォッチ
Twitter
他の意匠を見る
発行日
2025-06-12
公報種別
意匠公報(S)
登録番号
1800867
登録日
2025-06-04
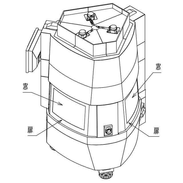
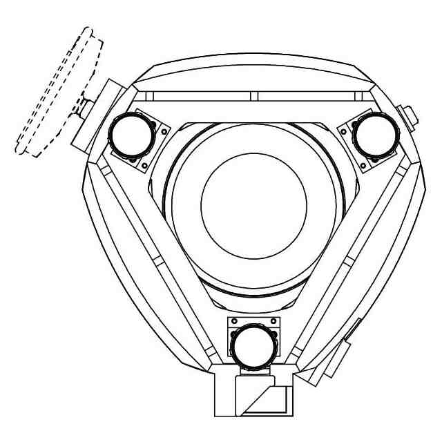
意匠に係る物品
研磨装置
意匠分類
K0
-70(K1~K9に属さないその他の産業用機械器具)
出願番号
2025000966
出願日
2025-01-20
意匠権者
株式会社ナガセインテグレックス
代理人
個人
,
個人
意匠に係る物品の説明
この意匠に係る物品は、半導体等の製造においてウェハを研磨するための研磨装置である。
意匠の説明
扉に設けられた窓は透明である。意匠登録を受けようとする部分を実線で、それ以外の部分を破線で表した。
この意匠をJ-PlatPat(特許庁公式サイト)で参照する
関連意匠
株式会社ナガセインテグレックス
研磨装置
3か月前
株式会社ナガセインテグレックス
ベース部材
3か月前
株式会社ナガセインテグレックス
ベース部材
3か月前
株式会社ナガセインテグレックス
研磨装置本体
3か月前
株式会社ナガセインテグレックス
研磨装置本体
3か月前
株式会社ナガセインテグレックス
研磨装置本体
3か月前
株式会社ナガセインテグレックス
研磨装置用フレーム
3か月前
株式会社ナガセインテグレックス
研磨装置用フレーム
3か月前
株式会社ナガセインテグレックス
ワーク等保持ユニット
3か月前
株式会社ナガセインテグレックス
ワーク等保持ユニット
3か月前
株式会社ナガセインテグレックス
ワーク等保持ユニット
3か月前
株式会社ナガセインテグレックス
ワーク等保持ユニット用ハウジング
3か月前
東京窯業株式会社
匣鉢
2か月前
東京窯業株式会社
匣鉢
2か月前
東京窯業株式会社
匣鉢
2か月前
東京窯業株式会社
匣鉢
2か月前
個人
刷毛
12か月前
大蔵工業株式会社
帯掛機
6か月前
株式会社KOKUSAI ELECTRIC
反応管
5か月前
ラム リサーチ コーポレーション
シール
1か月前
ラム リサーチ コーポレーション
シール
1か月前
立晏企業有限公司
支持具
10日前
株式会社プロスタッフ
塗布具
3か月前
株式会社KOKUSAI ELECTRIC
反応管
5か月前
ノードソン コーポレーション
溶融機
4か月前
大蔵工業株式会社
帯掛機
5か月前
大蔵工業株式会社
帯掛機
5か月前
ファインマシーンカタオカ株式会社
乾燥機
6か月前
三菱鉛筆株式会社
塗装器
8か月前
大蔵工業株式会社
帯掛機
6か月前
クアーズテック合同会社
透視窓体
4か月前
クアーズテック合同会社
透視窓体
4か月前
株式会社ナガセインテグレックス
研磨装置
3か月前
株式会社創朋
破壊装置
5か月前
株式会社創朋
破壊装置
5か月前
黒崎播磨株式会社
スタッド
5か月前
続きを見る
他の意匠を見る