TOP
|
特許
|
意匠
|
商標
意匠ウォッチ
Twitter
他の意匠を見る
24個以上の画像は省略されています。
発行日
2025-06-12
公報種別
意匠公報(S)
登録番号
1800872
登録日
2025-06-04
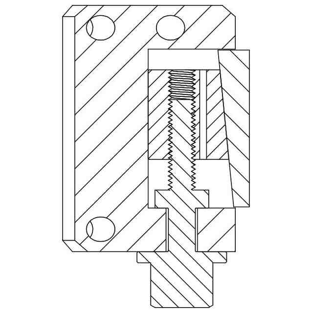
意匠に係る物品
ワーク等保持ユニット
意匠分類
K0
-790(K1~K9に属さないその他の産業用機械器具)
出願番号
2025000972
出願日
2025-01-20
意匠権者
株式会社ナガセインテグレックス
代理人
個人
,
個人
意匠に係る物品の説明
この意匠に係る物品は、半導体等の製造においてウェハを研磨する研磨装置に取り付けて使用されるワーク等保持ユニットである。使用状態を示す参考図1乃至3は、研磨装置本体にワーク(研磨物)やドレッサーを保持させたワーク等保持ユニットを取り付けた状態を表している。使用時には、本物品の下面にワークやドレッサーを保持させるとともにワークやドレッサーの保持部がガイドレールに沿って上下動する。その際、本物品の周面に設けられた振り回し調整部を調整することによって、ワークやドレッサーが水平になるように調整することができる。
意匠の説明
参考図を除く各図において、意匠登録を受けようとする部分を実線で、それ以外の部分を破線で表した。各斜視図、各部の名称を示す参考図に表れる途切れた線は、立体表面の形状を表すためのものである。
意匠ウォッチbot のツイートを見る
この意匠をJ-PlatPat(特許庁公式サイト)で参照する
関連意匠
株式会社ナガセインテグレックス
研磨装置
3か月前
株式会社ナガセインテグレックス
ベース部材
3か月前
株式会社ナガセインテグレックス
ベース部材
3か月前
株式会社ナガセインテグレックス
研磨装置本体
3か月前
株式会社ナガセインテグレックス
研磨装置本体
3か月前
株式会社ナガセインテグレックス
研磨装置本体
3か月前
株式会社ナガセインテグレックス
研磨装置用フレーム
3か月前
株式会社ナガセインテグレックス
研磨装置用フレーム
3か月前
株式会社ナガセインテグレックス
ワーク等保持ユニット
3か月前
株式会社ナガセインテグレックス
ワーク等保持ユニット
3か月前
株式会社ナガセインテグレックス
ワーク等保持ユニット
3か月前
株式会社ナガセインテグレックス
ワーク等保持ユニット用ハウジング
3か月前
東京窯業株式会社
匣鉢
2か月前
東京窯業株式会社
匣鉢
2か月前
東京窯業株式会社
匣鉢
2か月前
東京窯業株式会社
匣鉢
2か月前
個人
刷毛
12か月前
大蔵工業株式会社
帯掛機
6か月前
株式会社KOKUSAI ELECTRIC
反応管
5か月前
ラム リサーチ コーポレーション
シール
1か月前
ラム リサーチ コーポレーション
シール
1か月前
立晏企業有限公司
支持具
10日前
株式会社プロスタッフ
塗布具
3か月前
株式会社KOKUSAI ELECTRIC
反応管
5か月前
ノードソン コーポレーション
溶融機
4か月前
大蔵工業株式会社
帯掛機
5か月前
大蔵工業株式会社
帯掛機
5か月前
ファインマシーンカタオカ株式会社
乾燥機
6か月前
三菱鉛筆株式会社
塗装器
8か月前
大蔵工業株式会社
帯掛機
6か月前
クアーズテック合同会社
透視窓体
4か月前
クアーズテック合同会社
透視窓体
4か月前
株式会社ナガセインテグレックス
研磨装置
3か月前
株式会社創朋
破壊装置
5か月前
株式会社創朋
破壊装置
5か月前
黒崎播磨株式会社
スタッド
5か月前
続きを見る
他の意匠を見る