TOP
|
特許
|
意匠
|
商標
意匠ウォッチ
Twitter
他の意匠を見る
発行日
2025-10-02
公報種別
意匠公報(S)
登録番号
1809798
登録日
2025-09-24
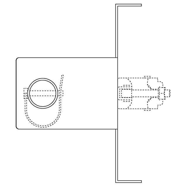
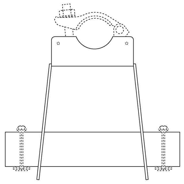
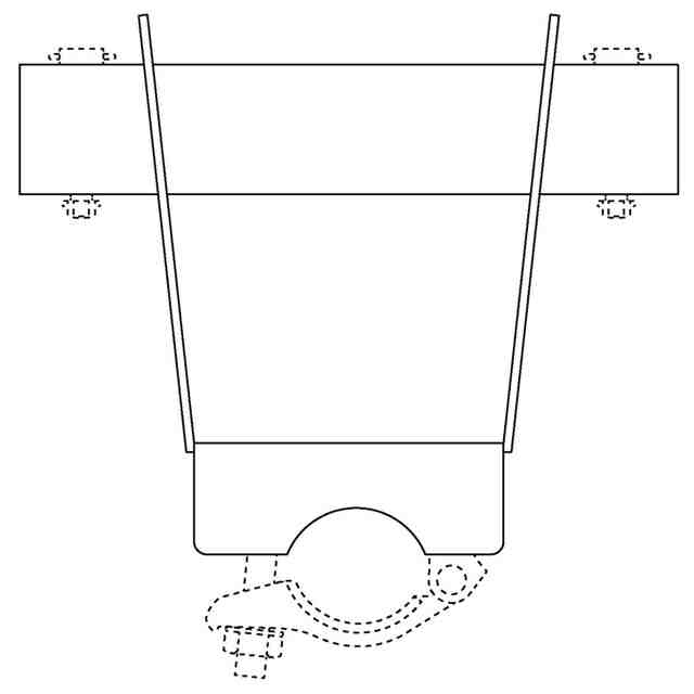
意匠に係る物品
安全柵設置用の支柱取付金物
意匠分類
L1
-53(仮設工事用品)
出願番号
2025002657
出願日
2025-02-12
意匠権者
前田工繊株式会社
,
株式会社三共シーゼル
代理人
個人
,
個人
,
個人
意匠に係る物品の説明
本物品は、盛土構造体の前面に壁面材を積み上げて覆った補強土壁の構築工事において、壁面材の本体に安全柵用支柱(単管パイプ)を仮止めするための金具である。メインプレート、クランプ部、固定用パイプ及び抜け止めピンより成る。固定用パイプはメインプレートから取り外すことが可能である。 本物品を壁面材に取り付ける際は、まず壁面材の凸部をメインプレートで挟み込み、壁面材に空いたベルト挿通孔に本物品の固定用パイプを挿通して固定する。その後、固定用パイプに抜け止めピンを取り付け、最後にクランプ部で安全柵用の支柱を締結して使用する。
意匠の説明
実線で表された部分が部分意匠として意匠登録を受けようとする部分である。分離した状態を示す参考斜視図は、固定用パイプをメインプレートから分離した状態を表しており、抜け止めピンの一方を取り外している。
この意匠をJ-PlatPat(特許庁公式サイト)で参照する
関連意匠
前田工繊株式会社
吊り足場用の遮水シート
1か月前
前田工繊株式会社
安全柵設置用の支柱取付金物
16日前
前田工繊株式会社
盛土補強材の引き抜き試験用治具
5か月前
個人
柵
9か月前
個人
柵
9か月前
個人
鋼矢板
10か月前
株式会社三共
足場板
10か月前
株式会社片桐
型枠材
3か月前
ペリー エスエー
支保工
9か月前
株式会社片桐
型枠材
4か月前
モン.ゾン デベロップメント アーベー
足場用梁
3か月前
ヒロセ株式会社
梁受け具
10か月前
日鉄建材株式会社
土留め壁
3か月前
個人
吊り金具
7か月前
日鉄建材株式会社
土留め壁
6か月前
日鉄建材株式会社
土留め壁
6か月前
原田工業株式会社
足場部材
2か月前
株式会社大林組
吊元装置
24日前
株式会社大林組
吊元装置
24日前
東阪工業株式会社
足場板材
9か月前
日鉄建材株式会社
土留め壁
7か月前
個人
調整足場
2か月前
個人
吊り金具
7か月前
藤本貴昭株式会社
養生ボード
3か月前
JFE建材株式会社
立坑用部材
1か月前
港製器工業株式会社
腹起し支柱
9か月前
株式会社ダイサン
仮設用支柱
8か月前
株式会社東京BK足場
足場用金具
1か月前
JFE建材株式会社
立坑用部材
1か月前
港製器工業株式会社
腹起し支柱
26日前
JFE建材株式会社
立坑用部材
6か月前
JFE建材株式会社
立坑用部材
6か月前
JFE建材株式会社
立坑用部材
6か月前
JFE建材株式会社
立坑用部材
6か月前
JFE建材株式会社
立坑用部材
6か月前
JFE建材株式会社
立坑用部材
6か月前
続きを見る
他の意匠を見る