TOP
|
特許
|
意匠
|
商標
意匠ウォッチ
Twitter
他の意匠を見る
発行日
2025-10-17
公報種別
意匠公報(S)
登録番号
1810831
登録日
2025-10-08
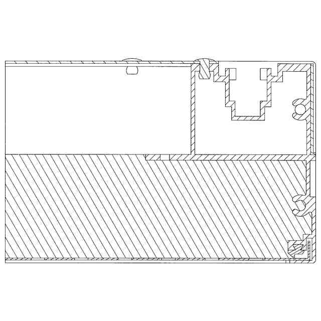
意匠に係る物品
足場板
意匠分類
L2
-5019(土木構造物及び土木用品)
出願番号
2025006224
出願日
2025-03-28
意匠権者
首都高メンテナンス東東京株式会社
,
積水樹脂株式会社
代理人
弁理士法人藤本パートナーズ
意匠に係る物品の説明
この意匠に係る物品は、例えば、使用状態を示す参考図に示すように、高速道路や鉄道の高架構造体の下面部に、点検や保守等の作業のための常設足場として用いられるものであり、鉄道や車両等の走行に伴う騒音を遮音及び吸音することができるものである。
意匠の説明
左側面図は右側面図と対称にあらわれる。
この意匠をJ-PlatPat(特許庁公式サイト)で参照する
関連意匠
首都高メンテナンス東東京株式会社
足場板
2日前
首都高メンテナンス東東京株式会社
足場板
2日前
株式会社トーキンオール
鋼管
4か月前
四国プランニング株式会社
止水板
10か月前
理研興業株式会社
防雪板
5か月前
首都高メンテナンス東東京株式会社
足場板
2日前
理研興業株式会社
防雪板
5か月前
株式会社サンゲツ
排水具
6か月前
株式会社サンゲツ
排水具
6か月前
個人
集水桝
11か月前
株式会社大林組
藻場礁
7か月前
株式会社大林組
藻場礁
7か月前
理研興業株式会社
防雪板
10か月前
フジ鋼業株式会社
止水体
5か月前
昭和機械商事株式会社
布団篭
11か月前
首都高メンテナンス東東京株式会社
足場板
2日前
株式会社大林組
植栽帯
2か月前
株式会社カクマル
境界杭
8か月前
未来工業株式会社
分水栓
4日前
未来工業株式会社
分水栓
4日前
日工株式会社
防水板
9日前
四国プランニング株式会社
止水板
10か月前
日工株式会社
防水板
9日前
共和ハーモテック株式会社
かご枠
8か月前
理研興業株式会社
防雪板
10か月前
理研興業株式会社
防雪板
10か月前
理研興業株式会社
防雪板
10か月前
理研興業株式会社
防雪板
10か月前
A&Kホンシュウ株式会社
側溝用蓋
6か月前
カツデン株式会社
車止め具
2か月前
揖斐川工業株式会社
積ブロック
5か月前
揖斐川工業株式会社
積ブロック
3か月前
揖斐川工業株式会社
積ブロック
3か月前
日本植生株式会社
植生マット
3か月前
株式会社サンゲツ
植栽設置棚
6か月前
東日本旅客鉄道株式会社
基礎構造物
8か月前
続きを見る
他の意匠を見る