TOP
|
特許
|
意匠
|
商標
特許ウォッチ
Twitter
他の特許を見る
10個以上の画像は省略されています。
公開番号
2025015339
公報種別
公開特許公報(A)
公開日
2025-01-30
出願番号
2023118692
出願日
2023-07-20
発明の名称
組立家具
出願人
個人
代理人
個人
主分類
A47B
47/04 20060101AFI20250123BHJP(家具;家庭用品または家庭用設備;コーヒーひき;香辛料ひき;真空掃除機一般)
要約
【課題】 組立性に優れ、耐荷重性に優れた組立家具を提供する。
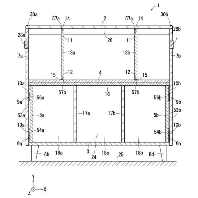
【解決手段】 組立家具1は、天板2と、棚板4と、地板3と、一対の第1側板5a,5bと、一対の第2側板7a,7bと、複数の脚部材8a~8dと、を含む。一対の第1側板5a,5bは、棚板4の第1方向Xの両端部と、地板3の第1方向Xの両端部とを連結し、第1方向Xおよび第2方向Yに垂直な第3方向Zの中間部に、第1方向Xに互いに対向する表面とは反対側の表面上で開口し、第2方向Yに延びる嵌合溝6a,6bを有する。一対の第2側板7a,7bは、第1側板5a,5bの嵌合溝6a,6bに臨んで第3方向Zに対向し、かつ第2方向Yに延びる2つの内壁面にそれぞれ接触する2つの側面を有し、第1側板5a,5bから第2方向Yに突出して天板2の第1方向Xの両端部にそれぞれ連結される一端部を有する。複数の脚部材8a~8dは、地板3に固定される。
【選択図】 図1
特許請求の範囲
【請求項1】
第1方向に延びる天板と、
前記第1方向に延び、前記天板に対して前記第1方向に垂直な第2方向に前記天板との間に間隔をあけて位置する棚板と、
前記第1方向に延び、前記棚板に対して前記第2方向に前記棚板との間に間隔をあけて位置する地板と、
前記棚板の前記第1方向の両端部と、前記地板の前記第1方向の両端部とを連結する一対の第1側板であって、前記第1方向および前記第2方向に垂直な第3方向の中間部に、前記第1方向に互いに対向する表面とは反対側の表面上で開口し、前記第2方向に延びる嵌合溝を有する一対の第1側板と、
前記第1側板の前記嵌合溝に臨んで前記第3方向に対向し、かつ前記第2方向に延びる2つの内壁面にそれぞれ接触する2つの側面を有し、前記第1側板から前記第2方向に突出して前記天板の前記第1方向の両端部にそれぞれ連結される一端部を有する一対の第2側板と、
前記地板に固定される複数の脚部材と、を含むことを特徴とする組立家具。
続きを表示(約 370 文字)
【請求項2】
前記一対の第1側板の前記嵌合溝に前記第1方向に臨む内面に固定され、前記内面から離反するように傾斜し、前記第3方向に延びる第1支持面を有する一対の第1掛止め部材と、
前記一対の第2側板の前記第1方向に互いに対向する表面に固定され、前記一対の第1掛止め部材の前記第1支持面に平行な第2支持面を有する一対の第2掛止め部材と、をさらに含むこと特徴とする請求項1に記載の組立家具。
【請求項3】
前記天板と前記棚板との間に介在され、前記天板および前記棚板にそれぞれ対向する端面に開口し、前記第3方向に延びる長溝が設けられる隔壁部材と、
前記天板および前記棚板にそれぞれ固定され、前記長溝に嵌まり込んだ状態で前記第3方向に延びる突条と、をさらに含むことを特徴とする請求項1または2に記載の組立家具。
発明の詳細な説明
【技術分野】
【0001】
本発明は、物品を収納するための収納ボックスなどとして用いられる組立家具に関する。
続きを表示(約 1,800 文字)
【背景技術】
【0002】
従来技術の組立家具は、たとえば特許文献1に記載されている。この従来技術では、複数の矩形板と、複数の棒状のジョイント部材と、複数の連結具とを備える。矩形板とジョイント部材とは、係合片によって連結され、4つの矩形板によって四角形の収納ボックスが構成される。このような収納ボックスは、連結具によって組立てられた収納ボックスの上または隣に他の収納ボックスを連結することによって組立てられる。
【先行技術文献】
【特許文献】
【0003】
特開2010- 88624号公報
【発明の概要】
【発明が解決しようとする課題】
【0004】
特許文献1の従来技術では、矩形板とジョイント部材とは係合片によって連結され、収納ボックス同士が連結具によって連結されるので、重量物または衝撃力などの大きな荷重が収容ボックスに作用すると、連結具が破損し、ジョイント部材と矩形板との連結状態および収容ボックス同士の連結状態が破壊されるおそれがあり、耐荷重性が低いという問題がある。また、複数の矩形板と複数のジョイント部材とを連結するために多数の連結具を差込まなければならず、収納ボックスの組立て作業に手間を要するという問題がある。
【0005】
本発明の目的は、高い耐荷重性を有し、組立性に優れた組立家具を提供することである。
【課題を解決するための手段】
【0006】
本発明は、第1方向に延びる天板と、
前記第1方向に延び、前記天板に対して前記第1方向に垂直な第2方向に前記天板との間に間隔をあけて位置する棚板と、
前記第1方向に延び、前記棚板に対して前記第2方向に前記棚板との間に間隔をあけて位置する地板と、
前記棚板の前記第1方向の両端部と、前記地板の前記第1方向の両端部とを連結する一対の第1側板であって、前記第1方向および前記第2方向に垂直な第3方向の中間部に、前記第1方向に互いに対向する表面とは反対側の表面上で開口し、前記第2方向に延びる嵌合溝を有する一対の第1側板と、
前記第1側板の前記嵌合溝に臨んで前記第3方向に対向し、かつ前記第2方向に延びる2つの内壁面にそれぞれ接触する2つの側面を有し、前記第1側板から前記第2方向に突出して前記天板の前記第1方向の両端部にそれぞれ連結される一端部を有する一対の第2側板と、
前記地板に固定される複数の脚部材と、を含むことを特徴とする組立家具である。
【0007】
また本発明は、前記一対の第1側板の前記嵌合溝に前記第1方向に臨む内面に固定され、前記内面から離反するように傾斜し、前記第3方向に延びる第1支持面を有する一対の第1掛止め部材と、
前記一対の第2側板の前記第1方向に互いに対向する表面に固定され、前記一対の第1掛止め部材の前記第1支持面に平行な第2支持面を有する一対の第2掛止め部材と、をさらに含むこと特徴とする。
【0008】
また本発明は、前記天板と前記棚板との間に介在され、前記天板および前記棚板にそれぞれ対向する端面に開口し、前記第3方向に延びる長溝が設けられる隔壁部材と、
前記天板および前記棚板にそれぞれ固定され、前記長溝に嵌まり込んだ状態で前記第3方向に延びる突条と、をさらに含むことを特徴とする。
【発明の効果】
【0009】
本発明によれば、第2側板が第1側板の嵌合溝に嵌合され、地板の第1方向の両端部と棚板の第1方向の両端部とが第1側板によって連結され、地板の第1方向の両端部と天板の第1方向の両端部とが第2側板によって連結されるので、組立作業が容易であり、耐荷重性に優れた組立家具を提供することができる。
【0010】
また本発明によれば、第1側板に第1掛止め部材が固定され、第2側板に第2掛止め部材が固定されるので、第2側板を嵌合溝に嵌合させることによって、第1掛止め部材に第2掛止め部材が掛止められ、第1側板と第2側板とが高い強度で連結される。これによって天板および棚板の耐荷重性が向上され、耐加重性に優れた組立家具を提供することができる。
(【0011】以降は省略されています)
特許ウォッチbot のツイートを見る
この特許をJ-PlatPat(特許庁公式サイト)で参照する
関連特許
個人
椅子
1か月前
個人
家具
3か月前
個人
自助箸
5か月前
個人
掃除機
7か月前
個人
枕
4か月前
個人
枕
7か月前
個人
掃除道具
7か月前
個人
掃除用具
2か月前
個人
屋外用箒
6か月前
個人
体洗い具
9か月前
個人
ソファー
22日前
個人
耳拭き棒
9か月前
個人
ハンガー
5か月前
個人
省煙消臭器
7か月前
個人
組立式棚板
6か月前
個人
掃除シート
8か月前
個人
エコ掃除機
10か月前
個人
物品
1か月前
個人
片手代替具
10か月前
個人
開閉トング
5か月前
個人
中身のない枕
6か月前
個人
ゴミ袋保持枠
5か月前
個人
シャワー装置
4か月前
個人
転倒防止装置
3か月前
個人
紙コップ 蓋
1か月前
個人
靴ベラ
1か月前
個人
洗面台
9か月前
個人
経典表示装置
3か月前
個人
折り畳み椅子
12か月前
個人
受け皿
4か月前
個人
首支持具
2か月前
個人
コーナーシール
8か月前
個人
矯正用枕
2か月前
個人
簡易防災トイレ
12日前
個人
コーヒー抽出器
2か月前
個人
補助寝具
7か月前
続きを見る
他の特許を見る