TOP
|
特許
|
意匠
|
商標
特許ウォッチ
Twitter
他の特許を見る
公開番号
2025025075
公報種別
公開特許公報(A)
公開日
2025-02-21
出願番号
2023129525
出願日
2023-08-08
発明の名称
鉄道車両
出願人
日本製鉄株式会社
代理人
アセンド弁理士法人
主分類
B61F
1/00 20060101AFI20250214BHJP(鉄道)
要約
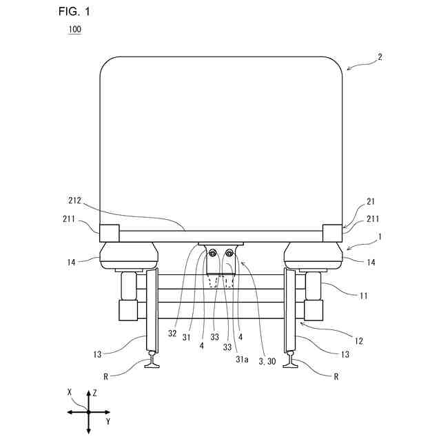
【課題】簡易な構成で、配管の設置作業の負担を軽減することができる鉄道車両を提供する。
【解決手段】鉄道車両(100)は、台車(1)と、車体(2)と、接続部材(3)と、配管(4)とを備える。車体(2)は、台車(1)上に支持される。接続部材(3)は、車体(2)の底に取り付けられ、下方に向けて突出し、台車(1)に対して接続される。接続部材(3)は、前後方向(X)に沿って貫通穴(33)を有する。配管(4)は、接続部材(3)の貫通穴(33)を挿通する。接続部材(3)は好ましくは中心ピン(30)である。
【選択図】図1
特許請求の範囲
【請求項1】
台車と、
前記台車上に支持された車体と、
前記車体の底に取り付けられ、下方に向けて突出し、前記台車に対して接続される接続部材であって、前後方向に沿って貫通穴を有する前記接続部材と、
前記接続部材の前記貫通穴を挿通する配管と、
を備える、鉄道車両。
続きを表示(約 290 文字)
【請求項2】
請求項1に記載の鉄道車両であって、
前記貫通穴は、前記接続部材の上方に開口するように、前記接続部材の上部に設けられている、鉄道車両。
【請求項3】
請求項1又は2に記載の鉄道車両であって、
前記接続部材は、中心ピンである、鉄道車両。
【請求項4】
請求項1又は2に記載の鉄道車両であって、
前記接続部材は、ボルスタアンカ用のブラケットである、鉄道車両。
【請求項5】
請求項1又は2に記載の鉄道車両であって、
前記接続部材は、ヨーダンパ用のブラケットである、鉄道車両。
発明の詳細な説明
【技術分野】
【0001】
本開示は、鉄道車両に関する。
続きを表示(約 1,500 文字)
【背景技術】
【0002】
鉄道車両(以下、単に「車両」とも言う。)は、台車と、車体とを備える。台車は、通常、車体の前側及び後側にそれぞれ配置されている。車体は、各台車上に配置された左右一対の空気ばねによって支持されている。一般に、複数の車両が連結されて、レール上を走行する。車両同士の連結は、連結器によって維持される。連結器は、車体の前端梁及び後端梁にそれぞれ結合されている。
【0003】
鉄道車両において、空気ばねの動力は圧縮空気である。圧縮空気は、コンプレッサで生成される。生成された圧縮空気は、空気溜めに蓄積される。空気溜め内の圧縮空気が空気ばねに供給される。コンプレッサ及び空気溜めは、例えば、車体下部の前後方向の中央に配置される。空気溜め内の圧縮空気は、車両が備える様々な機器の動力として利用される。例えば、連結器の動力として圧縮空気が利用される。その他に、ドアの開閉、パンタグラフの昇降、及びブレーキ等の動力として圧縮空気が利用される。
【0004】
圧縮空気を利用する機器に圧縮空気を供給するため、圧縮空気を輸送する配管が不可欠である。また、車両は、様々な電子機器に電気や電気信号を伝送する電線を備えるため、電線を保護する配管(電線管)が不可欠である。例えば、車両の前後方向中央に艤装された空気溜めと、車両の端に艤装された連結器とをつなぐ圧縮空気用の配管は、台車と車体との間に形成される隙間に通される。しかしながら、台車と車体との間の隙間は、台車の前後方向の中央部付近で極端に狭くなっている。空気ばね、中心ピン、及び牽引装置などの多くの部品が密集しているからである。台車と車体との間の狭い隙間に配管を通す作業は、作業者にとって慎重さを要する負担の大きい作業である。
【0005】
特開2022-165482号公報(特許文献1)は、そのような配管の設置作業を容易にする技術を開示する。従来の一般的な技術では、車体の台枠は、左右一対の側梁と、前端梁と、後端梁と、各台車に対応する枕梁と含む。これに対して特許文献1の技術では、台枠は、さらに、前後方向に延在する中梁を含む。中梁は、車両の左右方向の中央に配置され、枕梁と交差している。枕梁は、中梁の近傍において台枠の外部に開放された段差部を有している。このように枕梁に形成された段差部により、配管を通すスペースが確保される。
【先行技術文献】
【特許文献】
【0006】
特開2022-165482号公報
【発明の概要】
【発明が解決しようとする課題】
【0007】
特許文献1の技術では、一般的な技術に対し、部品点数が中梁の分だけ増加する。さらに、中梁の追加に伴って、枕梁の設計変更のみならず、台枠そのものの大幅な設計変更が必要となる。
【0008】
本開示の目的は、簡易な構成で、配管の設置作業の負担を軽減することができる鉄道車両を提供することである。
【課題を解決するための手段】
【0009】
本開示に係る鉄道車両は、台車と、車体と、接続部材と、配管とを備える。車体は、台車上に支持される。接続部材は、車体の底に取り付けられ、下方に向けて突出し、台車に対して接続される。接続部材は、前後方向に沿って貫通穴を有する。配管は、接続部材の貫通穴を挿通する。
【発明の効果】
【0010】
本開示に係る鉄道車両によれば、簡易な構成で、配管の設置作業の負担を軽減することができる。
【図面の簡単な説明】
(【0011】以降は省略されています)
この特許をJ-PlatPat(特許庁公式サイト)で参照する
関連特許
日本製鉄株式会社
線材
2日前
日本製鉄株式会社
鋼部品
8日前
日本製鉄株式会社
床構造
17日前
日本製鉄株式会社
床構造
17日前
日本製鉄株式会社
ボルト
17日前
日本製鉄株式会社
剪断機
17日前
日本製鉄株式会社
鋼部品
8日前
日本製鉄株式会社
橋脚構造
6日前
日本製鉄株式会社
構造部材
27日前
日本製鉄株式会社
溶接継手
今日
日本製鉄株式会社
管理装置
1か月前
日本製鉄株式会社
鍛鋼ロール
7日前
日本製鉄株式会社
リクレーマ
1か月前
日本製鉄株式会社
耐火構造物
29日前
日本製鉄株式会社
耐火構造物
29日前
日本製鉄株式会社
耐火構造物
29日前
日本製鉄株式会社
鍛鋼ロール
7日前
日本製鉄株式会社
腐食センサ
6日前
日本製鉄株式会社
学習システム
9日前
日本製鉄株式会社
転炉精錬方法
27日前
日本製鉄株式会社
高Ni合金鋼
6日前
日本製鉄株式会社
高Ni合金鋼
6日前
日本製鉄株式会社
管理システム
6日前
日本製鉄株式会社
高Ni合金板
1か月前
日本製鉄株式会社
高炉の冷却構造
1か月前
日本製鉄株式会社
高炉の操業方法
1か月前
日本製鉄株式会社
原油油槽用鋼材
2日前
日本製鉄株式会社
高炉の操業方法
1か月前
日本製鉄株式会社
高炉の操業方法
8日前
日本製鉄株式会社
溶鉄の製造方法
8日前
日本製鉄株式会社
鉄道車両用の台車
9日前
日本製鉄株式会社
鉄道車両用の車軸
今日
日本製鉄株式会社
鋼の連続鋳造方法
13日前
日本製鉄株式会社
合成梁及び床構造
27日前
日本製鉄株式会社
モールドパウダー
7日前
日本製鉄株式会社
合成梁及び床構造
27日前
続きを見る
他の特許を見る