TOP
|
特許
|
意匠
|
商標
特許ウォッチ
Twitter
他の特許を見る
10個以上の画像は省略されています。
公開番号
2025035570
公報種別
公開特許公報(A)
公開日
2025-03-14
出願番号
2023142696
出願日
2023-09-04
発明の名称
火葬設備
出願人
株式会社カトー
代理人
個人
,
個人
主分類
F23G
1/00 20060101AFI20250307BHJP(燃焼装置;燃焼方法)
要約
【課題】昇降機構を備えた火葬設備であって、複数の被火葬体の焼却作業をより効率的に行うことができる火葬設備を提供することを課題とする。
【解決手段】火葬室と、前記火葬室に配置され且つ被火葬体を載置する焼却台と、前記被火葬体を前記火葬室から出し入れする出入口と、前記焼却台を昇降する昇降機構と、を備え、前記焼却台は上下に並べて複数配置され、前記昇降機構による昇降によって前記出入口の高さに位置させる前記焼却台を切り換える構造としたことを特徴とする。
【選択図】図1
特許請求の範囲
【請求項1】
火葬室と、
前記火葬室に配置され且つ被火葬体を載置する焼却台と、
前記被火葬体を前記火葬室から出し入れする出入口と、
前記焼却台を昇降する昇降機構と、を備え
前記焼却台は上下に並べて複数配置され、
前記昇降機構による昇降によって前記出入口の高さに位置させる前記焼却台を切り換える構造とした
ことを特徴とする火葬設備。
続きを表示(約 570 文字)
【請求項2】
前記焼却台は、水平方向又はそれに沿う方向に移動可能な可動台である
請求項1に記載の火葬設備。
【請求項3】
前記焼却台は、水平方向又はそれに沿う方向が規制又は禁止された固定台である
請求項1に記載の火葬設備。
【請求項4】
前記焼却台は、前記被火葬体を直接載置するか、或いは、前記被火葬体が納められた棺を載置することが可能に構成された
請求項2又は3の何れかに記載の火葬設備。
【請求項5】
単一の前記火葬室に配置され且つ複数の前記焼却台が取り付け支持される支持フレームをさらに備え、
前記昇降機構は、前記支持フレームを、それに取り付けされた複数の前記焼却台と共に昇降させるように構成された
請求項1に記載の火葬設備。
【請求項6】
複数の火葬炉をさらに備え、前記火葬炉の内部には前記火葬室が形成され、
複数の前記火葬炉は、上下に並べて配置され、
前記昇降機構は、複数の前記火葬炉を一体的に昇降させるように構成された
請求項1に記載の火葬設備。
【請求項7】
前記火葬室で発生したガスを含む気体が流入し且つ該気体を再燃焼させる燃焼室をさらに備えた
請求項1に記載の火葬設備。
発明の詳細な説明
【技術分野】
【0001】
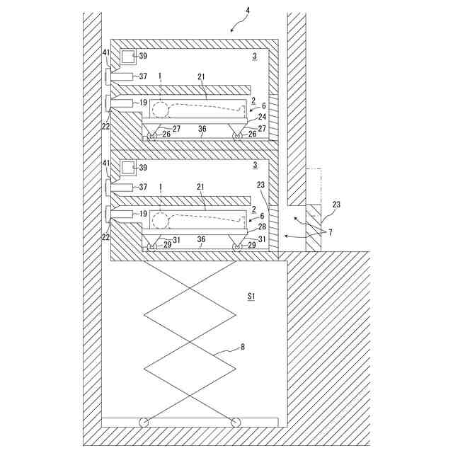
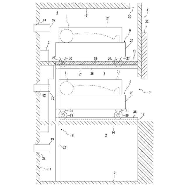
本発明は、昇降機構を備えた火葬設備に関する。
続きを表示(約 990 文字)
【背景技術】
【0002】
火葬室と、前記火葬室に配置され且つ被火葬体を載置する焼却台と、前記被火葬体を前記焼却室から出し入れする出入口と、前記焼却台を昇降する昇降機構と、を備えた特許文献1に記載の火葬設備が従来公知である。
【0003】
上記文献の火葬設備によれば、前記昇降機構による焼却台の昇降により、前記出入口から離れた場所で被火葬体を焼却するため、焼却に伴う臭気や熱気が外部に漏れることを防止することができる一方で、単一の被火葬体の焼却作業を前提とした構造であるため、複数の被火葬体の焼却作業を効率的に行うことが難しいという欠点がある。
【先行技術文献】
【特許文献】
【0004】
特開2006-343081号公報
【発明の概要】
【発明が解決しようとする課題】
【0005】
本発明は、昇降機構を備えた火葬設備であって、複数の被火葬体の焼却作業をより効率的に行うことができる火葬設備を提供することを課題とする。
【課題を解決するための手段】
【0006】
上記課題を解決するため、火葬室と、前記火葬室に配置され且つ被火葬体を載置する焼却台と、前記被火葬体を前記火葬室から出し入れする出入口と、前記焼却台を昇降する昇降機構と、を備え、前記焼却台は上下に並べて複数配置され、前記昇降機構による昇降によって前記出入口の高さに位置させる前記焼却台を切り換える構造としたことを特徴とする。
【0007】
前記焼却台は、水平方向又はそれに沿う方向に移動可能な可動台としてもよい。
【0008】
前記焼却台は、水平方向又はそれに沿う方向が規制又は禁止された固定台としてもよい。
【0009】
前記焼却台は、前記被火葬体を直接載置するか、或いは、前記被火葬体が納められた棺を載置することが可能に構成されたものとしてもよい。
【0010】
単一の前記火葬室に配置され且つ複数の前記焼却台が取り付け支持される支持フレームをさらに備え、前記昇降機構は、前記支持フレームを、それに取り付けされた複数の前記焼却台と共に昇降させるように構成されたものとしてもよい。
(【0011】以降は省略されています)
この特許をJ-PlatPat(特許庁公式サイト)で参照する
関連特許
個人
燃焼炉の操業方法
1か月前
個人
煙突煤払い掃除機
2か月前
個人
ウッドガスストーブ
16日前
コーキ株式会社
煙突
1か月前
個人
形見の製造方法
22日前
株式会社トヨトミ
石油燃焼器
10日前
株式会社豊田自動織機
耐熱部材
1か月前
株式会社パロマ
燃焼装置
3か月前
株式会社トヨトミ
固体燃料燃焼器
4か月前
株式会社オメガ
熱風発生装置
5か月前
株式会社サイトウ工研
焚き火台
7日前
三浦工業株式会社
ボイラ
4か月前
個人
回転キルンを利用した燻炭製造方法
4か月前
株式会社フクハラ
充填物処理方法
3か月前
東京パイプ株式会社
着火器具
2か月前
株式会社タクマ
付着物除去システム
3か月前
大陽日酸株式会社
バーナ
5か月前
大陽日酸株式会社
バーナ
5か月前
三浦工業株式会社
燃焼システム
7日前
大陽日酸株式会社
バーナ
5か月前
リンナイ株式会社
燃焼装置
4か月前
山形化成工業株式会社
手持ち式着火用具
1か月前
大阪瓦斯株式会社
燃焼装置
9日前
リンナイ株式会社
予混合装置
6か月前
株式会社アドバンテック
燃焼装置
28日前
株式会社アドバンテック
燃焼装置
28日前
株式会社アドバンテック
燃焼装置
28日前
三浦工業株式会社
水素燃焼ボイラ
29日前
大陽日酸株式会社
燃焼バーナ
1か月前
三菱重工業株式会社
清掃装置
15日前
個人
可燃性ガス燃焼装置
3か月前
株式会社日本サーモエナー
ガスバーナ
3か月前
株式会社パロマ
給湯器
3か月前
トヨタ自動車株式会社
燃焼ノズル
2か月前
株式会社パロマ
給湯器
3か月前
極東開発工業株式会社
バイオマス燃焼システム
7日前
続きを見る
他の特許を見る