TOP
|
特許
|
意匠
|
商標
特許ウォッチ
Twitter
他の特許を見る
公開番号
2025085563
公報種別
公開特許公報(A)
公開日
2025-06-05
出願番号
2023209702
出願日
2023-11-26
発明の名称
冷感おしぼりタオル
出願人
個人
代理人
主分類
A47K
7/00 20060101AFI20250529BHJP(家具;家庭用品または家庭用設備;コーヒーひき;香辛料ひき;真空掃除機一般)
要約
【課題】冷感覚が持続する冷感おしぼりタオルを提供することを目的とする。
【解決手段】タオル地に透水抑制膜を合わせ、透水抑制膜を内側にポケット状に縫合して、重力下において水分を貯留出来る透水抑制膜ポケットを形成する。透水抑制膜ポケットに貯留した水分は、絞り圧力を加えることにより透水抑制膜より水分が浸み出し外側のタオル地を冷たく湿らせる。解け残った氷塊がポケット内部に残ることで冷感覚が持続する冷感おしぼりタオルとなる。引き続き氷塊が解け水分が貯留した処で絞りを繰り返す事で、冷感覚が持続する冷感おしぼりタオルとなる。
【選択図】図1
特許請求の範囲
【請求項1】
透水抑制膜ポケットを形成して、重力下において水分を透水抑制膜ポケット内に貯留させ、絞り圧力を加えることにより透水抑制膜より水分が浸み出す冷感おしぼりタオル。
続きを表示(約 68 文字)
【請求項2】
ポケットの開口部は、氷塊投入口を広く、氷塊通過部を狭く、漏斗状の構造とする請求項1の冷感おしぼりタオル。
発明の詳細な説明
【技術分野】
【0001】
本発明は、冷感おしぼりタオルに関するものである。
続きを表示(約 1,100 文字)
【背景技術】
【0002】
従来の冷感おしぼりタオルは、氷水中で絞ったタオルが一般的である。又、湿らせたタオルを冷蔵庫で冷やした物がある。
【発明の概要】
【発明が解決しようとする課題】
【0003】
高温環境下のスポーツ時や肉体労働時では体温上昇に伴い発汗します。このような時に使用する従来の冷感おしぼりタオルは、氷水中で絞ったタオル、湿らせたタオルを冷蔵庫で冷やした物があるが、冷感覚は一時的である。本発明は、この問題点を解決する、冷感覚が持続する冷感おしぼりタオルを提供することを目的とする。
【課題を解決するための手段】
【0004】
本発明の冷感おしぼりタオルは、タオル地に透水抑制膜を合わせ、タオル地、透水抑制膜、透水抑制膜、タオル地の順に縫合し、透水抑制膜ポケットを形成して水分を重力下において透水抑制膜ポケット内に貯留させる。
【0005】
透水抑制膜ポケットに貯留した水分は、透水抑制膜に絞り圧力を加えることにより水分が浸み出して外側のタオル地を湿らせる。
【0006】
本発明の冷感おしぼりタオルの上辺開口部は、氷塊投入口を広く、氷塊通過部を狭く縫合して漏斗状の構造にする。
【発明の効果】
【0007】
第一の発明によれば、
氷塊が適度に解け透水抑制膜ポケットに水分が貯留する。貯留した水分は、ポケットに絞り圧力を加えることで透水抑制膜から浸み出し外側のタオル地を冷たく湿らせる。解け残った氷塊が内部に残ることで冷感覚が持続する。引き続き氷塊が解け内部に水分が貯留したところで、絞り圧力を加えタオル地を冷たく湿らせる。これを繰り返す事で持続性のある冷感おしぼりタオルが得られる。
【0008】
第二の発明によれば
上辺開口部の氷塊投入口を漏斗状の構造とすることで、投入された氷塊は冷感おしぼりタオルのポケットから脱出し難いことで持続性のある冷感おしぼりタオルを提供することができる。
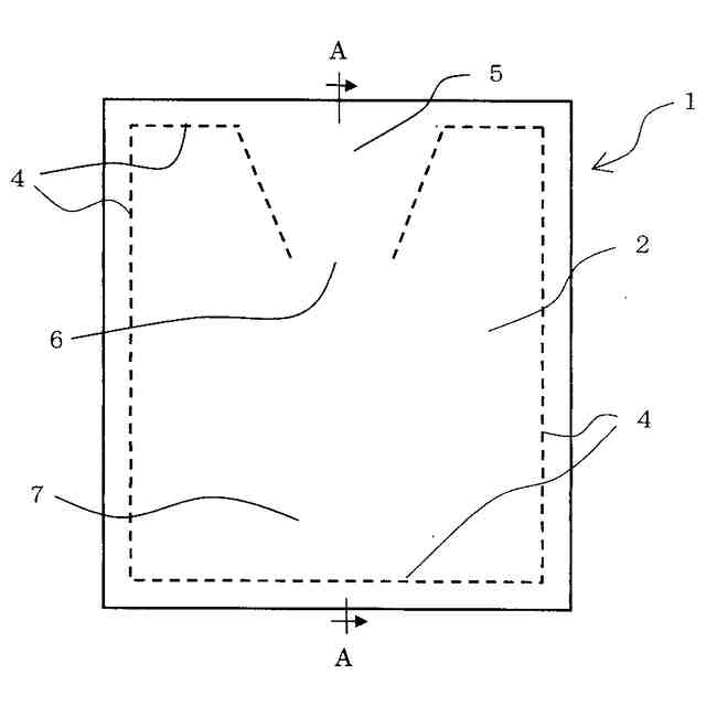
【図面の簡単な説明】
【0009】
本発明に係る、冷感おしぼりタオルの平面図である。
図1のA-A線に沿った氷塊を投入していない状態の断面図である。
【発明を実施するための形態】
【0010】
図1は、本発明に掛かる、冷感おしぼりタオル(1)の一例である。図2は、図1のA-A線に沿った氷塊を投入していない状態の断面図で、構造を概略に示している。
(【0011】以降は省略されています)
この特許をJ-PlatPat(特許庁公式サイト)で参照する
関連特許
個人
箸
2日前
個人
椅子
1か月前
個人
家具
3か月前
個人
掃除機
7か月前
個人
自助箸
5か月前
個人
耳拭き棒
10か月前
個人
体洗い具
9か月前
個人
掃除道具
7か月前
個人
枕
7か月前
個人
ハンガー
6か月前
個人
ソファー
27日前
個人
屋外用箒
6か月前
個人
枕
4か月前
個人
掃除用具
2か月前
個人
掃除シート
8か月前
個人
開閉トング
5か月前
個人
エコ掃除機
10か月前
個人
組立式棚板
6か月前
個人
物品
1か月前
個人
省煙消臭器
7か月前
個人
片手代替具
10か月前
個人
中身のない枕
6か月前
個人
ゴミ袋保持枠
6か月前
個人
受け皿
4か月前
個人
転倒防止装置
4か月前
個人
シャワー装置
5か月前
個人
靴ベラ
1か月前
個人
紙コップ 蓋
1か月前
個人
バターナイフ
2日前
個人
経典表示装置
3か月前
個人
洗面台
9か月前
個人
ホバー掃除機。
4か月前
個人
コーナーシール
8か月前
個人
矯正用枕
3か月前
個人
コーヒー抽出器
2か月前
個人
食事用具
11か月前
続きを見る
他の特許を見る