TOP
|
特許
|
意匠
|
商標
特許ウォッチ
Twitter
他の特許を見る
公開番号
2025115452
公報種別
公開特許公報(A)
公開日
2025-08-07
出願番号
2024009911
出願日
2024-01-26
発明の名称
補強された土構造物、及び土構造物補強方法
出願人
株式会社安藤・間
,
国立大学法人京都大学
,
ナカダ産業株式会社
代理人
弁理士法人 武政国際特許商標事務所
主分類
E02B
3/10 20060101AFI20250731BHJP(水工;基礎;土砂の移送)
要約
【課題】本願発明の課題は、従来技術が抱える問題を解決することであり、すなわち、従来技術に比して容易に施工することができる「補強された土構造物」と、その補強された土構造物を構築する方法を提供することである。
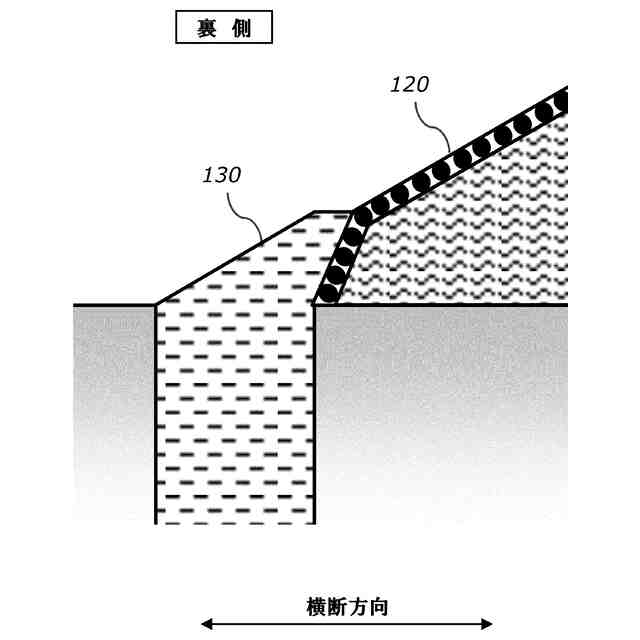
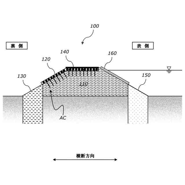
【解決手段】本願発明の補強された土構造物は、表側が湛水される土構造物であって、本体部と透水性改良体、被覆体を備えたものである。透水性改良体は、セメントと骨材を含む材料によって形成され、本体部よりも透水性が高いものである。被覆体は、袋材の内部に石材が中詰めされたものである。透水性改良体はのり尻を含む裏側のり面の一部に形成され、被覆体は裏側のり面と天端面に設置される。本体部の横断方向には1連の被覆体が設置され、変形自在とされた被覆体は裏側のり面の形状に沿うように設置される。
【選択図】図2
特許請求の範囲
【請求項1】
表側が湛水される土構造物であって、
裏側のり面と天端面が形成された本体部と、
セメントと骨材を含む材料によって形成され、前記本体部よりも透水性が高い透水性改良体と、
袋材の内部に石材が中詰めされた被覆体と、を備え、
前記透水性改良体は、のり尻を含む前記裏側のり面の一部に形成され、
前記被覆体は、前記裏側のり面、及び前記天端面に設置され、
前記本体部の横断方向には1連の前記被覆体が設置され、
変形自在である前記袋材を用いることによって変形自在とされた前記被覆体が、前記裏側のり面と前記天端面の形状に沿うように設置された、
ことを特徴とする補強された土構造物。
続きを表示(約 1,000 文字)
【請求項2】
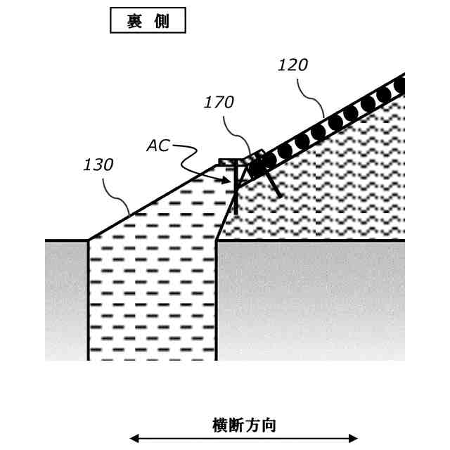
前記被覆体の下端部と、前記透水性改良体の上端部と、を突き合わせた状態で、該被覆体と該透水性改良体が連結された、
ことを特徴とする請求項1記載の補強された土構造物。
【請求項3】
前記被覆体の一部を前記透水性改良体に重ねた状態で、該被覆体と該透水性改良体が連結された、
ことを特徴とする請求項1記載の補強された土構造物。
【請求項4】
前記被覆体の一部が、前記透水性改良体の下方に潜り込むように配置された、
ことを特徴とする請求項3記載の補強された土構造物。
【請求項5】
前記被覆体と前記透水性改良体との接続部に板状の連結板が配置されるとともに、該連結板がアンカーによって固定され、
前連結板を介して、前記被覆体と前記透水性改良体が連結された、
ことを特徴とする請求項1記載の補強された土構造物。
【請求項6】
前記被覆体と前記透水性改良体との接続部にシート状の連結シートが配置され、
前記連結シートと前記被覆体は、紐材で縫い合わせることで固定され、
前記連結シートと前記透水性改良体は、接着剤又はアンカーによって固定される、
ことを特徴とする請求項1記載の補強された土構造物。
【請求項7】
前記天端面に配置された前記被覆体を路盤材とし、該路盤材の上面に舗装が施された天端道路を、さらに備えた、
ことを特徴とする請求項1記載の補強された土構造物。
【請求項8】
表側が湛水される既設の土構造物を補強する方法であって、
前記土構造物のうちのり尻を含む裏側のり面の一部に、セメントと骨材を含む材料を用いて該土構造物よりも透水性が高い透水性改良体を形成する透水性改良体形成工程と、
前記土構造物のうち前記裏側のり面、及び天端面に、袋材の内部に石材が中詰めされた被覆体を設置する被覆体形成工程と、
前記被覆体形成工程では、前記土構造物の本体部の横断方向に1連の前記被覆体を設置し、
また前記被覆体形成工程では、変形自在である前記袋材を用いることによって変形自在とされた前記被覆体を、前記裏側のり面と前記天端面の形状に沿うように設置する、
ことを特徴とする土構造物補強方法。
発明の詳細な説明
【技術分野】
【0001】
本願発明は、河川や海岸、ため池などにおける堤防や防潮堤、えん堤といった土構造物に関する技術であり、より具体的には、袋材の内部に石材が中詰めされた「被覆体」と土構造物本体よりも透水係数が高い「透水性改良体」とを用いて補強された「補強された土構造物」と、その被覆体と透水性改良体を用いて土構造物を補強する方法に関するものである。
続きを表示(約 1,900 文字)
【背景技術】
【0002】
高度経済成長期に集中的に整備されてきた建設インフラストラクチャー(以下、「建設インフラ」という。)は、既に相当な老朽化が進んでいることが指摘されている。平成26年には「道路の老朽化対策の本格実施に関する提言(社会資本整備審議会)」がとりまとめられ、平成24年の笹子トンネルの例を挙げて「近い将来、橋梁の崩落など人命や社会装置に関わる致命的な事態を招くであろう」と警鐘を鳴らし、建設インフラの維持管理の重要性を強く唱えている。このような背景のもと、国は道路法施行規則の一部を改正する省令を公布し、具体的な建設インフラの点検方法、主な変状の着目箇所、判定事例写真などを示した定期点検要領を策定している。
【0003】
代表的な建設インフラとしては、ダムや橋梁といった構造物のほか、海岸堤防や河川堤防、防潮堤などを挙げることができる。我が国の海岸線の総延長は、約35,000kmと世界でも6番目に長く、当然ながら海岸保全地区など必要箇所には海岸堤防が構築されており、その機能はもとより膨大な延長があるという点からも極めて重要な建設インフラといえる。
【0004】
海岸堤防は、基本的には海岸法(昭和三十一年五月十二日法律第百一号)にしたがって計画され構築されている。この海岸法は、愛知県を中心に甚大な被害を受けた昭和28年9月の台風13号が契機となり昭和31年に制定された。つまり多くの海岸堤防は、構築されて以降すでに相当の期間が経過しており、2010年時点でおよそ4割の施設が50年以上経過しているといわれている。そのため、海岸堤防の劣化診断を行うための点検がますます重要視されているところである.
【0005】
河川や海岸等における堤防や防潮堤など(以下、総称して「土構造物」という。)は、盛土を行うことによって構築されるのが一般的であり、断面(堤体延長方向に対して直角な横断面)視が概ね台形であって、河川や海がある堤外地側(以下、「表側」という。)と堤内地側(以下、「裏側」という。)それぞれにのり面が形成される。
【0006】
土構造物が盛土体であることから、特に表側のり面ののり尻(のり面の下端)付近における洗掘や、越流水によって裏側で発生する洗堀、土構造物の裏側で生じるパイピング、浸透水による盛土本体(つまり堤体)の強度劣化(以下、「浸透破壊」という。)といった現象は常に懸念されるところである。ましてや多くの土構造物は完成から相当の年月が経過していることから、既に洗掘され、パイピングが生じ、あるいは浸透破壊が進行しているものも少なくないと考えられる。
【0007】
また、現地の状況によっては、砂や砂質土からなる透水性地盤や、液状化層を含む地盤など、軟弱層の上に土構造物が構築されることもあり、この場合は、地震時によって基礎地盤が液状化することで土構造物そのものも不安定化するおそれがある。
【0008】
著しい洗掘等が生じた土構造物に対しては、補強対策が実施される。従来、土構造物を補強する工法としては、表側、裏側ともにのり面の表面(つまり堤体の外側)に止水性の地盤改良体や鋼矢板などの構造体を形成する工法が主流であった。しかしながら、この地盤改良体を形成するには、三点式杭打機を使用した深層混合処理など比較的大規模な施工機械を配置するスペースが必要となり、そのため対象となる延長を考えると相当のコストや工期を要し、容易に事業化することができないという問題もある。
【0009】
さらに、表側、裏側ともに止水性の地盤改良体を形成するという従来工法では、止水性は向上するものの排水機能が著しく低下するため、一旦海水や河川水が堤体内に浸透してしまうと堤体内に浸透水が滞水され、その結果、浸透破壊を生じるおそれがあるという問題も指摘することができる。特に、地震時においては堤体内の浸透水が要因となり、堤体そのものの液状化が生じ、この場合は堤防の変形が長期化することが知られている。
【0010】
そこで特許文献1では、堤体盛土の裏のり面に排水層を設けるとともに、この排水層の外面を被覆層で被覆し、さらに排水層と裏のり面との間に透水シートを配置した堤防補強構造について提案している。また特許文献2では、土構造物本体よりも透水係数が低い「止水性改良体」を表側のり面に形成するとともに、土構造物本体よりも透水係数が高い「透水性改良体」を裏側のり面に形成することによって、土構造物を補強する技術について提案している。
【先行技術文献】
【特許文献】
(【0011】以降は省略されています)
特許ウォッチbot のツイートを見る
この特許をJ-PlatPat(特許庁公式サイト)で参照する
関連特許
千代田工営株式会社
回転貫入杭
今日
株式会社熊谷組
山留壁用親杭
6日前
日立建機株式会社
作業車両
2日前
日立建機株式会社
作業機械
今日
日本車輌製造株式会社
建設機械
2日前
鹿島建設株式会社
接続方法および接続構造
2日前
株式会社竹内製作所
作業用車両
6日前
株式会社竹内製作所
作業用車両
6日前
株式会社竹内製作所
作業用車両
6日前
株式会社竹内製作所
作業用車両
6日前
山形新興株式会社
建築物の基礎及び基礎成形型
1日前
日立建機株式会社
作業機械
6日前
日立建機株式会社
作業機械
6日前
北海道電力株式会社
滞留水への酸素供給方法
1日前
日立建機株式会社
ホイールローダ
6日前
日立建機株式会社
ホイールローダ
6日前
日立建機株式会社
鉱山管理装置及び鉱山管理方法
6日前
日立建機株式会社
作業機械管理システム及び作業機械
1日前
日立建機株式会社
運用管理装置
6日前
日立建機株式会社
映像記録装置
6日前
鹿島建設株式会社
鋼管柱の接合方法、及び鋼管柱
今日
日本製鉄株式会社
鋼管の連結構造および鋼管杭
6日前
清水建設株式会社
変位計測装置および変位計測方法
2日前
日鉄建材株式会社
斜面対策構造
1日前
個人
埋設物の施工方法
2日前
株式会社小松製作所
作業機械の点検支援システム及び点検支援方法
6日前
日本国土開発株式会社
建設機械
1日前
ヤンマーホールディングス株式会社
建設機械
2日前
株式会社小松製作所
表示制御装置、情報端末、表示制御方法、及び表示制御システム
6日前
株式会社 資生堂
グルタチオン産生促進剤
1日前
株式会社 資生堂
RALDH2発現増強剤
1日前
他の特許を見る