TOP
|
特許
|
意匠
|
商標
特許ウォッチ
Twitter
他の特許を見る
公開番号
2025154227
公報種別
公開特許公報(A)
公開日
2025-10-10
出願番号
2024057110
出願日
2024-03-29
発明の名称
作業用車両
出願人
株式会社竹内製作所
代理人
めぶき弁理士法人
主分類
E02F
9/26 20060101AFI20251002BHJP(水工;基礎;土砂の移送)
要約
【課題】ディスプレイ装置の表示画面部の上下方向の角度をオペレータの見やすい角度に調整することが可能な作業用車両を提供すること。
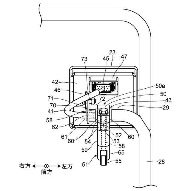
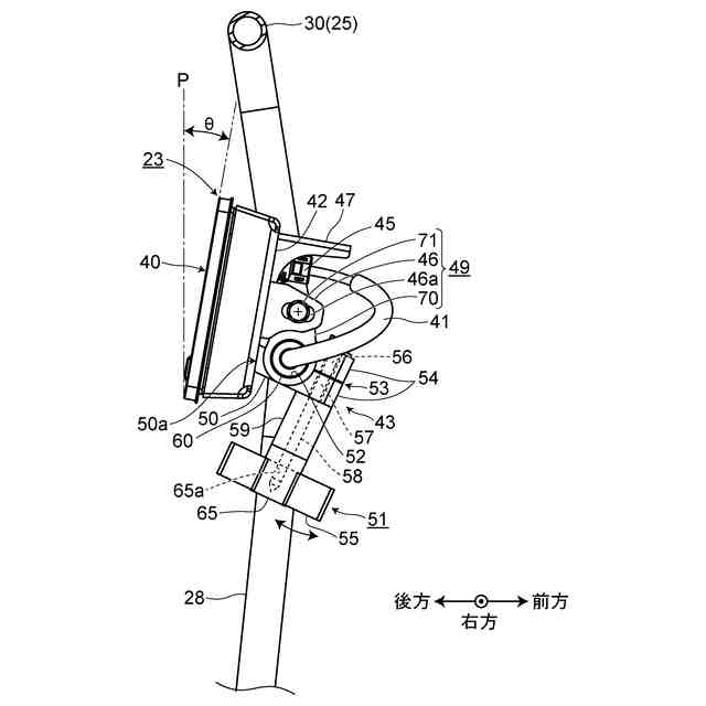
【解決手段】作業用車両1は、ディスプレイ装置23と、ディスプレイ装置23に接続するワイヤハーネス41を挿通することが可能であり、オペレータシート16の前方側に配置される横パイプ部29と、ディスプレイ装置23を横パイプ部29に固定するクランプ機構部54を有する固定具43と、横パイプ部29のワイヤハーネス挿入口部61にはめ込まれる防水グロメット62とを有する。クランプ機構部54による横パイプ部29の締め付けを解除することによって、横パイプ部29を回転軸としてディスプレイ装置23を回転させることが可能となる。クランプ機構部54によってディスプレイ装置23を所望の角度θで固定することが可能となる。
【選択図】図5
特許請求の範囲
【請求項1】
ディスプレイ装置と、横パイプ部と、固定具と、防水グロメットとを有し、
前記横パイプ部は、前記ディスプレイ装置に接続するワイヤハーネスを挿通することが可能であり、オペレータシートの前方に配置されており、
前記固定具は、前記ディスプレイ装置を前記横パイプ部に固定するクランプ機構部を有し、
前記防水グロメットは、前記横パイプ部のワイヤハーネス挿入口部にはめ込まれており、
前記クランプ機構部は、前記横パイプ部の締め付けを緩めることによって、前記横パイプ部を回転軸として前記ディスプレイ装置を回転させることが可能となり、前記横パイプ部を締め付けることによって前記ディスプレイ装置を固定することが可能に構成されている、
ことを特徴とする作業用車両。
続きを表示(約 970 文字)
【請求項2】
請求項1に記載の作業用車両において、
前記クランプ機構部は、前記横パイプ部が挿通可能な横パイプ部挿通孔、該横パイプ部挿通孔から外郭に達するスリット部、該スリット部の断面方向を挟んで配置されるボルト、及び前記ボルトに螺合する雌ネジが形成されたハンドル部を有し、
前記ハンドル部を一方に回転することによって、前記スリット部の間隔を広げて前記横パイプ部を回転軸にして前記ディスプレイ装置を回転させることを可能にし、
前記ハンドル部を他方に回転することによって、前記間隔を狭めて前記横パイプ部に前記ディスプレイ装置を固定することが可能に構成されている、
ことを特徴とする作業用車両。
【請求項3】
請求項2に記載の作業用車両において、
前記ディスプレイ装置の回転角度を規制する回転角度規制機構をさらに有し、
前記回転角度規制機構は、前記ディスプレイ装置に固定されるディスプレイブラケット、及び前記横パイプ部に固定され前記ディスプレイブラケットに沿って延長される「角度規制軸の固定部」を有し、
前記ディスプレイブラケットは、前記ディスプレイ装置の回転方向に長い長孔を有し、
前記角度規制軸は前記長孔に挿通され、前記ディスプレイ装置は前記角度規制軸に前記長孔が当接する範囲で回転することが可能に構成されている、
ことを特徴とする作業用車両。
【請求項4】
請求項1に記載の作業用車両において、
前記横パイプ部と前記固定具に形成される横パイプ部挿通孔との間に摺動補助部材が介在されている、
ことを特徴とする作業用車両。
【請求項5】
請求項4に記載の作業用車両において、
前記摺動補助部材は、熱収縮チューブである、
ことを特徴とする作業用車両。
【請求項6】
請求項1に記載の作業用車両において、
前記横パイプ部は、前記オペレータシートの前方側に配置される手すりの一部を構成し、
前記手すりは、前記オペレータシートの前方に配置されたフロントカバーを固定するフロントカバー固定部品の側面に固定されている、
ことを特徴とする作業用車両。
発明の詳細な説明
【技術分野】
【0001】
本発明は、作業用車両に関する。
続きを表示(約 2,200 文字)
【背景技術】
【0002】
作業用車両としては、例えば、地面を掘削したり、掘削した土砂等を移動させたりする際に使用されるクローラ式スキッドステアローダや油圧ショベルなどが広く知られている。このような作業用車両は、バッテリー残量、油圧及び油温などの異常警告や、走行速度などの作業モードを表示するディスプレイ装置を備えている。このようなディスプレイ装置は、運転者が作業中に視認しやすい位置に配置されることが好ましい。
【0003】
オペレータシートの前方で、かつ運転者が操作容易な高さ位置に配置される操縦ボックスを備える作業用車両がある。この操縦ボックスは、作業用車両操縦用の操作機器を備える。操縦ボックスには、各種表示計器類及びモード操作スイッチ類を備えたディスプレイ装置が収納されている。このディスプレイ装置は、運転者の前方作業視線方向位置に配置される(例えば、特許文献1参照)。
【0004】
また、作業用車両において、コントローラを内蔵した装置本体部に立てられたフレキシブルなアームによって支持されているディスプレイ装置が開示されている(例えば、特許文献2参照)。このディスプレイ装置は、アームの上端部にボールジョイントによって回動可能に結合されている。アームは、帯状の金属板を螺旋状に形成したフレキシブルチューブによって形成され、内部にワイヤハーネスが挿通される。ディスプレイ装置は、ボールジョイント及びフレキシブルチューブで支持されていることから、ディスプレイ装置の表示画面部の角度及び位置を自在に調整することができる。
【0005】
また、作業用車両において、ディスプレイ装置の支持部が、表示画面部の背面に取り付けられた受部、この受部に挿入された柱部、及び、受け部と柱部とを締結するロック部によって構成されている例が開示されている(例えば、特許文献3参照)。このディスプレイ装置は、ロック部を緩めて、表示画面部を縦長姿勢や横長姿勢に切替えることが可能な構成となっている。
【先行技術文献】
【特許文献】
【0006】
特開2001-55759号公報
特開2010-105568号公報
特開2021-30804号公報
【発明の概要】
【発明が解決しようとする課題】
【0007】
上記特許文献1に記載のディスプレイ装置は、運転操縦装置の一部として操縦ボックス部とともに同一箱体内に収納されている。運転操縦装置は、アームを介して操縦ボックス用ブラケットによって車体に取り付けられる。アームは、作業用車両の前後方向に延長されるアーム支持軸によって回転可能に固定されている。このことによって、運転操縦装置(ディスプレイ装置)は、アーム支持軸を回転軸として回転させることができる。しかし、ディスプレイ装置の表示画面部をオペレータが視認しやすい前後方向の角度に調整することはできないという課題がある。また、ワイヤハーネスが、アームと操縦ボックス用ブラケットとの間で剥き出しに配置されていることから、オペレータがワイヤハーネスを引っ掛けてしまうことが考えられる。さらに、ワイヤハーネスは、操縦ボックス用ブラケットに挿通されているが、キャノピ仕様の作業用車両ではワイヤハーネスの挿通口から雨水が侵入してしまうおそれがある。
【0008】
上記特許文献2に記載のディスプレイ装置は、ディスプレイ装置の表示画面部を任意の角度及び位置に容易に調整できるように構成されている。しかし、ボールジョイント及びフレキシブルチューブは、角度及び位置を調整した状態を固定する固定具を有していない。そのため、走行中又は作業中の振動や衝撃によって角度及び位置がずれてしまうことが考えられる。また、角度及び位置を調整する際に、帯状の金属板を螺旋状に形成したフレキシブルが擦れることによって塗装などが剥がれてしまうという課題もある。また、アームは、帯状の金属板を螺旋状に形成したフレキシブルチューブによって形成されているため、キャノピ仕様の作業用車両では角度調整などによりフレキシブルチューブを湾曲させたときに、螺旋部から雨水が侵入するおそれがある。
【0009】
上記特許文献3に記載のディスプレイ装置は、表示画面部を縦長姿勢や横長姿勢に切替えることが可能な構成となっている。しかし、ディスプレイ装置は、オペレータの視線方向に合わせて表示画面部の前後方向の角度を任意に変えることはできない。また、表示画面部を縦長姿勢や横長姿勢に切替える際に、受け部と柱部とが擦れることによって塗装などが剥がれてしまうということが考えられる。
【0010】
そこで、本発明は、このような課題の少なくとも一つを解決するためになされたもので、ディスプレイ装置の表示画面部の上下方向の角度をオペレータが見やすい角度に調整することが可能となる。また、ディスプレイ装置を支持する横パイプ部の塗装が剥がれることを防止することが可能となる。さらに、ワイヤハーネスが挿通される横パイプ部からの雨水の侵入を防止することが可能な作業用車両を実現しようとするものである。
【課題を解決するための手段】
(【0011】以降は省略されています)
この特許をJ-PlatPat(特許庁公式サイト)で参照する
関連特許
株式会社竹内製作所
作業用車両
2日前
株式会社竹内製作所
作業用車両
2日前
株式会社竹内製作所
作業用車両
2日前
株式会社竹内製作所
作業用車両
2日前
株式会社竹内製作所
作業用車両
2日前
株式会社竹内製作所
作業用車両
2日前
株式会社竹内製作所
バッテリパック、及び、作業用車両
2日前
FKS株式会社
擁壁
13日前
鈴健興業株式会社
敷板部材
9日前
株式会社クボタ
作業車
11日前
株式会社奥村組
ケーソン工法
16日前
株式会社クボタ
作業車
11日前
株式会社ネクステリア
平板基礎
9日前
個人
擁壁用ブロックおよび擁壁
10日前
株式会社奥村組
ケーソン刃口金物
16日前
株式会社大林組
建物の構造
10日前
株式会社熊谷組
地盤改良方法
5日前
株式会社熊谷組
密度計測方法
11日前
株式会社熊谷組
山留壁用親杭
2日前
大和ハウス工業株式会社
杭抜き先端具
17日前
日立建機株式会社
作業機械
3日前
日立建機株式会社
建設機械
3日前
日立建機株式会社
建設機械
3日前
日立建機株式会社
作業機械
2日前
日立建機株式会社
作業機械
2日前
ヤマト発動機株式会社
浮遊型消波装置
13日前
日立建機株式会社
作業機械
2日前
日立建機株式会社
作業機械
13日前
日立建機株式会社
建設機械
9日前
ライト工業株式会社
鉄筋保持用治具
3日前
カナデビア株式会社
サクション基礎
3日前
JFEスチール株式会社
鋼管矢板の継手構造
3日前
JFEスチール株式会社
鋼管矢板の継手構造
13日前
株式会社竹内製作所
作業用車両
2日前
株式会社竹内製作所
作業用車両
2日前
株式会社竹内製作所
作業用車両
2日前
続きを見る
他の特許を見る