TOP
|
特許
|
意匠
|
商標
特許ウォッチ
Twitter
他の特許を見る
公開番号
2025119217
公報種別
公開特許公報(A)
公開日
2025-08-14
出願番号
2024013972
出願日
2024-02-01
発明の名称
吊掛装置
出願人
株式会社川口技研
代理人
主分類
A47G
29/00 20060101AFI20250806BHJP(家具;家庭用品または家庭用設備;コーヒーひき;香辛料ひき;真空掃除機一般)
要約
【課題】吊下具を取り付けている取付ねじが緩んだり壊れた時に落下を防止することができること。
【解決手段】
吊掛装置は、天井Cに取り付けられる一対の支持具1・1に、それぞれ一対の吊下具2・2が取り付けられている。支持具1は、基板部7の表面中央部に筒状部8を立設して成り、筒状部8には、正面板下部に取付孔12を、内側面板中程部に取付孔13を、その横隣部に操作窓14をそれぞれ設けてある。筒状部8の内側面板の内面には、摺動溝24を設けその下端の終端部に係合部25を設けてある。吊下具2は、筒状部8の摺動溝24内で操作窓14の上方に対応する位置には、係合突起17が出没自在にばねで付勢されて取り付けられている。
【選択図】図3
特許請求の範囲
【請求項1】
室内の天井等に取り付けられる一対の支持具の下方に、それぞれ吊下具を取り付け、その吊下具の下端部に吊掛棒の両端部を取り付けた吊掛装置において、支持具に設けた下方に開口する筒状部に、吊下具の上端部を挿入して取付ねじで取り付けて成り、吊下具には係合突起を設けると共に、支持具の筒状部の内面には係合部を設けて、取付ねじが緩んだり壊れた時に、係合突起が係合部に係合して落下を防止することを特徴とする吊掛装置。
続きを表示(約 210 文字)
【請求項2】
室内の天井等に取り付けられる一対の支持具の下方に、それぞれ吊下具を取り付け、その吊下具の下端部に吊掛棒の両端部を取り付けた吊掛装置において、吊下具に設けた上方に開口する筒状部に、支持具の下端部を挿入して取付ねじで取り付けて成り、支持具には係合突起を設けると共に、吊下具の筒状部の内面には係合部を設けて、取付ねじが緩んだり壊れた時に、係合突起が係合部に係合して落下を防止することを特徴とする吊掛装置。
発明の詳細な説明
【技術分野】
【0001】
本発明は、主に室内の天井等に取り付けた一対の支持具にそれぞれ吊下具を取り付け、その先端部に吊掛棒を架け渡すように取り付けた吊掛装置であって、吊掛棒に洗濯物やハンガー等を掛けて使用する吊掛装置に関するものである。
続きを表示(約 2,000 文字)
【背景技術】
【0002】
従来より、上述したような吊掛装置として、特開2023-141557号公報の第1の実施の形態に、シャフト2がソケット12によって保持されている構造(従来例)が開示されている。
【0003】
上記従来例では、ソケット12は、筒状体でその円筒部122には、雌ネジ溝が切られた第1の貫通孔126と、その下方に、雌ネジ溝が切られた第2の貫通孔127が形成されており、シャフト2は、円筒形状の管材でアダプタ部2aと、そのアダプタ部2aよりも下方の本体部2bとを有し、アダプタ部2aと本体部2bの境界近傍には、くびれ部2cが形成されている。
そして、第1の貫通孔126には、雄ネジ溝が形成された六角穴付き止めネジ128が捻じ込まれ、その先端部がシャフト2のくびれ部2cに係合されてシャフト2が抜け落ちることを防止し、さらに、第2の貫通孔127には、雌ネジ溝と螺合する雄ネジ溝が形成された六角穴付き止めネジ129が捻じ込まれ、シャフト2の外周面を押圧して、ソケット12の円筒部122に挿入されたシャフト2がソケット12に保持されるようになっている。
【先行技術文献】
【特許文献】
【0004】
特開2023-141557号公報
【発明の概要】
【発明が解決しようとする課題】
【0005】
上記従来例では、取り付けている六角穴付き止めネジ128・129が緩んだり、壊れたりした場合はシャフト2はすぐに落下し大変危険であるという問題があり、本発明は、この問題を解決するため、取り付けている取付ねじが緩んだり壊れたりしても直ちに落下することがない吊掛装置を提供することを課題としている。
【課題を解決するための手段】
【0006】
本発明は、上記課題を解決するものであり、請求項1記載の発明は、室内の天井等に取り付けられる一対の支持具の下方に、それぞれ吊下具を取り付け、その吊下具の下端部に吊掛棒の両端部を取り付けた吊掛装置において、支持具に設けた下方に開口する筒状部に、吊下具の上端部を挿入して取付ねじで取り付けて成り、吊下具には係合突起を設けると共に、支持具の筒状部の内面には係合部を設けて、取付ねじが緩んだり壊れた時に、係合突起が係合部に係合して落下を防止することを特徴とする吊掛装置であり、請求項2記載の発明は、室内の天井等に取り付けられる一対の支持具の下方に、それぞれ吊下具を取り付け、その吊下具の下端部に吊掛棒の両端部を取り付けた吊掛装置において、吊下具に設けた上方に開口する筒状部に、支持具の下端部を挿入して取付ねじで取り付けて成り、支持具には係合突起を設けると共に、吊下具の筒状部の内面には係合部を設けて、取付ねじが緩んだり壊れた時に、係合突起が係合部に係合して落下を防止することを特徴とする吊掛装置である。
【発明の効果】
【0007】
以上のように特許請求の範囲記載の発明によれば、吊下具を取り付けている取付ねじが緩んだり壊れた時に、係合突起が係合部に係合して落下を防止することができ、危険を回避することできるという効果がある。
【図面の簡単な説明】
【0008】
第一実施例の天井面に取り付けた状態を示す全体正面図。
第一実施例の吊下具と吊掛棒の連結部分を示す分解斜視図。
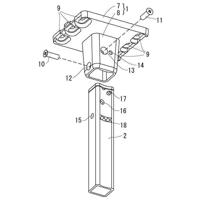
第一実施例の支持具と吊下具の連結部分を示す分解斜視図。
第一実施例の支持具を天井面に取り付ける状態を示す分解斜視図(野縁Nに取り付ける場合)。
第一実施例の支持具を天井面に取り付ける状態を示す分解斜視図(合板Gに取り付ける場合)。
第一実施例の支持具を一部切り欠いた状態を示す斜視図。
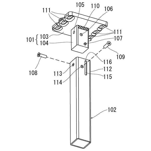
第二実施例の支持具と吊下具の連結部分を示す分解斜視図。
【0009】
図1~図6に基づいて、本発明の第一実施例を説明する。
吊掛装置は、天井Cに取り付けられる一対の支持具1・1に、それぞれ一対の吊下具2・2が取り付けられており、それぞれ先端に連結具4・4を介して吊掛棒3の両端部が取り付けられ、この吊掛棒3に洗濯物を掛けたハンガー等を掛けて使用するものである。
【0010】
支持具1は、略四角形板状の基板部7の表面中央部に角筒状の筒状部8を立設して成り、基板部7には前後部にそれぞれ3つづつの取付孔9・・・9を設け、筒状部8には、正面板下部に取付孔12を、内側面板中程部に取付孔13を、その横隣部に操作窓14をそれぞれ設けてある。
また図6に示すように、筒状部8の内側面板の内面には、上部から操作窓14に至る略垂直直線状で、後述する係合突起17が摺動する摺動溝24を設けて、その下端の終端部に係合突起17が当接して係合する係合部25を設けてある。
(【0011】以降は省略されています)
この特許をJ-PlatPat(特許庁公式サイト)で参照する
関連特許
個人
椅子
1か月前
個人
家具
3か月前
個人
自助箸
5か月前
個人
掃除機
7か月前
個人
枕
4か月前
個人
枕
7か月前
個人
掃除道具
7か月前
個人
掃除用具
2か月前
個人
屋外用箒
6か月前
個人
体洗い具
9か月前
個人
ソファー
22日前
個人
耳拭き棒
9か月前
個人
ハンガー
5か月前
個人
省煙消臭器
7か月前
個人
組立式棚板
6か月前
個人
掃除シート
8か月前
個人
エコ掃除機
10か月前
個人
物品
1か月前
個人
片手代替具
10か月前
個人
開閉トング
5か月前
個人
中身のない枕
6か月前
個人
ゴミ袋保持枠
5か月前
個人
シャワー装置
4か月前
個人
転倒防止装置
3か月前
個人
紙コップ 蓋
1か月前
個人
靴ベラ
1か月前
個人
洗面台
9か月前
個人
経典表示装置
3か月前
個人
折り畳み椅子
12か月前
個人
受け皿
4か月前
個人
首支持具
2か月前
個人
コーナーシール
8か月前
個人
矯正用枕
2か月前
個人
簡易防災トイレ
12日前
個人
コーヒー抽出器
2か月前
個人
補助寝具
7か月前
続きを見る
他の特許を見る