TOP
|
特許
|
意匠
|
商標
特許ウォッチ
Twitter
他の特許を見る
10個以上の画像は省略されています。
公開番号
2025123160
公報種別
公開特許公報(A)
公開日
2025-08-22
出願番号
2024030738
出願日
2024-02-09
発明の名称
テーブル用コップ・傘取付具
出願人
個人
代理人
主分類
A47G
25/12 20060101AFI20250815BHJP(家具;家庭用品または家庭用設備;コーヒーひき;香辛料ひき;真空掃除機一般)
要約
【課題】 従来技術は、支柱にフックを有する支軸を設け、その支柱に、自動車内に取付板を設け、傘の雫を受けるドリップカップを設けた事を特徴とする傘サポートがある。
また、ワイヤー上の傘建具の前後の取付かんを、傘収納部が天板の側方においてほぼ水平をなす使用位置から下向きに垂下する不使用位置とに回動し得るように、脚柱の前後両面に取り付けるものがある。
【解決手段】
テーブルの天板に着脱自在に取り付けるクリップ本体の下受板に、コップ及び/又は傘を縦方向に挿入する下挿入孔を設けると共に、下受板の両側に下方に突出した傘を横方向に支持する支持孔を穿設した支持板を設けたこと又は、前記クリップ本体の上受板にコップ及び/又は傘を挿入する上挿入孔を設けてなることさらに、上挿入孔が、下挿入孔より大径であることそしてさらに、上挿入孔に下挿入孔を同時に使用できることを特徴とする。
【選択図】図1
特許請求の範囲
【請求項1】
テーブルの天板に着脱自在に取り付けるクリップ本体の下受板に、コップ及び/又は傘を縦方向に挿入する下挿入孔を設けると共に、下受板の両側に下方に突出した傘を横方向に支持する支持孔を穿設した支持板を設けたことを特徴とするテーブル用コップ・傘取付具。
続きを表示(約 230 文字)
【請求項2】
前記クリップ本体の上受板にコップ及び/又は傘を挿入する上挿入孔を設けてなることを特徴とする請求項1記載のテーブル用コップ・傘取付具。
【請求項3】
前記上挿入孔が、前記下挿入孔より大径であることを特徴とする請求項1又は2記載のいずれか一項記載のテーブル用コップ・傘取付具。
【請求項4】
前記上挿入孔に下挿入孔を同時に使用できることを特徴とする請求項2又は3記載のいずれか一項記載のテーブル用コップ・傘取付具。
発明の詳細な説明
【技術分野】
【0001】
本発明は、店内や学校ない等もテーブル(机)の天板に着脱自在に取り付けるテーブル用コップ・傘取付具に関するものである。
続きを表示(約 1,700 文字)
【背景技術】
【0002】
従来技術としては、支柱にフックを有する支軸を設け、その支柱に、自動車内に取付板を設け、傘の雫を受けるドリップカップを設けた事を特徴とする傘サポートがある。
(特許文献1参照)
【0003】
従来の技術としては、ワイヤー上の傘建具の前後の取付かんを、傘収納部が天板の側方においてほぼ水平をなす使用位置から下向きに垂下する不使用位置とに回動し得るように、脚柱の前後両面に取り付けるものがある。(特許文献2参照)
【先行技術文献】
【特許文献】
【0004】
特開2015-199479号公報
特開2006-247060号公報
【発明の概要】
【発明が解決しようとする課題】
【0005】
上記前者は、自動車内に取り付ける傘をサポートするもので、テーブルの天板に取り付けられるものでもなく、コップやカップを置けるものでもない。
上記後者は、テーブルに傘立てを付設してなるものであるが、傘を横方向に支持することはできず、かつ、コップやカップを置けるものではない。
【0006】
本発明は、このような従来の構成が有していた問題を解決しようとするもので、テーブルの天板に着脱自在に取り付けるもので、傘を縦方向にも横方向にも取り付けられると共に、カップやコップを置くことができるテーブル用コップ・傘取付具を提供することを目的とする。
【課題を解決するための手段】
【0007】
本発明は、上記目的を達成するため、テーブルの天板に着脱自在に取り付けるクリップ本体の下受板に、コップ及び/又は傘を縦方向に挿入する下挿入孔を設けると共に、下受板の両側に下方に突出した傘を横方向に支持する支持孔を穿設した支持板を設けたこと又は、前記クリップ本体の上受板にコップ及び/又は傘を挿入する上挿入孔を設けてなることさらに、上挿入孔が、下挿入孔より大径であることそしてさらに、上挿入孔に下挿入孔を同時に使用できることを特徴とする。
【発明の効果】
【0008】
1)、テーブル(机)の天板等に、クリップにて着脱自在に取り付けることができる。
2)、クリップ本体の下請板に、下挿入孔を設けることにより、傘を縦方向に差し込んで支持できると共に、カップを差し込んで置くことができる。
3)、支持板の支持孔に、横方向から傘を差し込み、支持できる。
4)、クリップ本体の上受板に、大径の上挿入孔を下挿入孔に小径の下挿入孔を設けることにより、コーヒーカップ等を置くことができる。
【図面の簡単な説明】
【0009】
本発明の第1実施例を示すテーブル用コップ・傘取付具の正面図。
本発明の第1実施例を示すテーブル用コップ・傘取付具平面図。
本発明の第1実施例を示すテーブル用コップ・傘取付具の底面図。
本発明の第1実施例を示すテーブル用コップ・傘取付具の下挿入孔にコップを置いた使用状態図。
本発明の第1実施例を示すテーブル用コップ・傘取付具の下挿入孔に傘を差し込んだ使用状態図。
本発明の第1実施例を示すテーブル用コップ・傘取付具の支持孔に傘を差し込んだ使用状態図。
本発明の第2実施例を示すテーブル用コップ・傘取付具の正面図。
本発明の第2実施例を示すテーブル用コップ・傘取付具の底面図。
本発明の第2実施例を示すテーブル用コップ・傘取付具の上挿入孔にコーヒーカップを置いた使用状態図。
【発明を実施するための形態】
【0010】
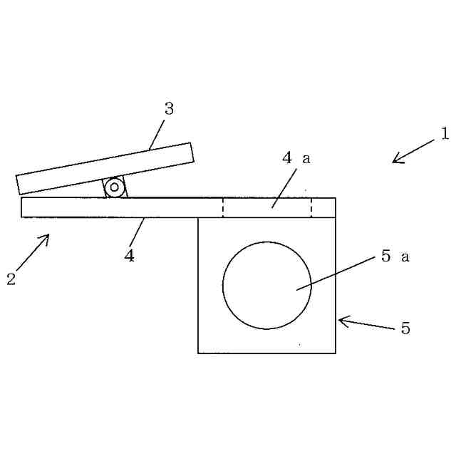
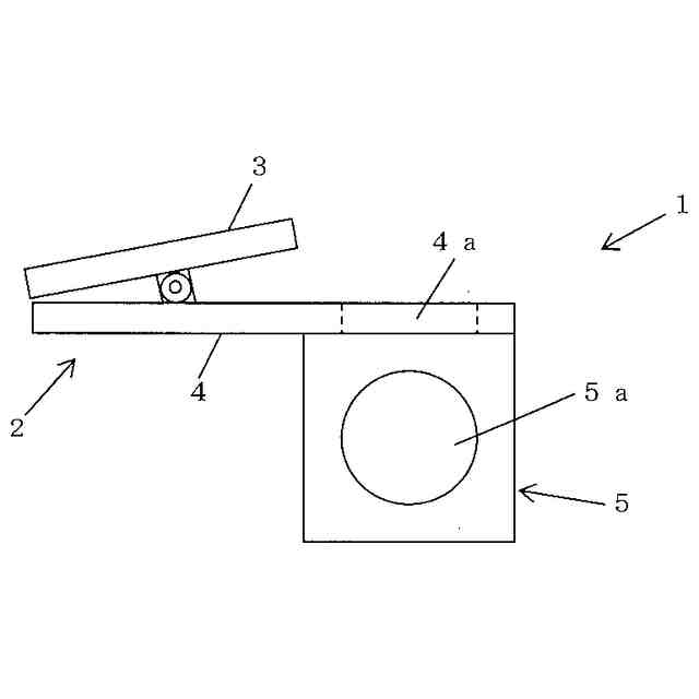
第1実施例のテーブル用コップ・傘取付具の説明をする。
1は、テーブル用コップ・傘取付具である。
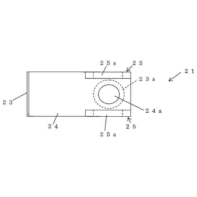
2は、クリップ本体で、上受板3と下受板4とにより構成され、下受板4にはコップ及び/又は傘を挿入する下挿入孔4aを設けてある。
5は、下受板4の両側に、下方に突出した傘を横方向に支持する支持孔5aを穿設してなる支持板である。(図1・図2・図3参照)
(【0011】以降は省略されています)
この特許をJ-PlatPat(特許庁公式サイト)で参照する
関連特許
個人
家具
3か月前
個人
椅子
1か月前
個人
掃除機
7か月前
個人
自助箸
5か月前
個人
ハンガー
5か月前
個人
掃除道具
7か月前
個人
ソファー
20日前
個人
枕
7か月前
個人
掃除用具
2か月前
個人
枕
4か月前
個人
屋外用箒
5か月前
個人
開閉トング
4か月前
個人
組立式棚板
6か月前
個人
物品
1か月前
個人
省煙消臭器
7か月前
個人
シャワー装置
4か月前
個人
経典表示装置
3か月前
個人
受け皿
4か月前
個人
ゴミ袋保持枠
5か月前
個人
転倒防止装置
3か月前
個人
紙コップ 蓋
29日前
個人
靴ベラ
29日前
個人
中身のない枕
6か月前
個人
ホバー掃除機。
4か月前
個人
コーヒー抽出器
2か月前
個人
首支持具
2か月前
個人
簡易防災トイレ
10日前
個人
矯正用枕
2か月前
個人
補助寝具
6か月前
個人
自在すきま掃除棒
6か月前
個人
体操用椅子
6か月前
個人
食品摘み具
1か月前
個人
米櫃
4か月前
個人
スライド式まな板
5か月前
個人
ライト付きトング
3か月前
個人
クッション
3か月前
続きを見る
他の特許を見る