TOP
|
特許
|
意匠
|
商標
特許ウォッチ
Twitter
他の特許を見る
公開番号
2025136239
公報種別
公開特許公報(A)
公開日
2025-09-19
出願番号
2024034563
出願日
2024-03-07
発明の名称
頭頂部用枕装置
出願人
個人
代理人
個人
主分類
A47G
9/10 20060101AFI20250911BHJP(家具;家庭用品または家庭用設備;コーヒーひき;香辛料ひき;真空掃除機一般)
要約
【課題】頭頂部に刺激を与えて薄毛対策が可能な頭頂部用枕装置を提供することである。
【解決手段】頭頂部用枕装置1は、一定の硬さを有する頭頂部用枕2と、頭頂部用枕2に接続される連結部3と、連結部3の頭頂部用枕1とは反対側に接続される保持部6と、を有し、保持部6は、頭頂部用枕2を、連結部3を介して宙吊りにすることによりユーザの頭頂部位置に保持する。
【選択図】 図1
特許請求の範囲
【請求項1】
一定の硬さを有する頭頂部用枕と、
頭頂部用枕に接続される連結部と、
前記連結部の前記頭頂部用枕とは反対側に接続される保持部と、を有し、
前記保持部は、前記頭頂部用枕を、前記連結部を介して宙吊りにすることによりユーザの頭頂部位置に保持する
頭頂部用枕装置。
続きを表示(約 320 文字)
【請求項2】
前記保持部は、
第1保持部と第2保持部とを有し、
前記第第1保持部は、
垂直方向に立ち上がる第1立上り部と、
前記第1立上り部に接続された第1張出し部と、を有し、
前記第第2保持部は、
垂直方向に立ち上がる第2立上り部と、
前記第2立上り部に接続された第2張出し部と、を有する
請求項1に記載の頭頂部用枕装置。
【請求項3】
前記連結部は、長さの調整が可能に形成されている
請求項2に記載の頭頂部用枕装置。
【請求項4】
就寝時のユーザの頭頂部に対して一定の圧力を加えことが可能な押圧部を有する
装置。
発明の詳細な説明
【技術分野】
【0001】
頭頂部用枕装置に関する。
続きを表示(約 820 文字)
【背景技術】
【0002】
特許文献1には枕の技術が開示されている。
【先行技術文献】
【特許文献】
【0003】
特開2022―100994号公報
【発明の概要】
【発明が解決しようとする課題】
【0004】
本発明は、頭頂部に刺激を与えて薄毛対策が可能な頭頂部用枕装置を提供することである。
【課題を解決するための手段】
【0005】
本発明の第1の観点における頭頂部用枕装置は、一定の硬さを有する頭頂部用枕と、頭頂部用枕に接続される連結部と、 前記連結部の前記頭頂部用枕とは反対側に接続される保持部と、を有し、前記保持部は、前記頭頂部用枕を、前記連結部を介して宙吊りにすることによりユーザの頭頂部位置に保持する。
【0006】
好適には、前記保持部は、第1保持部と第2保持部とを有し、前記第第1保持部は、垂直方向に立ち上がる第1立上り部と、前記第1立上り部に接続された第1張出し部と、を有し、前記第2保持部は、垂直方向に立ち上がる第2立上り部と、前記第2立上り部に接続された第2張出し部と、を有する。
【0007】
好適には、前記連結部は、長さの調整が可能に形成されている
請求項2に記載の頭頂部用枕装置。
【発明の効果】
【0008】
本発明によって頭頂部に刺激を与えて薄毛対策が可能な頭頂部用枕装置を提供することが可能となった。
【図面の簡単な説明】
【0009】
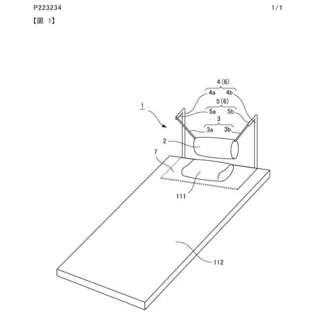
本発明の第1の実施形態に係る頭頂部用枕装置を示す説明図である。
【発明を実施するための形態】
【0010】
<第1の実施形態>
図1は、本発明の第1の実施形態に係る頭頂部用枕装置1を示す説明図である。
(【0011】以降は省略されています)
この特許をJ-PlatPat(特許庁公式サイト)で参照する
関連特許
個人
椅子
1か月前
個人
家具
3か月前
個人
自助箸
5か月前
個人
掃除機
7か月前
個人
枕
4か月前
個人
枕
7か月前
個人
掃除道具
7か月前
個人
掃除用具
2か月前
個人
屋外用箒
6か月前
個人
体洗い具
9か月前
個人
ソファー
24日前
個人
耳拭き棒
9か月前
個人
ハンガー
5か月前
個人
省煙消臭器
7か月前
個人
組立式棚板
6か月前
個人
掃除シート
8か月前
個人
エコ掃除機
10か月前
個人
物品
1か月前
個人
片手代替具
10か月前
個人
開閉トング
5か月前
個人
中身のない枕
6か月前
個人
ゴミ袋保持枠
5か月前
個人
シャワー装置
4か月前
個人
転倒防止装置
3か月前
個人
紙コップ 蓋
1か月前
個人
靴ベラ
1か月前
個人
洗面台
9か月前
個人
経典表示装置
3か月前
個人
折り畳み椅子
12か月前
個人
受け皿
4か月前
個人
首支持具
2か月前
個人
コーナーシール
8か月前
個人
矯正用枕
2か月前
個人
簡易防災トイレ
14日前
個人
コーヒー抽出器
2か月前
個人
補助寝具
7か月前
続きを見る
他の特許を見る