TOP
|
特許
|
意匠
|
商標
特許ウォッチ
Twitter
他の特許を見る
10個以上の画像は省略されています。
公開番号
2025143323
公報種別
公開特許公報(A)
公開日
2025-10-01
出願番号
2025106955,2024014864
出願日
2025-06-25,2019-10-09
発明の名称
エアロゾル発生装置及びそのための加熱チャンバ
出願人
ジェイティー インターナショナル エスエイ
代理人
個人
,
個人
,
個人
,
個人
主分類
A24F
40/46 20200101AFI20250924BHJP(たばこ;葉巻たばこ;紙巻たばこ;喫煙具)
要約
【課題】改善されたエアロゾル発生装置及びそのための加熱チャンバを提供する。
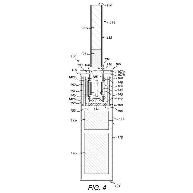
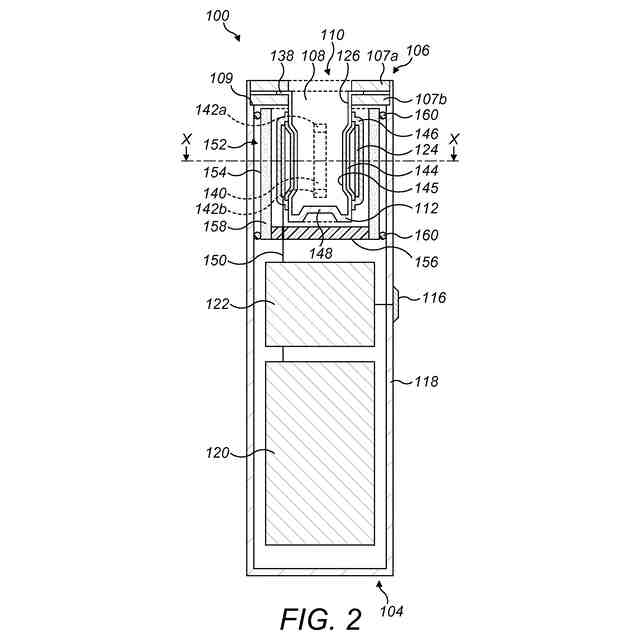
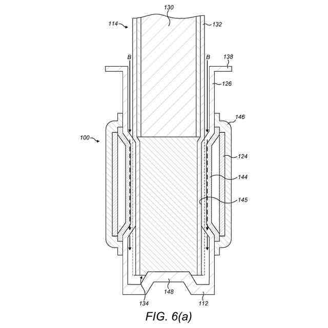
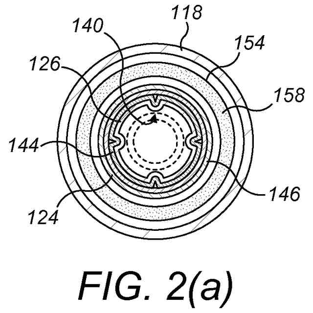
【解決手段】エアロゾル発生装置100は、エアロゾル基質128を含む基質担体114を収容するための加熱チャンバ108を有する。加熱チャンバは、第1の開放端110と、基部112と、開放端と基部との間の側壁126とを備える。基部は側壁に接続され、側壁に構造的支持を提供する。側壁は第1の厚さを有し、基部は第1の厚さよりも大きい第2の厚さを有する。
【選択図】図4
特許請求の範囲
【請求項1】
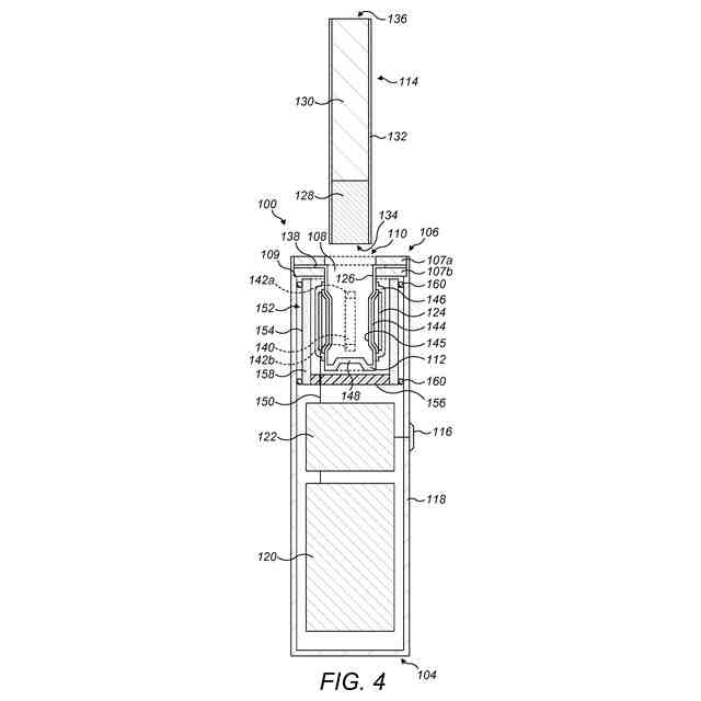
エアロゾル発生装置(100)用の加熱チャンバ(108)であって、前記加熱チャンバ(108)は、
第1の開放端(110)と、
基部(112)と、
前記開放端(110)と前記基部(112)との間の側壁(126)と、を備え、
前記基部(112)は、前記側壁(126)に接続され、前記側壁(126)に構造的支持を提供し、
前記側壁(126)は第1の厚さを有し、前記基部(112)は前記第1の厚さよりも大きい第2の厚さを有する、加熱チャンバ(108)。
続きを表示(約 1,000 文字)
【請求項2】
前記側壁(126)及び前記基部(112)は同じ材料から形成され、好ましくは、前記材料は金属であり、より好ましくは前記側壁(126)及び前記基部(112)はステンレス鋼であり、更により好ましくは、前記ステンレス鋼は300シリーズステンレス鋼であり、更により好ましくは、304ステンレス鋼、316ステンレス鋼、及び321ステンレス鋼を含む群から選択される、請求項1に記載の加熱チャンバ(108)。
【請求項3】
前記基部(112)及び前記側壁(126)が単一の要素として形成され、好ましくはカップ形状の要素を形成する、請求項1又は2に記載の加熱チャンバ(108)。
【請求項4】
前記第1の厚さは100μm以下である、請求項1~3のいずれか一項に記載の加熱チャンバ(108)。
【請求項5】
前記第2の厚さは200μm~500μmである、請求項1~4のいずれか一項に記載の加熱チャンバ(108)。
【請求項6】
前記基部(112)は、前記開放端(110)の反対側の、前記側壁(126)の第2の端部を封止し、好ましくは、前記側壁(126)は前記基部(112)の周囲全体にわたって延びている、請求項1~5のいずれか一項に記載の加熱チャンバ(108)。
【請求項7】
前記開放端(110)に取り付けられたフランジ部分(138)を備え、前記フランジ部分(138)は、前記加熱チャンバ(108)の前記開放端(110)において半径方向外向きに延びている、請求項1~6のいずれか一項に記載の加熱チャンバ(108)。
【請求項8】
前記フランジ部分(138)は、前記加熱チャンバ(108)の周囲全体にわたって延びている、請求項1~7のいずれか一項に記載の加熱チャンバ(108)。
【請求項9】
前記フランジ部分(138)は前記側壁(126)から離れるように斜めに延びている、請求項7又は8に記載の加熱チャンバ(108)。
【請求項10】
前記フランジ部分(138)は第1の材料を含み、前記側壁(126)は第2の材料を含み、前記第1の材料は前記第2の材料よりも低い熱伝導率を有する、請求項7~9のいずれか一項に記載の加熱チャンバ(108)。
(【請求項11】以降は省略されています)
発明の詳細な説明
【技術分野】
【0001】
本開示は、エアロゾル発生装置及びそのための加熱チャンバに関する。本開示は特に、自己完結型且つ低温であり得る携帯型エアロゾル発生装置に適用可能である。そのような装置は、タバコ又は他の好適な材料を、燃やすよりはむしろ、伝導、対流、及び/又は放射によって加熱して吸入用のエアロゾルを発生することができる。
続きを表示(約 1,500 文字)
【背景技術】
【0002】
(気化器としても知られる)リスク低減装置又はリスク修正装置の人気と使用は、紙巻きタバコ、葉巻、シガリロ、及びローリングタバコなどの従来のタバコ製品の喫煙を辞めようと望む常習的喫煙者を支援するための手助けとして、ここ数年で急速に成長してきた。従来のタバコ製品においてタバコを燃やすのとは対照的に、エアロゾル化可能な物質を加熱又は温める様々な装置及びシステムが利用可能である。
【0003】
一般に利用可能なリスク低減装置又はリスク修正装置は、加熱式基質エアロゾル発生装置又は加熱非燃焼式(heat-not-burn)装置である。このタイプの装置は、典型的には湿った葉タバコ又は他の好適なエアロゾル化可能な材料を含むエアロゾル基質を、典型的には150℃~300℃の範囲の温度に加熱することによってエアロゾル又は蒸気を発生する。エアロゾル基質を燃焼させる又は燃やすのではなく加熱することにより、ユーザが求める成分は含むが、燃焼及び燃やすことによる有毒で発癌性の副生成物は含まないエアロゾルが放出される。更には、タバコ又は他のエアロゾル化可能材料を加熱することによって生成されるエアロゾルは、典型的には、ユーザには不快であり得る、燃焼及び燃やすことに起因する焦げた又は苦い味を含まず、したがって、煙及び/又は蒸気を、ユーザにとって、より口当たりの良いものにするために、基質は、そのような材料に典型的には添加される糖及び他の添加物を必要としない。
【0004】
一般論として、エアロゾル基質からエアロゾルが放出され得る温度までエアロゾル基質を急速に加熱すること、及びその温度にエアロゾル基質を維持することが望ましい。エアロゾル基質を通過する空気流がある場合にのみ、エアロゾルがエアロゾル基質から放出されユーザに送達されることになることは明らかであろう。
【発明の概要】
【発明が解決しようとする課題】
【0005】
このタイプのエアロゾル発生装置は携帯型装置であるので、エネルギー消費は重要な設計上の考慮事項である。本発明は、既存の装置に関する問題に対処すること、並びに改善されたエアロゾル発生装置及びそのための加熱チャンバを提供することを目的とする。
【課題を解決するための手段】
【0006】
本開示の第1の態様によれば、エアロゾル発生装置用の加熱チャンバが提供され、加熱チャンバは、
第1の開放端と、
基部と、
開放端と基部との間の側壁と、を備え、
基部は側壁に接続され、側壁に構造的支持を提供し、
側壁は第1の厚さを有し、基部は第1の厚さよりも大きい第2の厚さを有する。
【0007】
任意選択で、側壁及び基部は同じ材料から形成され、好ましくは、材料は金属であり、より好ましくは、側壁及び基部はステンレス鋼であり、更により好ましくは、ステンレス
鋼は300シリーズステンレス鋼であり、更により好ましくは、304ステンレス鋼、316ステンレス鋼、及び321ステンレス鋼を含む群から選択される。
【0008】
任意選択で、基部及び側壁は単一の要素として形成され、好ましくはカップ形状の要素を形成する。
【0009】
任意選択で、第1の厚さは100μm以下である。
【0010】
任意選択で、第2の厚さは200μm~500μmである。
(【0011】以降は省略されています)
この特許をJ-PlatPat(特許庁公式サイト)で参照する
関連特許
株式会社ルック
携帯用灰皿
6か月前
個人
ヒートスティック除去具
3か月前
日本たばこ産業株式会社
香味吸引物品
1か月前
個人
電子タバコの加熱素子
3か月前
日本たばこ産業株式会社
喫煙システム
2か月前
日本たばこ産業株式会社
口腔用組成物
2か月前
個人
フレーバ用ブースター器具およびシーシャ装置
3か月前
日本たばこ産業株式会社
香味発生物品
1か月前
東莞市佳かい精密金属制品有限公司
充電可能な電子タバコケース
3か月前
深ゼン市華誠達精密工業有限公司
霧化装置及びその霧化コア
6か月前
日本たばこ産業株式会社
香味吸引システム
2か月前
Future Technology株式会社
エアロゾル吸引カートリッジ
1か月前
日本たばこ産業株式会社
香味吸引システム
2か月前
エム・クリエイト株式会社
灰皿装置及び灰皿管理システム
4か月前
日本たばこ産業株式会社
低香味原料を含むたばこセグメント
1か月前
日本たばこ産業株式会社
非燃焼加熱型香味吸引物品用フィルタ
5か月前
深ゼン市華誠達精密工業有限公司
電子エアロゾル生成装置及びそのアトマイザー
6か月前
日本たばこ産業株式会社
たばこ原料の製造方法およびたばこ原料
6か月前
日本たばこ産業株式会社
香味発生物品および香味吸引システム
2か月前
日本たばこ産業株式会社
粒状再生セルロースを含有する口腔用組成物
2か月前
Future Technology株式会社
エアロゾル吸引カートリッジ用のエアロゾル形成部材
6か月前
日本たばこ産業株式会社
電子装置
2か月前
Future Technology株式会社
芳香基材
3か月前
日本たばこ産業株式会社
吸引器
2か月前
Future Technology株式会社
喫煙器具
1か月前
日本たばこ産業株式会社
たばこ材料、その製造方法、および非燃焼加熱型喫煙物品
1か月前
Future Technology株式会社
芳香カートリッジ
4か月前
Future Technology株式会社
芳香カートリッジ
5か月前
Future Technology株式会社
芳香カートリッジ
3か月前
Future Technology株式会社
芳香カートリッジ
3か月前
Future Technology株式会社
芳香カートリッジ
5日前
Future Technology株式会社
芳香カートリッジ
6か月前
Future Technology株式会社
喫煙用カートリッジ
6か月前
Future Technology株式会社
タバコ充填物集積体
1か月前
Future Technology株式会社
喫煙具用カートリッジ
19日前
Future Technology株式会社
喫煙具用カートリッジ
3か月前
続きを見る
他の特許を見る