TOP
|
特許
|
意匠
|
商標
特許ウォッチ
Twitter
他の特許を見る
公開番号
2025061192
公報種別
公開特許公報(A)
公開日
2025-04-10
出願番号
2025003874,2021131838
出願日
2025-01-10,2021-08-13
発明の名称
喫煙用カートリッジ
出願人
Future Technology株式会社
代理人
主分類
A24D
1/20 20200101AFI20250403BHJP(たばこ;葉巻たばこ;紙巻たばこ;喫煙具)
要約
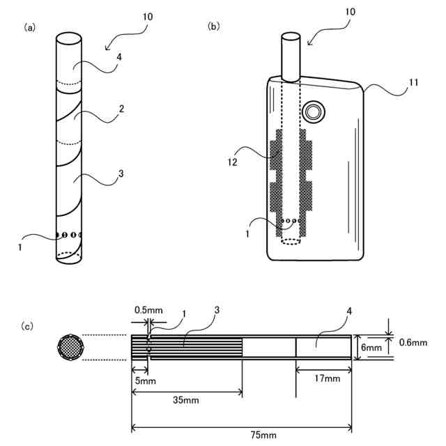
【課題】紙筒の外周面からの熱が、紙筒内のエアロゾル生成部材を構成する充填物に円滑に伝わるように構成した喫煙用カートリッジ製品を提供する。
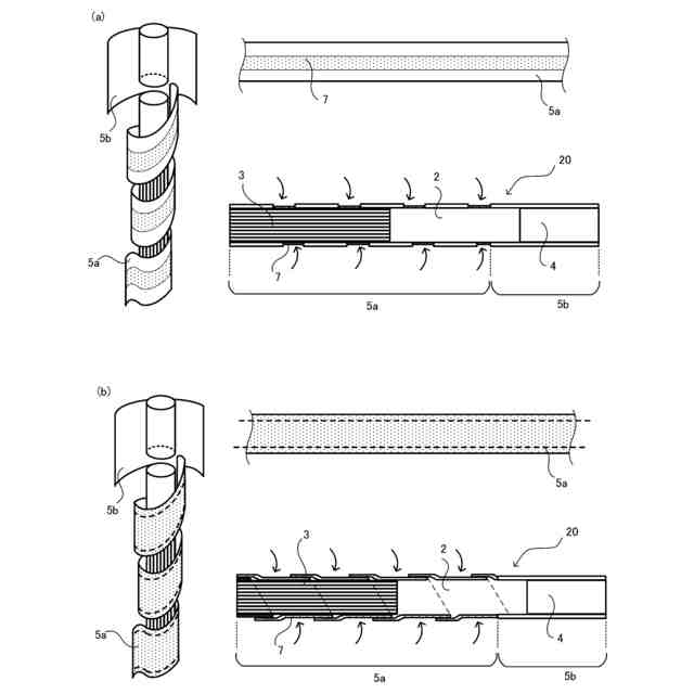
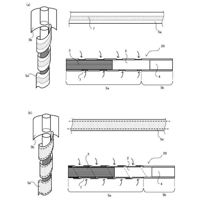
【解決手段】喫煙の際に口元側となる一端側にフィルター部材4が配置され、他端側にエアロゾル生成部材3が配置され、エアロゾル生成部材とフィルター部材との間に、貫通した空隙を有する構造の冷却部材2が配置されてなり、冷却部材とエアロゾル生成部材が、筒状の外装基材5a、5bの筒内部に収容されて一体化されてなる喫煙用カートリッジ20であって、外装基材は、紙を巻いてなる紙筒であり、紙筒は、紙筒を形成している紙の厚みよりも厚みが薄い薄手領域が1箇所以上設けられている。
【選択図】図3
特許請求の範囲
【請求項1】
喫煙の際に口元側となる一端側にフィルター部材が配置され、他端側にエアロゾル生成部材が配置され、前記エアロゾル生成部材と前記フィルター部材との間に、貫通した空隙を有する構造の冷却部材が配置されてなり、
前記冷却部材と前記エアロゾル生成部材が、筒状の外装基材の筒内部に収容されて一体化されてなる喫煙用カートリッジであって、
前記外装基材は、紙を巻いてなる紙筒であり、
前記紙筒は、前記紙筒を形成している紙の厚みよりも厚みが薄い薄手領域が1箇所以上設けられていることを特徴とする喫煙用カートリッジ。
続きを表示(約 170 文字)
【請求項2】
前記薄手領域は、前記紙筒の前記冷却部材に当たる部分に設けられている、
ことを特徴とする請求項1に記載の喫煙用カートリッジ。
【請求項3】
前記外装基材は、貫通した孔が、整列して或いは点在して複数個設けられている、
ことを特徴とする、請求項1または2のいずれか一項に記載の喫煙用カートリッジ。
発明の詳細な説明
【技術分野】
【0001】
本発明は、専用の加熱器具を用い、エアロゾルフォーマを含むエアロゾル生成部材(但
し、タバコ植物を含まない)を、その外周面を加熱することで生じるエアロゾル(気体)
を吸うタイプの喫煙用カートリッジに関し、詳しくは、紙筒の外周面からの熱が、紙筒内
のエアロゾル生成部材を構成する充填物に円滑に伝わるように構成した喫煙用カートリッ
ジ製品を提供する技術に関する。
続きを表示(約 3,300 文字)
【背景技術】
【0002】
近年の健康志向もあって、ニコチンによる健康被害を考慮し、従来の紙巻タバコに替わ
って喫煙の楽しみを与えるものとして、タバコの葉を含まない非タバコ植物やエアロゾル
フォーマ等のエアロゾル生成部材を専用の加熱器具で加熱し、発生するエアロゾル(気体
)を吸う方式の加熱式のタバコの開発及び利用が進んでいる。本明細書では、専用の加熱
器具のことを加熱式喫煙具又は加熱器具と呼び、該加熱式喫煙具内に挿入して使用される
、加熱によってエアロゾルを発生させる喫煙具のことを「喫煙用カートリッジ」と呼ぶ。
喫煙用カートリッジは、加熱式喫煙具に必須の消耗品である。なお、喫煙用カートリッジ
は、紙巻タバコのように燃焼させた際の煙を吸うのではなく、加熱により生じたエアロゾ
ルを吸うものであるが、本明細書では「喫煙」と呼ぶ。
【0003】
上記したように、加熱式のタバコは、従来の紙巻タバコとは全く異なる方式の喫煙具で
あり、近年、エアロゾル生成部材に、タバコの葉を含まない種々の材料を用いることで、
従来の紙巻タバコの代替品としての役割を超えて、健康志向に合致し、しかも従来にない
嗜好性に富んだ喫煙用カートリッジ製品が種々開発されており(特許文献1等参照)、多
くのものが市販され、利用されるようになってきている。
【0004】
ここで、エアロゾル生成部材を加熱するための加熱器具も、従来は全く存在していなか
った新製品であることから、デザイン性や機能性に優れた加熱式喫煙具製品が種々開発さ
れ、市販もされており、普及も進んでいる。エアロゾルの発生に大きな影響がある加熱方
式には大きくは下記の2種類あり、どちらの加熱方式の加熱器具も市販されている。すな
わち、エアロゾル生成部材の外周から、外装基材を介して内部に充填されているエアロゾ
ルを発生する充填物を加熱する方式と、エアロゾル生成部材の内部の充填物に加熱ブレー
ド等を差し込んで、外装基材内に収容されている充填物を直接加熱する方式がある。
【先行技術文献】
【特許文献】
【0005】
特許第6371928号公報
【発明の概要】
【発明が解決しようとする課題】
【0006】
上記したいずれの方式の加熱器具の場合であっても、加熱式喫煙具に設けられている挿
入口から喫煙用カートリッジを入れて、加熱器具の内部でエアロゾル生成部材を加熱し、
加熱式喫煙具を手に持ち、加熱しながら加熱器具の外側に位置する端部からエアロゾルを
喫煙する。口元側になるこの端部側には、一般的にフィルターが設けられている。
【0007】
喫煙用カートリッジの外形は、加熱式喫煙具に設けられている挿入部分の形状に依存す
る。先述したように、加熱式喫煙具は新製品であることから、高いデザイン性を有する様
々な形態の製品が知られており、製品の差別化が図られている。一方、加熱式喫煙具の機
能は、喫煙具の内部に挿入されたエアロゾル生成部材を加熱し、エアロゾル発生すること
ができれば足るので、加熱方式は先に挙げた2種類であり、喫煙用カートリッジの挿入口
や内部の口径も製品毎にサイズが異なるものでなく、ほぼ標準化されている。このため、
エアロゾル生成部材として利用できる原料は無限にあるという特徴を有することから、多
様な喫味を与える喫煙用カートリッジ製品が種々提供されているものの、喫煙用カートリ
ッジの太さは、ほぼ同様である。
【0008】
喫煙用カートリッジは、紙巻タバコのように、エアロゾル生成部材である充填物を燃焼
させてしまうものではなく、また、喫煙するエアロゾルの発生に大量の充填物を必要とす
るものでもないこと、デザイン性の高い加熱式喫煙具に利用するものであることから、提
供されている加熱式のタバコの喫煙用カートリッジ製品は、従来の紙巻タバコに比べて比
較的に太さが細い。そして、加熱式のタバコの消耗品である喫煙用カートリッジは、エア
ロゾル生成部材を加熱することで生じるエアロゾルを喫煙できるものであればよく、上記
したように、製品の太さがほぼ同様でありので、多様な喫煙用カートリッジ製品のいずれ
のものも、上記した2種類の加熱方式の加熱式喫煙具にも挿入することは可能である。
【0009】
ここで、現在、提供されている喫煙用カートリッジ製品は、加熱式喫煙具の挿入部分の
形状の違いに合わせて、その長さが大きく違う製品が提供されている。外周から充填物を
加熱する方式(以下、外周加熱とも呼ぶ。)に適用するための製品としては、例えば、全
長が75mmの長いタイプのものと、全長が55mmの短いタイプのものがある。エアロ
ゾル生成部材の充填物に加熱ブレード等を挿入して加熱する方式(以下、加熱ブレード方
式とも呼ぶ。)に適用するための製品は、全長が50mm程度であり、外周加熱に適用す
るための製品よりも短い。本発明者の検討によれば、上記外周加熱に適用する全長が75
mmの長いタイプの喫煙用カートリッジでは、エアロゾルを生成するための充填物が充填
されている部分(加熱領域)の長さは35mm程度あり、全長が55mmの短いタイプの
ものの加熱領域の長さは20mm程度である。一方、加熱ブレード方式に適用するための
全長が50mm程度の喫煙用カートリッジでは、エアロゾルを生成するための充填物が充
填されている部分(加熱領域)の長さは12mm程と短い。すなわち、加熱式喫煙具に挿
入した際に喫煙用カートリッジが必要とする加熱領域は、加熱式喫煙具の加熱方式によっ
て異なっており、外周加熱方式に適用する喫煙用カートリッジの方が、加熱ブレード方式
に適用する喫煙用カートリッジのものよりも、長さ方向に広い領域を占めているといった
違いがある。
【0010】
また、本発明者の検討によれば、外周加熱方式に適用するための喫煙用カートリッジ製
品では、その外装基材に、加熱ブレード方式に適用するための喫煙用カートリッジ製品を
構成する紙等の外装基材の厚みに比較して、厚みの薄いものが使用されている。具体的に
は、外装基材が、0.01mm~0.05mm程度の厚みの紙で形成されている。その理
由は、特に、外周加熱方式の加熱式喫煙具の場合は、加熱ブレード方式の加熱式喫煙具と
異なり、広い領域にわたって、しかも外装基材を介して充填物の内部まで加熱する必要が
あるのに対して、外周から加熱して充填物の内部まで加熱することは難しいことから、外
装基材である紙の厚みを薄くする必要があることによると考えられる。一方、加熱ブレー
ド方式の加熱式喫煙具に適用する喫煙カートリッジの場合は、充填物に加熱ブレード等を
挿入させた状態で加熱するため、使用する外装基材には、充填物が膨らんでも破れないだ
けの強度が求められ、その厚みをある程度厚くする必要があることから、例えば、薄い紙
を積層して強度を増すなどしてなる、0.1mm程度の厚みの厚い紙が用いられている。
このように、喫煙用カートリッジの開発においては、加熱式喫煙具に適用した場合におけ
る、加熱方式の違いによって生じる喫煙用カートリッジへの影響を考慮する必要がある。
(【0011】以降は省略されています)
この特許をJ-PlatPat(特許庁公式サイト)で参照する
関連特許
日本たばこ産業株式会社
香味吸引物品
1か月前
日本たばこ産業株式会社
香味発生物品
1か月前
日本たばこ産業株式会社
喫煙システム
2か月前
日本たばこ産業株式会社
口腔用組成物
2か月前
東莞市佳かい精密金属制品有限公司
充電可能な電子タバコケース
3か月前
Future Technology株式会社
エアロゾル吸引カートリッジ
1か月前
日本たばこ産業株式会社
香味吸引システム
2か月前
日本たばこ産業株式会社
香味吸引システム
2か月前
日本たばこ産業株式会社
低香味原料を含むたばこセグメント
1か月前
日本たばこ産業株式会社
粒状再生セルロースを含有する口腔用組成物
2か月前
日本たばこ産業株式会社
香味発生物品および香味吸引システム
2か月前
日本たばこ産業株式会社
電子装置
3か月前
日本たばこ産業株式会社
吸引器
2か月前
Future Technology株式会社
喫煙器具
1か月前
Future Technology株式会社
芳香基材
3か月前
日本たばこ産業株式会社
たばこ材料、その製造方法、および非燃焼加熱型喫煙物品
1か月前
Future Technology株式会社
芳香カートリッジ
9日前
Future Technology株式会社
タバコ充填物集積体
1か月前
Future Technology株式会社
喫煙具用カートリッジ
2か月前
Future Technology株式会社
喫煙具用カートリッジ
2か月前
Future Technology株式会社
喫煙具用カートリッジ
3か月前
Future Technology株式会社
喫煙具用カートリッジ
23日前
Future Technology株式会社
喫煙具用カートリッジ
2か月前
Future Technology株式会社
喫煙具用カートリッジ
1か月前
Future Technology株式会社
被加熱芳香カートリッジ
1か月前
Future Technology株式会社
電子タバコカートリッジ
1か月前
Future Technology株式会社
電子タバコカートリッジ
1か月前
Future Technology株式会社
電子タバコカートリッジ
1か月前
Future Technology株式会社
電子タバコカートリッジ
2か月前
Future Technology株式会社
電子タバコカートリッジ
今日
シェンチェン ギークベイプ テクノロジー カンパニー リミテッド
電子霧化装置
2か月前
Future Technology株式会社
加熱式タバコ用カートリッジ
1か月前
Future Technology株式会社
加熱式タバコ用カートリッジ
23日前
日本たばこ産業株式会社
非燃焼加熱型スティック、吸引システム
1か月前
ケーティー アンド ジー コーポレイション
エアロゾル生成システム
9日前
Future Technology株式会社
喫煙具用の柱状のカートリッジ
2か月前
続きを見る
他の特許を見る