TOP
|
特許
|
意匠
|
商標
特許ウォッチ
Twitter
他の特許を見る
10個以上の画像は省略されています。
公開番号
2025146730
公報種別
公開特許公報(A)
公開日
2025-10-03
出願番号
2025039387
出願日
2025-03-12
発明の名称
弾性フィルム、不織布要素および衛生用品
出願人
ニットウ・アドヴァンスト・フィルム・グローナウ・ゲゼルシャフト・ミト・ベシュレンクテル・ハフツング
,
日東電工株式会社
代理人
個人
,
個人
,
個人
,
個人
,
個人
主分類
B32B
27/32 20060101AFI20250926BHJP(積層体)
要約
【課題】改善された弾性挙動ならびに低コストで資源節約的な設計を特徴とする弾性フィルムを提供する。
【解決手段】弾性フィルム層(6)と、前記弾性フィルム層と共押出された少なくとも1つの第1の非弾性カバー層(4,5)とを有する弾性フィルム(3)であって、前記弾性フィルム層(6)は第1のポリマー成分Aおよび第2のポリマー成分Bを含むポリマー混合物から形成され、前記第1のポリマー成分がポリオレフィンまたはポリオレフィン混合物である弾性フィルム(3)に関する。本発明において、前記第2のポリマー成分Bは、前記ポリマー混合物中に28重量%~60重量%の量で存在するスチレンブロックコポリマーであり、前記ポリマー混合物は、1重量%未満の無機残部成分および5重量%未満の有機残部成分を含有する。
【選択図】図1
特許請求の範囲
【請求項1】
弾性フィルム層(6)と、前記弾性フィルム層と共押出された少なくとも1つの第1の非弾性カバー層(4,5)とを有する弾性フィルム(3)であって、前記弾性フィルム層(6)は第1のポリマー成分Aおよび第2のポリマー成分Bを含むポリマー混合物から形成され、前記第1のポリマー成分はポリオレフィンまたはポリオレフィン混合物である弾性フィルム(3)において、
前記第2のポリマー成分Bは、前記ポリマー混合物中に28重量%~60重量%の量で存在するスチレンブロックコポリマーであり、前記ポリマー混合物は、1重量%未満の無機残部成分および5重量%未満の有機残部成分を含有することを特徴とする、前記弾性フィルム(3)。
続きを表示(約 1,000 文字)
【請求項2】
前記第2のポリマー成分が、前記ポリマー混合物中に30重量%~55重量%の量で存在することを特徴とする、請求項1に記載の弾性フィルム(3)。
【請求項3】
前記第2のポリマー成分Bが、スチレン-エチレン-エチレン-プロピレン-スチレンブロックコポリマー(SEEPS)であることを特徴とする、請求項1または2に記載の弾性フィルム(3)。
【請求項4】
前記第1のポリマー成分Aが、第1のポリオレフィンと第2のポリオレフィンとのポリオレフィン混合物であり、前記第1のポリオレフィンの重量割合と前記第2のポリオレフィンの重量割合との間の比が1:3~2:3であることを特徴とする、請求項1~3のいずれか一項に記載の弾性フィルム(3)。
【請求項5】
前記第1のポリマー成分Aが、ポリオレフィンエラストマーを含むか、またはポリオレフィンエラストマーから構成されることを特徴とする、請求項1~4のいずれか一項に記載の弾性フィルム(3)。
【請求項6】
第2の非弾性カバー層(4,5)が前記弾性フィルム層(6)と共押出され、前記弾性フィルム層(6)が前記第1および第2のカバー層(4,5)との間に配置されていることを特徴とする、請求項1~5のいずれか一項に記載の弾性フィルム(3)。
【請求項7】
前記弾性フィルム層(6)の厚さと、それぞれ前記第1および/または第2のカバー層(4,5)の厚さとの比が、6:1~15:1であることを特徴とする、請求項1~6のいずれか一項に記載の弾性フィルム(3)。
【請求項8】
前記第1および/または第2のカバー層(4,5)が、主成分としてのポリオレフィンから形成されることを特徴とする、請求項1~7のいずれか一項に記載の弾性フィルム(3)。
【請求項9】
前記第1および/または第2のカバー層(4,5)がそれぞれ、直鎖状低密度ポリエチレン(LLDPE)を含み、その割合が少なくとも40重量%であることを特徴とする、請求項8に記載の弾性フィルム(3)。
【請求項10】
前記第1および/または第2のカバー層(4,5)がフィラーを含むことを特徴とする、請求項1~9のいずれか一項に記載の弾性フィルム(3)。
(【請求項11】以降は省略されています)
発明の詳細な説明
【技術分野】
【0001】
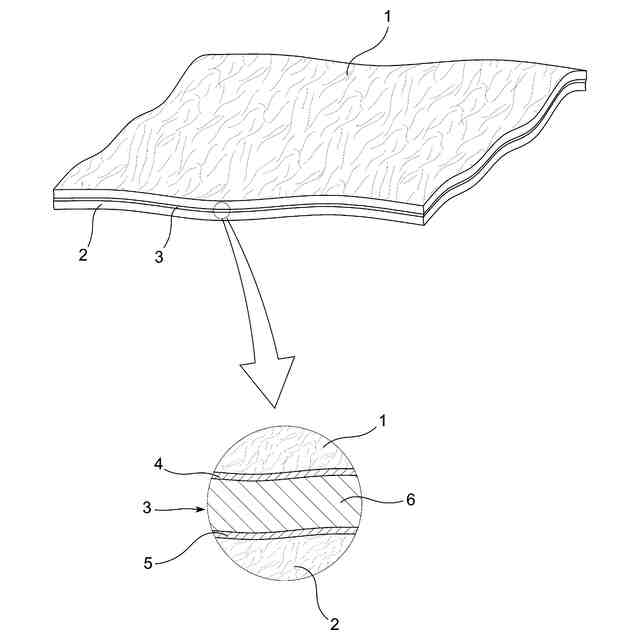
本発明は、弾性フィルム層と、前記弾性フィルム層と共押出された少なくとも1つの第1の非弾性カバー層とを有する弾性フィルムに関する。
続きを表示(約 2,300 文字)
【0002】
このような弾性フィルムは、通常、弾性積層体を製造するために使用される。そのような積層体は特に、例えば使い捨ておむつ、使い捨てパンツ、または成人用の使い捨て失禁用品等の衛生分野の使い捨て用品に適している。これらの製品では、一方では、単純で、低コストで、資源節約的な構造が必要であり、他方では、良好で、信頼できるフィット性が必要である。前記弾性積層体を用いることにより、弾性領域、例えばおむつの耳、ウエストバンドなどを形成することができる。包帯またはヒーティングベルトなどの特定の医療用途に使用することもできる。以下でおむつについて特に言及する場合、この用途は、単に例示的なものとしてみなされるべきである。
【背景技術】
【0003】
おむつ(特に乳幼児用のおむつ)は、使い捨ての大量生産品として製造され、その結果、効率的な材料利用および低い製造コストに対して特に高い要求が生じる。
【0004】
しかしながら、さらに同時に、全ての使用条件下で、おむつを着用する人のための高いレベルの安全性及び確実な保護を担保できるために、高度な機能性も必要である。例えば、一晩にわたって、大量の排泄物を収容し、確実に留めておかなければならず、使用者の腰部および脚部での密閉のために、使い捨ておむつは、弾性の要素およびセクションを備える。
【0005】
弾性の側面部分、特に側面でのおむつの閉鎖を形成するために、弾性積層体であって、それらの向かい合った外側に不織布の層を有し、その間にコアとして弾性フィルムを有する弾性積層体が知られている。この弾性コアは、従来技術では、例えば、完全に一体化された弾性フィルムによって又は弾性ストランドによって形成することができる。
【0006】
従って、この弾性フィルムは、積層体の弾性挙動にとって重要であり、当該弾性フィルムは、共押出多層複合体として公知の方法で形成される。従って、弾性フィルムは、非弾性材料でできた少なくとも1つのカバー層を有し、ここで、前記フィルムの弾性は、それに隣接する弾性フィルム層を介して達成される。非弾性カバー層によって、共押出された材料が製造中に互いにブロッキングしないことを担保し、それによって、弾性フィルムの取り扱いがはるかに容易になる。
【0007】
さらに、非弾性カバー層は、ウェブ張力を維持するのにも寄与する。フィルムは、通常、製造および加工プロセス中に機械方向(MD)に沿って搬送されるが、弾性フィルムを機械方向に搬送するためには、ウェブ張力が加えられなければならないことに留意すべきである。弾性フィルムが弾性フィルム層にわたってのみ形成された場合、このウェブ張力により、材料が少なくとも部分的に長くなり、加工がより困難になる。それでもなお弾性フィルム層の弾性を利用できるためには、フィルム全体をとりわけ機械方向に延伸しなければならない。これにより、カバー層が薄くなり、戻されたときにはしわが寄る。カバー層の脆性または伸展性に応じて、これらはまた、代替的にまたは追加的に破裂し得る。従って、フィルムを延伸することにより、弾性フィルム層の弾性挙動があらわになる。このようなステップは、通常、延伸により弾性フィルムの弾性挙動が活性化されるので、活性化とも呼ばれる。
【0008】
弾性挙動は本質的に、使用されるエラストマー材料によって決まり、従来技術ではポリオレフィンエラストマー(POE)を使用することが知られている。そのようなエラストマーは、積層体の製造プロセス中に、外側層への、特に不織布でできた外側層への、特に良好な結合を可能にするという利点を有する。今日実際には、この結合は多くの場合に、超音波溶着法によって行われ、当該方法では、超音波エネルギーを加えることによって、不織布層が、弾性フィルムの上に、または弾性フィルムを通って、互いに接合される。ここで、ポリオレフィンエラストマーは延伸された状態で非常に良好な固有強度を有し、それによって、弾性フィルムは、例えば、延伸された状態での超音波接合中の引裂に対して、特に抵抗性となる。
【0009】
あるいは、スチレンブロックコポリマー(SBC)でできた弾性フィルム層も実際に特に好適であることが示されており、スチレンブロックコポリマーをベースとする弾性フィルム層は、ポリオレフィンエラストマーをベースとする弾性フィルム層よりも優れた弾性特性を有する。しかしながら、同時に固有強度も低下する。この背景に対して、弾性フィルムであって、弾性フィルム層が第1のポリマー成分Aおよび第2のポリマー成分Bを有するポリマー混合物から形成され、第1のポリマー成分がポリオレフィン、特にエラストマーポリオレフィン、またはポリオレフィン混合物である弾性フィルムが、実際に特に有利であることが示されている。
【0010】
例えば、EP3126140B1(特許文献1)は、エラストマーフィルム層が2つの非弾性カバー層の間に配置されている多層弾性フィルムを提案している。ここで、弾性フィルム層は、本質的にエラストマーポリオレフィンからなり、30%までの第2のポリマー成分Bを含むことができ、それは主にスチレン-エチレン-ブチレン-スチレン(SEBS)である。さらに、ある量の無機粒子、例えば、粘土もまた含まれ得る。それによって、弾性フィルム層の強度が改善される。それによって特に、より低い破断点伸びでより高い破断強度がもたらされる。
(【0011】以降は省略されています)
この特許をJ-PlatPat(特許庁公式サイト)で参照する
関連特許
東レ株式会社
積層体
8か月前
東レ株式会社
積層体
4か月前
ユニチカ株式会社
積層体
7か月前
個人
箔転写シート
4か月前
東レ株式会社
積層構造体
8か月前
ユニチカ株式会社
積層体
1か月前
東レ株式会社
積層フィルム
2か月前
東レ株式会社
積層フィルム
1か月前
東レ株式会社
積層フィルム
6か月前
東レ株式会社
強化繊維基材
4か月前
個人
鋼材の塗膜構造
1か月前
東レ株式会社
強化繊維基材
4か月前
東レ株式会社
積層フィルム
7か月前
アイカ工業株式会社
化粧板
12か月前
東レ株式会社
加飾用フィルム
今日
エスケー化研株式会社
積層体
7か月前
東洋紡株式会社
積層包装材料
1か月前
東ソー株式会社
多層フィルム
6か月前
ユニチカ株式会社
透明シート
1か月前
東ソー株式会社
多層フィルム
4か月前
積水樹脂株式会社
磁性シート
6か月前
アイカ工業株式会社
光学積層体
5か月前
三菱製紙株式会社
不織布積層体
6か月前
東ソー株式会社
蓋材用フィルム
10か月前
大倉工業株式会社
多層フィルム
7か月前
東レ株式会社
多層積層フィルム
16日前
日本バイリーン株式会社
表皮材
2か月前
日本発條株式会社
積層体
4日前
個人
加熱調理に利用可能な鉄製品
9か月前
東レ株式会社
サンドイッチ構造体
11か月前
大吉シール株式会社
積層体
4日前
東レ株式会社
サンドイッチ構造体
24日前
東レ株式会社
電子機器筐体用部材
8か月前
artience株式会社
積層体
4か月前
東レ株式会社
電子機器筐体用部材
8か月前
豊田合成株式会社
樹脂製品
3か月前
続きを見る
他の特許を見る