TOP
|
特許
|
意匠
|
商標
特許ウォッチ
Twitter
他の特許を見る
公開番号
2025152339
公報種別
公開特許公報(A)
公開日
2025-10-09
出願番号
2024054183
出願日
2024-03-28
発明の名称
測量システム及び測量方法
出願人
株式会社トプコン
代理人
個人
主分類
G01C
15/00 20060101AFI20251002BHJP(測定;試験)
要約
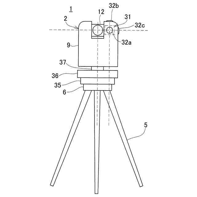
【課題】レーザスキャナとカメラとの視差を低減可能な測量システム及び測量方法を提供する。
【解決手段】三脚5上に設けられた測量装置2と、該測量装置に対して既知の位置に設けられたカメラ4とを有する測量システム1であって、前記カメラは少なくとも前記測量装置の正面側と一方の側面側の広角画像を取得可能な複数の撮像部15a,15b,15cを有し、前記測量装置の機械中心と前記カメラの光学中心の高さは一致し、前記機械中心と前記光学中心の水平距離は既知であり、前記測量装置と前記カメラは高さ方向に直交する少なくとも1軸方向に一体にスライド可能に構成された。
【選択図】図1
特許請求の範囲
【請求項1】
三脚上に設けられた測量装置と、該測量装置に対して既知の位置に設けられたカメラとを有する測量システムであって、前記カメラは少なくとも前記測量装置の正面側と一方の側面側の広角画像を取得可能な複数の撮像部を有し、前記測量装置の機械中心と前記カメラの光学中心の高さは一致し、前記機械中心と前記光学中心の水平距離は既知であり、前記測量装置と前記カメラは高さ方向に直交する少なくとも1軸方向に一体にスライド可能に構成された測量システム。
続きを表示(約 1,600 文字)
【請求項2】
前記測量装置は測距光を発し、測定対象物からの反射測距光を受光する測距部と、前記測距光を照射する回転部と、該回転部を鉛直方向に回転させる鉛直回転駆動部と、前記回転部が設けられる測量装置本体と、該測量装置本体を水平方向に回転させる水平回転駆動部と、前記測距光の照射方向を検出する測角部と、前記鉛直回転駆動部と前記水平回転駆動部の駆動を制御し、前記反射測距光の受光結果と前記測角部の検出結果に基づき3次元の点群データを演算する演算制御部とを有し、該演算制御部は、前記カメラが取得した複数の広角画像を合成して全周画像を作成し、前記点群データと前記全周画像とを合成する様に構成された請求項1に記載の測量システム。
【請求項3】
前記測量装置は、前記測量装置本体と一体に回転するレール部を更に有し、前記測量装置本体は前記レール部に沿ってスライド可能であり、前記カメラはアダプタを介して前記測量装置本体に取付けられた請求項2に記載の測量システム。
【請求項4】
前記測量装置は、前記測量装置本体と一体に回転するレール部と、該レール部に沿ってスライドするスライダ部とを更に有し、前記測量装置本体は前記スライダ部上に設けられ、前記カメラは前記測量装置本体の回転軸心と平行に延出するアダプタを介して前記スライダ部上に設けられた請求項2に記載の測量システム。
【請求項5】
前記測量装置は、前記測量装置本体と一体に回転するレール部を更に有し、前記測量装置本体は前記レール部に沿ってスライド可能であり、前記カメラは前記測量装置本体に内蔵された請求項2に記載の測量システム。
【請求項6】
前記測量装置は、前記測量装置本体がスライド可能なレール部を更に有し、前記カメラは、前記測量装置本体の回転軸心に対して対称な位置に設けられた2つのカメラから構成されるカメラ群であり、前記カメラは少なくとも前記測量装置本体の正面側と、背面側と、一方の側面側と、他方の側面側の4つの広角画像を取得可能な4つの撮像部を有する請求項2に記載の測量システム。
【請求項7】
前記レール部は、高さ方向に直交し1軸方向に延出する第1レール部と、高さ方向及び前記第1レール部と直交し、前記第1レール部に沿ってスライド可能な第2レール部から構成され、前記測量装置本体と前記カメラとが前記第2レール部に沿ってスライド可能に構成された請求項5に記載の測量システム。
【請求項8】
前記カメラは、天頂方向の広角画像を取得可能な天頂撮像部を更に有し、該天頂撮像部の入射瞳位置の高さ方向の位置が前記測量装置本体の機械中心と一致又は略一致する様に構成された請求項7に記載の測量システム。
【請求項9】
前記アダプタは、前記カメラの高さ方向の調整が可能に構成された請求項3又は請求項4に記載の測量システム。
【請求項10】
請求項2~請求項5又は請求項7のうちいずれか1項に記載の測量システムを用いた測量方法であって、前記測量装置本体の機械中心が基準位置に位置する第1の測定位置で前記測量装置本体に点群データを取得させ、前記測量装置本体及び前記カメラを前記カメラの光学中心が基準位置に位置する第2の測定位置迄スライドさせ、該第2の測定位置で前記カメラに画像を取得させ、前記測量装置本体を180°回転させ、前記測量装置本体及び前記カメラを前記カメラの光学中心が基準位置に位置する第3の測定位置迄スライドさせ、該第3の測定位置で前記カメラに画像を取得させ、前記第2の測定位置と前記第3の測定位置で取得した画像に基づき全周画像を作成させ、該全周画像と点群データに基づき色付きの点群データを作成する測量方法。
(【請求項11】以降は省略されています)
発明の詳細な説明
【技術分野】
【0001】
本発明は測定対象物の3次元点群データや画像を取得可能な測量システム及び測量方法に関するものである。
続きを表示(約 1,400 文字)
【背景技術】
【0002】
測定対象物の形状や3次元点群データを取得する為の測量装置として、例えば3次元レーザスキャナがある。又、測定対象物及び測定対象物の周囲を広範囲に撮影する為の撮像装置として、全周カメラがある。
【0003】
又、測量装置としてカメラが内蔵或は外付けされたレーザスキャナがあり、レーザスキャナと全周カメラとを用いることで、3次元座標付きの画像を取得することができる。
【0004】
然し乍ら、従来の測量装置では、レーザスキャナの機械中心とカメラの光学中心の位置がずれている為、レーザスキャナとカメラとを同時に使用すると、光軸のズレによる視差が生じることとなる。この為、レーザスキャナで取得された点群データの中心と、カメラの中心とにズレが生じ、点群データの色付けが困難であった。
【先行技術文献】
【特許文献】
【0005】
米国特許出願公開第2021/0055420号明細書
特開2012-204982号公報
【発明の概要】
【発明が解決しようとする課題】
【0006】
本発明は、レーザスキャナとカメラとの視差を低減可能な測量システム及び測量方法を提供するものである。
【課題を解決するための手段】
【0007】
本発明は、三脚上に設けられた測量装置と、該測量装置に対して既知の位置に設けられたカメラとを有する測量システムであって、前記カメラは少なくとも前記測量装置の正面側と一方の側面側の広角画像を取得可能な複数の撮像部を有し、前記測量装置の機械中心と前記カメラの光学中心の高さは一致し、前記機械中心と前記光学中心の水平距離は既知であり、前記測量装置と前記カメラは高さ方向に直交する少なくとも1軸方向に一体にスライド可能に構成された測量システムに係るものである。
【0008】
又本発明は、前記測量装置は測距光を発し、測定対象物からの反射測距光を受光する測距部と、前記測距光を照射する回転部と、該回転部を鉛直方向に回転させる鉛直回転駆動部と、前記回転部が設けられる測量装置本体と、該測量装置本体を水平方向に回転させる水平回転駆動部と、前記測距光の照射方向を検出する測角部と、前記鉛直回転駆動部と前記水平回転駆動部の駆動を制御し、前記反射測距光の受光結果と前記測角部の検出結果に基づき3次元の点群データを演算する演算制御部とを有し、該演算制御部は、前記カメラが取得した複数の広角画像を合成して全周画像を作成し、前記点群データと前記全周画像とを合成する様に構成された測量システムに係るものである。
【0009】
又本発明は、前記測量装置は、前記測量装置本体と一体に回転するレール部を更に有し、前記測量装置本体は前記レール部に沿ってスライド可能であり、前記カメラはアダプタを介して前記測量装置本体に取付けられた測量システムに係るものである。
【0010】
又本発明は、前記測量装置は、前記測量装置本体と一体に回転するレール部と、該レール部に沿ってスライドするスライダ部とを更に有し、前記測量装置本体は前記スライダ部上に設けられ、前記カメラは前記測量装置本体の回転軸心と平行に延出するアダプタを介して前記スライダ部上に設けられた測量システムに係るものである。
(【0011】以降は省略されています)
この特許をJ-PlatPat(特許庁公式サイト)で参照する
関連特許
株式会社トプコン
眼科装置
4日前
株式会社トプコン
測定装置
2日前
株式会社トプコン
眼科装置
4日前
株式会社トプコン
眼科装置
3日前
株式会社トプコン
眼科装置
3日前
株式会社トプコン
眼科装置
2日前
株式会社トプコン
測定装置
2日前
株式会社トプコン
眼科装置
8日前
株式会社トプコン
測定装置
1日前
株式会社トプコン
ミラー部材
1日前
株式会社トプコン
測量システム
1日前
株式会社トプコン
多面反射装置
12日前
株式会社トプコン
眼底観察装置
2日前
株式会社トプコン
視標呈示装置
2日前
株式会社トプコン
3次元測量装置
22日前
株式会社トプコン
非接触式眼圧計
1日前
株式会社トプコン
測量装置の校正方法
8日前
株式会社トプコン
眼科システム及び端末装置
16日前
株式会社トプコン
測量システム及び測量方法
2日前
株式会社トプコン
眼科システム及び端末装置
1か月前
株式会社トプコン
眼科装置及び変換式の生成方法
3日前
株式会社トプコン
物体検出装置および測量システム
1日前
株式会社トプコン
測量システム及び測量方法及び測量プログラム
16日前
株式会社トプコン
計測モジュールを用いた3次元データ計測システム
1日前
株式会社トプコン
傾斜検出装置及び該傾斜検出装置を用いた傾斜検出方法
12日前
株式会社トプコン
3次元データ計測システムおよび3次元データ計測方法
1日前
株式会社トプコン
眼科装置
8日前
株式会社トプコン
眼科装置
8日前
株式会社トプコン
眼科装置
8日前
株式会社トプコン
点群処理装置、点群処理方法および点群処理用プログラム
1か月前
株式会社トプコン
眼科装置、眼科装置を制御する方法、プログラム、及び記録媒体
2日前
株式会社トプコン
眼科装置、眼科装置を制御する方法、プログラム、及び記録媒体
1か月前
株式会社トプコン
眼科装置、眼科装置を制御する方法、プログラム、及び記録媒体
2か月前
株式会社トプコン
代替ターゲットの位置測定方法、点群計測装置、点群情報処理装置、媒体
2日前
株式会社トプコン
測量データ処理装置、測量データ処理方法および測量データ処理用プログラム
12日前
株式会社トプコン
レーザースキャン装置、レーザースキャンデータの処理方法およびプログラム
1か月前
続きを見る
他の特許を見る