TOP
|
特許
|
意匠
|
商標
特許ウォッチ
Twitter
他の特許を見る
公開番号
2025151847
公報種別
公開特許公報(A)
公開日
2025-10-09
出願番号
2024053448
出願日
2024-03-28
発明の名称
測定装置
出願人
株式会社トプコン
代理人
個人
,
個人
,
個人
主分類
G01C
15/00 20060101AFI20251002BHJP(測定;試験)
要約
【課題】複数の透過窓を接合する接着剤にレーザ光が当たっても、不要な反射光や照射対象位置以外への照射を防止して、正確な測定を行える測定装置を提供すること。
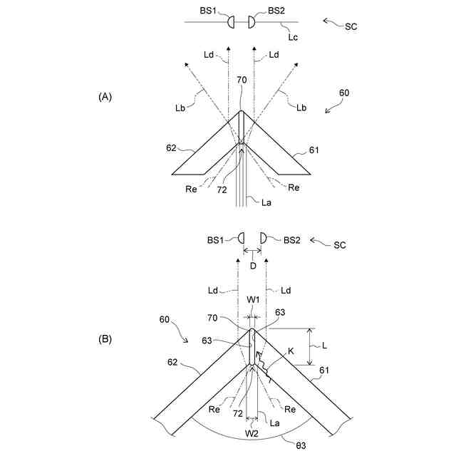
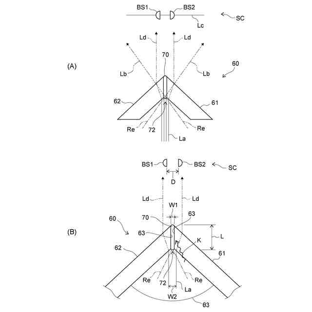
【解決手段】回転可能であって、照射対象物に向けてレーザ光Laを出射するレーザ出射部50と、レーザ出射部50から出射されたレーザ光Laが外部に出射する際に透過する複数の透過窓61,62とを備え、複数の透過窓61,62は、互いに角度が異なり、かつ、レーザ出射部50の回転方向RLに連続して配置され、隣接する複数の透過窓61,62の端面どうしは接着剤70で接合されており、接着剤70は、レーザ出射部50側の端面72がレンズ効果をもたらすように湾曲しており、かつ、不透明であることを特徴とする。
【選択図】図6
特許請求の範囲
【請求項1】
回転可能であって、照射対象物に向けてレーザ光を出射するレーザ出射部と、
前記レーザ出射部から出射された前記レーザ光が外部に出射する際に透過する複数の透過窓と
を備え、
前記複数の透過窓は、互いに角度が異なり、かつ、前記レーザ出射部の回転方向に連続して配置され、
隣接する前記複数の透過窓の端面どうしは接着剤で接合されており、
前記接着剤は、前記レーザ出射部側の端面がレンズ効果をもたらすように湾曲しており、かつ、不透明である
ことを特徴とする測定装置。
続きを表示(約 580 文字)
【請求項2】
前記レーザ出射部は、前記透過窓に向けて出射される出射点を有し、
前記複数の透過窓どうしの前記接着剤で接合された接合面は、前記レーザ出射部の回転中心軸と前記出射点とを結ぶ直線に沿っている
ことを特徴とする請求項1に記載の測定装置。
【請求項3】
前記レーザ出射部は、前記透過窓が一部とされた筐体の内側に配置され、
前記透過窓は、前記筐体の正面に配置された正面透過窓、及び前記筐体の上面に配置された上面透過窓を有し、
前記正面透過窓は、これに当たった前記レーザ光の光軸と直交しないように水平方向に傾斜して配置され、
前記上面透過窓は、これに当たった前記レーザ光の光軸と直交しないように垂直方向に傾斜して配置されている
ことを特徴とする請求項2に記載の測定装置。
【請求項4】
前記筐体には、前記上面より上方であって、かつ、前記上面透過窓よりも後方にグリップ部を有するハンドルが設けられ、
前記上面透過窓は正面側から背面側に向かって除々に下方となるように傾斜している
ことを特徴とする請求項3に記載の測定装置。
【請求項5】
前記接着剤は、黒色系統の液体接着剤であることを特徴とする請求項1ないし4のいずれかに記載の測定装置。
発明の詳細な説明
【技術分野】
【0001】
本発明は、レーザ光が複数枚の透過窓を透過可能な測定装置に関する。
続きを表示(約 2,700 文字)
【背景技術】
【0002】
従来から、レーザ光を利用した測定装置が知られており、出射したレーザ光の反射光を受光して対象物の空間位置情報を取得したり、レーザ光を対象物に当てて土木建築の基準面や基準線を定めたりする等、様々な場面で測定装置が利用されている。この測定装置については、測定範囲を広げるため、例えばレーザ光を出射するレーザ出射部を鉛直回転させると共に、このレーザ出射部を支持する土台部分を水平回転させている。
【0003】
特許文献1はこのような測定装置であり、トータルステーションの上にレーザスキャナを有する。レーザスキャナは、水平軸心を中心に垂直方向に回転可能であって、レーザ光を出射する回転部(レーザ出射部)を有する。また、このレーザスキャナの土台となる台座は水平方向に回転するようになっている。このため、レーザスキャナは、垂直/水平方向に広範囲にパルスレーザ光を出射することができ、これにより受光対象物の点群データを取得して、その形状や位置を測定している。
かかるレーザ出射部となる回転部は保護ケースで覆われている。保護ケースはレーザ光を透過するガラス等の透過窓であり、測定範囲を広げるため、レーザ光を出射する回転部に対応して複数枚の透過窓を回転方向に配列し、そして、互いの端面を接合している。
【先行技術文献】
【特許文献】
【0004】
特開2021-21678公報
【発明の開示】
【発明が解決しようとする課題】
【0005】
ところが、特許文献1のような複数枚の透過窓を接着剤で接合すると、接着剤にレーザ光が当たって、出射してきた方向に返る反射光が生じるリスクがある。このような反射光は測定に誤差を与える恐れがある。また、塗布された接着剤の形状によっては、接着剤に当たったレーザ光が屈折により照射対象ではない位置に不要な照射をしてしまう恐れもある。
【0006】
本発明は、このような問題を解決するものであり、複数の透過窓を接合する接着剤にレーザ光が当たっても、不要な反射光や照射対象位置以外への不要な照射を防止して、正確な測定を行える測定装置を提供することを目的とする。
【課題を解決するための手段】
【0007】
上記課題は、回転可能であって、照射対象物に向けてレーザ光を出射するレーザ出射部と、前記レーザ出射部から出射された前記レーザ光が外部に出射する際に透過する複数の透過窓とを備え、前記複数の透過窓は、互いに角度が異なり、かつ、前記レーザ出射部の回転方向に連続して配置され、隣接する前記複数の透過窓の端面どうしは接着剤で接合されており、前記接着剤は、前記レーザ出射部側の端面がレンズ効果をもたらすように湾曲しており、かつ、不透明である測定装置により解決される。
【0008】
上記発明によれば、回転可能なレーザ出射部と、レーザ出射部から出射されたレーザ光が外部に出射する際に透過する透過窓とを備え、互いに角度の異なる複数の透過窓をその回転方向に連続して有している。このため、広範囲にレーザ光を出射して、照射対象を広げられると共に、透過窓でレーザ出射部を保護できる。
また、隣接する複数の透過窓の端面どうしを接合する接着剤は、レーザ出射部側の端面がレンズ効果をもたらすように湾曲している。例えば、接着剤端面は湾曲凹凸面になっており、このためレーザ光が接着剤に当たると、その反射光は拡散するのでレーザ出射部に戻る恐れを低減でき、反射光による測定への悪影響を防止できる。
ところが、接着剤の湾曲凹凸面などでレンズ効果をもたらすと、これに当たったレーザ光が透過、屈折して外部に出射され、照射対象物の周辺に不要なレーザ光(例えば不要なレーザライン)を照射してしまう。しかし、本発明の接着剤は不透明であるため、これにレーザ光が当たっても吸収し、不要なレーザ光の照射を防止できる。更に、接着剤がレーザ光を吸収すると、接着剤に当たって返ってくる不要な反射光も防止できる。このように、従来、透明な透過窓に用いられる接着剤は透明であるべきと考えられていたところ、接着剤を不透明にすることで、不要な反射光の防止と、照射対象物周辺への不要な照射の防止という2つの有利な効果を得ることができる。
【0009】
また好ましくは、前記レーザ出射部は、前記透過窓に向けて出射される出射点を有し、前記複数の透過窓どうしの前記接着剤で接合された接合面は、前記レーザ出射部の回転中心軸と前記出射点とを結ぶ直線に沿っていることを特徴とする。
そうすると、透過窓の接合面をレーザ光の光軸に沿わせて、接着剤の正面からレーザ光を当てられる。従って、不透明接着剤により発生する照射対象物に照射されない範囲を小さくすることができる。即ち、レーザ光が不透明接着剤に当たると、その部分のレーザ光は吸収され、照射対象物に照射されない部分が生じ、例えば互いに分離したビームスポットのようにして照射される。ところが、接着剤の正面(レーザ出射部側の端面)からレーザ光を当てることで、接着剤の側面にレーザ光を当てる場合に比べて光の吸収範囲を小さくできる。従って、たとえ分離したビームスポットが生じても、その間隔を可及的に狭めることができ、この分離したビームスポットどうしの間を狙って位置を特定すれば、特段支障の無い運用が可能となる。かくして、接着剤を不透明にしたことで生じる問題も解決できる。
【0010】
また好ましくは、前記レーザ出射部は、前記透過窓が一部とされた筐体の内側に配置され、前記透過窓は、前記筐体の正面に配置された正面透過窓、及び前記筐体の上面に配置された上面透過窓を有し、前記正面透過窓は、これに当たった前記レーザ光の光軸と直交しないように水平方向に傾斜して配置され、前記上面透過窓は、これに当たった前記レーザ光の光軸と直交しないように垂直方向に傾斜して配置されていることを特徴とする。
そうすると、筐体の一部とされた透過窓は正面透過窓と上面透過窓を有するため、レーザ出射部が筐体内で保護されたとしても、レーザ光を正面側にも上面側にも出射でき、例えば建築物の正面の壁面から天井にいたるまで広範囲にわたって基準点等をトレースできる。そして、正面透過窓も上面透過窓も、これらに当たったレーザ光の光軸と直交しないため、該透過窓に当たった反射光がレーザ出射部に戻ってくることを防止し、測定への悪影響を防止できる。
(【0011】以降は省略されています)
この特許をJ-PlatPat(特許庁公式サイト)で参照する
関連特許
株式会社トプコン
測定装置
4日前
株式会社トプコン
眼科装置
6日前
株式会社トプコン
眼科装置
4日前
株式会社トプコン
測定装置
3日前
株式会社トプコン
眼科装置
5日前
株式会社トプコン
眼科装置
6日前
株式会社トプコン
眼科装置
5日前
株式会社トプコン
測定装置
4日前
株式会社トプコン
ミラー部材
3日前
株式会社トプコン
視標呈示装置
4日前
株式会社トプコン
眼底観察装置
4日前
株式会社トプコン
測量システム
3日前
株式会社トプコン
非接触式眼圧計
3日前
株式会社トプコン
測量システム及び測量方法
4日前
株式会社トプコン
眼科装置及び変換式の生成方法
5日前
株式会社トプコン
物体検出装置および測量システム
3日前
株式会社トプコン
計測モジュールを用いた3次元データ計測システム
3日前
株式会社トプコン
3次元データ計測システムおよび3次元データ計測方法
3日前
株式会社トプコン
眼科装置
10日前
株式会社トプコン
眼科装置
10日前
株式会社トプコン
眼科装置、眼科装置を制御する方法、プログラム、及び記録媒体
4日前
株式会社トプコン
代替ターゲットの位置測定方法、点群計測装置、点群情報処理装置、媒体
4日前
株式会社トプコン
測量装置の補正画像表示方法、測量装置、および測量装置の自動視準または自動追尾のためのターゲット光位置特定方法
4日前
個人
メジャー文具
6日前
日本精機株式会社
位置検出装置
12日前
ユニパルス株式会社
ロードセル
5日前
日本精機株式会社
位置検出装置
12日前
日本精機株式会社
位置検出装置
12日前
大和製衡株式会社
組合せ秤
17日前
大和製衡株式会社
組合せ秤
17日前
アズビル株式会社
圧力センサ
11日前
エイブリック株式会社
磁気センサ回路
11日前
トヨタ自動車株式会社
監視装置
4日前
株式会社チノー
放射光測温装置
5日前
株式会社東芝
センサ
17日前
株式会社ヨコオ
ソケット
5日前
続きを見る
他の特許を見る