TOP
|
特許
|
意匠
|
商標
特許ウォッチ
Twitter
他の特許を見る
10個以上の画像は省略されています。
公開番号
2025153026
公報種別
公開特許公報(A)
公開日
2025-10-10
出願番号
2024055284
出願日
2024-03-29
発明の名称
ミラー部材
出願人
株式会社トプコン
代理人
弁理士法人前川知的財産事務所
主分類
G02B
26/08 20060101AFI20251002BHJP(光学)
要約
【課題】信頼性が高く容易に製造可能なミラー部材を提供すること。
【解決手段】ミラー部材は、本体枠と、ミラーと、本体枠の内縁及びミラーを放射状に接続する複数の支持部と、を備える。支持部は、ミラーと接続されてミラーの回動中心から内縁側に径方向に延設される第一支持杆と、第一支持杆と接続されて回動中心に対する第一周方向側に延設される第二支持杆と、第二支持杆と接続されて第二支持杆に対し回動中心の外径側において第一周方向とは反対の第二周方向側に延設される第三支持杆と、第三支持杆と接続されて第三支持杆に対し回動中心の外側において第一周方向側に延設される第四支持杆と、第四支持杆から径方向に延設されて第四支持杆及び内縁と接続される第五支持杆と、を備える。
【選択図】図5
特許請求の範囲
【請求項1】
本体枠と、ミラーと、前記本体枠の内縁及び前記ミラーを放射状に接続する複数の支持部と、を備え、
前記支持部は、
前記ミラーと接続されて前記ミラーの回動中心から前記内縁側に径方向に延設される第一支持杆と、
前記第一支持杆と接続されて前記回動中心に対する第一周方向側に延設される第二支持杆と、
前記第二支持杆と接続されて前記第二支持杆に対し前記回動中心の外径側において前記第一周方向とは反対の第二周方向側に延設される第三支持杆と、
前記第三支持杆と接続されて前記第三支持杆に対し前記回動中心の外側において前記第一周方向側に延設される第四支持杆と、
前記第四支持杆から前記径方向に延設されて前記第四支持杆及び前記内縁と接続される第五支持杆と、
を備えるミラー部材。
続きを表示(約 940 文字)
【請求項2】
前記第一支持杆は、前記第五支持杆よりも前記第二周方向側に配置される請求項1に記載のミラー部材。
【請求項3】
前記第二支持杆及び前記第三支持杆とは、前記第二支持杆及び前記第三支持杆の互いの外縁の幅よりも拡幅した円弧状の第一折返し部を介して接続され、
前記第三支持杆及び前記第四支持杆とは、前記第三支持杆及び前記第四支持杆の互いの外縁の幅よりも拡幅した円弧状の第二折返し部を介して接続される、
請求項1に記載のミラー部材。
【請求項4】
前記第一折返し部は、前記内縁よりも前記回動中心側に膨出し、
前記第二折返し部は、前記回動中心よりも前記内縁側に膨出する、
請求項3に記載のミラー部材。
【請求項5】
前記第三支持杆は、前記第二支持杆よりも長く形成される請求項1に記載のミラー部材。
【請求項6】
前記第二支持杆は、前記第一支持杆側から前記第三支持杆側へ向かって前記回動中心側に縮径するように延設される、請求項1に記載のミラー部材。
【請求項7】
前記第五支持杆は、前記ミラーから前記第四支持杆の外縁までの距離よりも長く形成される請求項1乃至請求項6のいずれか1項に記載のミラー部材。
【請求項8】
前記第二支持杆及び前記第三支持杆とは、前記第二支持杆及び前記第三支持杆の互いの外縁の幅よりも拡幅した円弧状の第一折返し部を介して接続され、
前記第三支持杆及び前記第四支持杆とは、前記第三支持杆及び前記第四支持杆の互いの外縁の幅よりも拡幅した円弧状の第二折返し部を介して接続され、
前記第一折返し部は、前記内縁よりも前記回動中心側に膨出し、
前記第二折返し部は、前記回動中心よりも前記内縁側に膨出し、
前記第三支持杆は、前記第二支持杆よりも長く形成され、
前記第二支持杆は、前記第一支持杆側から前記第三支持杆側へ向かって前記回動中心側に縮径するように延設され、
前記第五支持杆は、前記ミラーから前記第四支持杆の外縁までの距離よりも長く形成される、
請求項2に記載のミラー部材。
発明の詳細な説明
【技術分野】
【0001】
本開示は、ミラー部材に関する。
続きを表示(約 1,900 文字)
【背景技術】
【0002】
従来から、光を反射して揺動可能に支持されるミラーを備え、光走査を可能とするスキャナ装置が提案されている。例えば、特許文献1には、光を反射する第1の面を有し、揺動軸廻りに揺動可能なミラーと、ミラーの第1の面とは反対側の面である第2の面に配された永久磁石と、ミラーの第2の面側において設けられたヨークと、を有するスキャナ装置(ミラースキャナ)が開示されている。このスキャナ装置は、支持板と、支持板から揺動軸に沿って伸びる一対のトーションバーと、支持板及びトーションバーによって揺動可能に支持されたミラーと、を含む。また、特許文献1の支持板、トーションバー及びミラーからなるミラー部材(ミラー本体部)は、半導体ウェハを加工することで一体的に形成されることが記載されている。
【先行技術文献】
【特許文献】
【0003】
特開2024-19458号公報
【発明の概要】
【発明が解決しようとする課題】
【0004】
特許文献1のスキャナ装置は、半導体ウェハを加工することで形成されるため、取り扱いに注意を要し、製造コストが高くなる場合がある。また、スキャナ装置において、ミラーを2軸動作させるために3個以上の複数の支持部(例えば、特許文献1のトーションバー)を設けると、駆動精度又は耐久性等を確保することが難しい場合があり、これらの信頼性を確保することが望まれる。
【0005】
本開示は、信頼性が高く容易に製造可能なミラー部材を提供することを目的とする。
【課題を解決するための手段】
【0006】
本開示に係るミラー部材は、本体枠と、ミラーと、前記本体枠の内縁及び前記ミラーを放射状に接続する複数の支持部と、を備え、前記支持部は、前記ミラーと接続されて前記ミラーの回動中心から前記内縁側に径方向に延設される第一支持杆と、前記第一支持杆と接続されて前記回動中心に対する第一周方向側に延設される第二支持杆と、前記第二支持杆と接続されて前記第二支持杆に対し前記回動中心の外径側において前記第一周方向とは反対の第二周方向側に延設される第三支持杆と、前記第三支持杆と接続されて前記第三支持杆に対し前記回動中心の外側において前記第一周方向側に延設される第四支持杆と、前記第四支持杆から前記径方向に延設されて前記第四支持杆及び前記内縁と接続される第五支持杆と、を備える。
【発明の効果】
【0007】
上記手段を用いる本開示に係るミラー部材は、信頼性が高くし容易に製造することができる。
【図面の簡単な説明】
【0008】
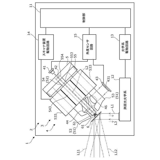
本開示の実施形態に係る光源装置の構成図である。
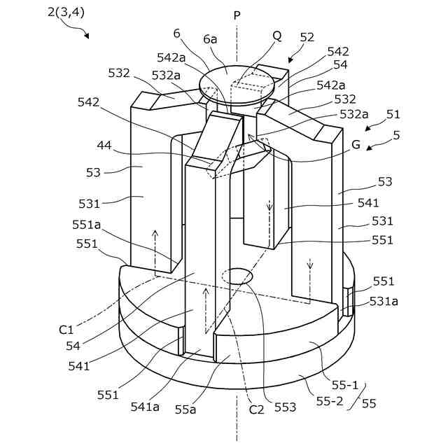
スキャナ装置の一部の構成の斜視図である。
ミラー部材の分解斜視図である。
ミラー支持部材の正面図である。
図4のミラー支持部材のA-A’,B-B’部拡大図である。
ミラー部材の正面図である。
ミラー部材の背面図である。
ミラー部材の平面図及び底面図である。
ミラー部材の左側面図である。
【発明を実施するための形態】
【0009】
以下、本開示の実施形態を図面に基づき説明する。図1は、光源装置1の構成図である。光源装置1は、レーザ光を空間に出射する機能を有する。光源装置1は、例えば、レーザ測距装置又はLiDAR(Light Detection And Ranging)センサ等の光源として利用される。光源装置1は、制御部11、測距光光学系12、光学系駆動回路13、及びスキャナ装置2を備える。
【0010】
制御部11は、光学系駆動回路13、スキャナ装置駆動回路14及び角度センサ回路15等の動作を制御する。制御部11は、記憶部(不図示)に記憶されるプログラムに含まれるコード又は命令によって実現する機能、及び/又は方法を実行する。制御部11は、例として、中央処理装置(CPU,Central Processing Unit)、MPU(Micro-Processing Unit)、GPU、MCU(Microcontroller Unit)、プロセッサコア、マルチプロセッサ、ASIC、FPGA等を適用することができ、集積回路等に形成された論理回路や専用回路によって各実施形態に開示される各処理を実現してもよい。また、これらの回路は、1又は複数の集積回路により実現されてよく、各実施形態に示す複数の処理を1つの集積回路により実現されることとしてもよい。
(【0011】以降は省略されています)
この特許をJ-PlatPat(特許庁公式サイト)で参照する
関連特許
東レ株式会社
積層フィルム
4日前
アイカ工業株式会社
反射防止フィルム
10日前
日本電気株式会社
光集積回路素子
2日前
スタンレー電気株式会社
照明装置
5日前
日東電工株式会社
調光フィルム
3日前
住友化学株式会社
積層体
2日前
日本精機株式会社
ヘッドアップディスプレイ装置
3日前
旭化成株式会社
成形体
9日前
旭化成株式会社
成形体
9日前
日本分光株式会社
赤外顕微鏡
9日前
住友ベークライト株式会社
積層体の製造方法
3日前
キヤノン株式会社
レンズ装置および撮像装置
11日前
キヤノン株式会社
レンズ装置および撮像装置
3日前
キヤノン株式会社
画像表示装置
9日前
Orbray株式会社
MEMS光スイッチの制御方法
3日前
レーザーテック株式会社
検査装置及び検査方法
13日前
キヤノン株式会社
表示装置
16日前
住友化学株式会社
偏光板及び画像表示装置
4日前
古河電気工業株式会社
光モジュール、光接続構造
3日前
キヤノン株式会社
光学系及び撮像装置
17日前
TDK株式会社
メタサーフェスレンズ
2日前
京セラ株式会社
走査装置及び制御装置
2日前
京セラ株式会社
走査装置及び制御装置
2日前
日東電工株式会社
積層光学部材及び光学装置
2日前
住友ベークライト株式会社
光学シート
2日前
国立大学法人徳島大学
光共振器、及び光周波数コム発生装置
3日前
住友化学株式会社
複合偏光板及び画像表示装置
11日前
国立大学法人徳島大学
光共振器、及び光周波数コム発生装置
3日前
KDDI株式会社
光増幅器
10日前
日本カーバイド工業株式会社
微小球型再帰反射シート
2日前
エピフォトニクス株式会社
光導波路素子
10日前
KDDI株式会社
光増幅器
10日前
株式会社精工技研
光コネクタプラグおよびロック工具
4日前
セイコーエプソン株式会社
虚像表示装置
13日前
日本カーバイド工業株式会社
微小球型再帰反射シート
2日前
住友ベークライト株式会社
光学性積層体
2日前
続きを見る
他の特許を見る