TOP
|
特許
|
意匠
|
商標
特許ウォッチ
Twitter
他の特許を見る
10個以上の画像は省略されています。
公開番号
2025154369
公報種別
公開特許公報(A)
公開日
2025-10-10
出願番号
2024057321
出願日
2024-03-29
発明の名称
スロットマシン
出願人
株式会社七匠
代理人
個人
主分類
A63F
5/04 20060101AFI20251002BHJP(スポーツ;ゲーム;娯楽)
要約
【課題】遊技興趣を向上させること。
【解決手段】本発明は、通常モードと、通常ATモードとにおいて、押し順ベルの操作順序を報知し、操作順序に従って停止操作を行うと15枚ベルの入賞を可能とした。そして、通常モードにおいて操作順序を報知した結果、15枚ベルが入賞せずに、3枚ベルやフォロー目が入賞した場合に、通常ATモードにおける操作順序の報知回数を加算可能とした。
【選択図】図9
特許請求の範囲
【請求項1】
遊技に係る制御を行う主制御手段と、
遊技に係る情報を報知する報知手段と、
複数種類の図柄を有する複数のリールと、
前記複数のリールのそれぞれに対応して設けられた停止ボタンと、を備えたスロットマシンにおいて、
前記主制御手段は、
役の抽せんを行う役抽せん手段と、
遊技者にとって不利な通常状態と、前記通常状態よりも遊技者にとって有利な有利状態と、の制御を行う状態制御手段と、を備え、
前記報知手段は、
前記通常状態と、前記有利状態とにおいて、所定の当せん役に係る図柄の組み合わせを入賞させるための前記停止ボタンの操作順序を報知可能であり、
前記主制御手段は、
前記通常状態において前記操作順序の報知を行った結果、前記所定の当せん役に係る図柄の組み合わせが入賞しなかった場合、前記有利状態における前記操作順序の報知回数を加算可能とする、
ことを特徴とするスロットマシン。
発明の詳細な説明
【技術分野】
【0001】
本発明は、スロットマシンに関する。
続きを表示(約 3,100 文字)
【背景技術】
【0002】
スロットマシンは、複数のリール(「回胴」ともいう)を用いた遊技の進行に関する制御(例えば、リールの駆動制御、役の判定の制御、遊技媒体(例えば、メダル)の払出制御、モードや遊技状態に関する制御)を行う主制御基板と、遊技状況に応じて遊技に対する興趣を向上させることを目的とする演出に関する制御(例えば、画像表示装置に画像を表示すること、ランプを点灯・点滅すること、スピーカから音声を出音すること)を行う副制御基板とで構成されているのが一般的である。
【0003】
また、スロットマシンにおいては、非アシストタイムと、アシストタイムとを有し、アシストタイムでは、当せん役の入賞を発生させるために必要となる停止操作の態様を特定可能な操作情報の表示を行うことで当せん役の入賞を容易にして、遊技者にとって有利な状態を構築している(例えば、特許文献1)。
【先行技術文献】
【特許文献】
【0004】
特開2020-036783号公報
【発明の概要】
【発明が解決しようとする課題】
【0005】
ところで、アシストタイムのような有利な状態における遊技興趣を向上させるうえでは、改善の余地があった。
【0006】
本発明は、このような実情に鑑み、遊技興趣を向上させることが可能な遊技機を提供することを目的とする。
【課題を解決するための手段】
【0007】
本発明に係るスロットマシンは、遊技に係る制御を行う主制御手段と、遊技に係る情報を報知する報知手段と、複数種類の図柄を有する複数のリールと、前記複数のリールのそれぞれに対応して設けられた停止ボタンと、を備えたスロットマシンにおいて、前記主制御手段は、役の抽せんを行う役抽せん手段と、遊技者にとって不利な通常状態と、前記通常状態よりも遊技者にとって有利な有利状態と、の制御を行う状態制御手段と、を備え、前記報知手段は、前記通常状態と、前記有利状態とにおいて、所定の当せん役に係る図柄の組み合わせを入賞させるための前記停止ボタンの操作順序を報知可能であり、前記主制御手段は、前記通常状態において前記操作順序の報知を行った結果、前記所定の当せん役に係る図柄の組み合わせが入賞しなかった場合、前記有利状態における前記操作順序の報知回数を加算可能とする、ことを特徴とする。
【発明の効果】
【0008】
本発明によれば、遊技興趣を向上させることが可能な遊技機を提供することができる。
【図面の簡単な説明】
【0009】
スロットマシンの外観正面図である。
スロットマシンのブロック図である。
左リール、中リール、右リールの図柄配置を示す図である。
スロットマシンの遊技状態の遷移図である。
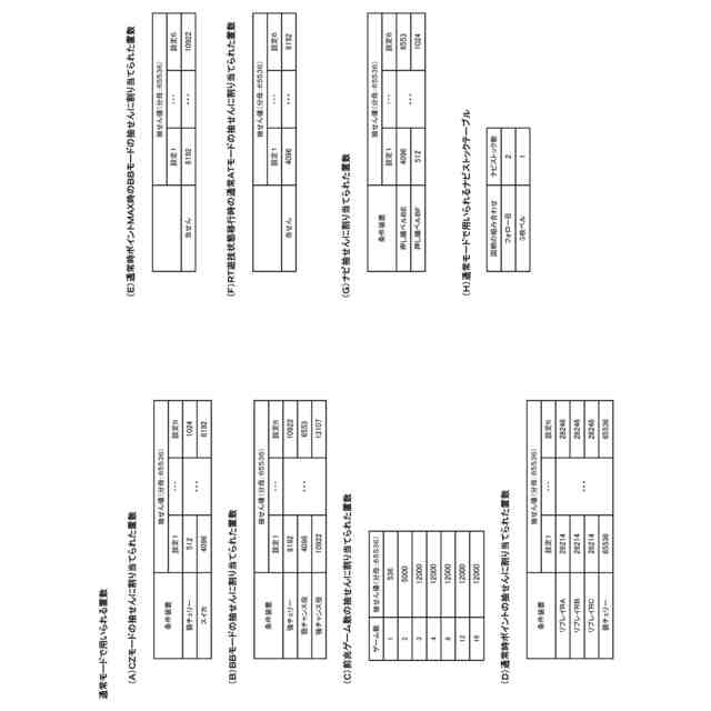
各条件装置に割り当てられた置数を示す図である。
スロットマシンの図柄の組み合わせを示す図である。
条件装置と、停止ボタンの操作順序と、図柄の組み合わせとの関係を示す図である。
スロットマシンのモードの遷移図である。
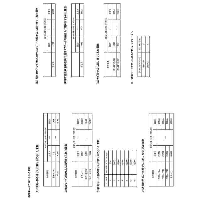
通常モードで用いられる置数を示す図である。
F前兆モードで用いられる置数を示す図である。
(a)BB前兆モードで用いられる置数を示す図、(b)BB準備モードで用いられるナビストックテーブルを示す図である。
CZモードで用いられる置数を示す図である。
BBモードで用いられる置数を示す図である。
通常ATモードで用いられる置数を示す図である。
ATBBモードで用いられる置数を示す図である。
引戻モードで用いられる置数を示す図である。
主RAMの各記憶領域を示す図である。
指示情報と払出表示部との関係を示す図である。
主制御基板の電源投入処理を示す図である。
遊技進行制御処理を示す図である。
モード別処理のサブルーチンを示す図である。
リセットモード処理のサブルーチンを示す図である。
通常モード処理のサブルーチンを示す図である。
CZ前兆モード処理のサブルーチンを示す図である。
BB前兆モード処理のサブルーチンを示す図である。
F前兆モード処理のサブルーチンを示す図である。
CZモード処理のサブルーチンを示す図である。
BB準備モード処理のサブルーチンを示す図である。
BBモード処理のサブルーチンを示す図である。
通常ATモード処理のサブルーチンを示す図である。
ATBB準備モード処理のサブルーチンを示す図である。
ATBBモード処理のサブルーチンを示す図である。
引戻モード処理のサブルーチンを示す図である。
ウエイト処理のサブルーチンを示す図である。
全停止後モード管理処理のサブルーチンを示す図である。
全停止後リセットモード処理のサブルーチンを示す図である。
全停止後通常モード処理のサブルーチンを示す図である。
全停止後CZ前兆モード処理のサブルーチンを示す図である。
全停止後BB前兆モード処理のサブルーチンを示す図である。
全停止後F前兆モード処理のサブルーチンを示す図である。
全停止後CZモード処理のサブルーチンを示す図である。
全停止後BB準備モード処理のサブルーチンを示す図である。
全停止後BBモード処理のサブルーチンを示す図である。
全停止後ATモード処理のサブルーチンを示す図である。
全停止後ATBB準備モード処理のサブルーチンを示す図である。
全停止後ATBBモード処理のサブルーチンを示す図である。
全停止後引戻モード処理のサブルーチンを示す図である。
有利区間管理処理のサブルーチンを示す図である。
タイマ割込処理を示す図である。
副制御基板の電源投入処理を示す図である。
BB準備モードから赤BBモードに移行するときのアニメーションを示す図である。
BB準備モードから青BBモードに移行するときのアニメーションを示す図である。
BBモードにおける15枚ベル獲得時のアニメーションを示す図である。
BBモードにおけるポイント獲得時(3枚ベル)のアニメーションを示す図である。
BBモードにおけるポイント獲得時(フォロー目)のアニメーションを示す図である。
BBモードにおける押し順ベルの報知態様を示すアニメーション図である。
BBモードの終了画面のアニメーションを示す図である。
通常モードにおける15枚ベル獲得時のアニメーションを示す図である。
通常モードにおける3枚ベル獲得時のアニメーションを示す図である。
通常モードにおけるフォロー目獲得時のアニメーションを示す図である。
通常モードにおける15枚ベル獲得時のストック数示唆アニメーションを示す図である。
通常ATモード開始時におけるアニメーションを示す図である。
通常ATモードとBBモードとの比較のアニメーション図である。
【発明を実施するための形態】
【0010】
以下、図面を参照して本発明の実施形態について説明する。
(【0011】以降は省略されています)
この特許をJ-PlatPat(特許庁公式サイト)で参照する
関連特許
株式会社七匠
遊技機
16日前
株式会社七匠
遊技機
16日前
株式会社七匠
遊技機
16日前
株式会社七匠
遊技機
16日前
株式会社七匠
遊技機
16日前
株式会社七匠
遊技機
16日前
株式会社七匠
遊技機
16日前
株式会社七匠
遊技機
16日前
株式会社七匠
遊技機
23日前
株式会社七匠
スロットマシン
15日前
株式会社七匠
スロットマシン
15日前
株式会社七匠
スロットマシン
15日前
株式会社七匠
スロットマシン
15日前
株式会社七匠
スロットマシン
15日前
株式会社七匠
スロットマシン
1か月前
個人
玩具
1か月前
個人
玩具
4か月前
個人
自走玩具
1か月前
個人
ゲーム玩具
5か月前
個人
運動補助具
3か月前
個人
打撃練習用具
16日前
株式会社三共
遊技機
1か月前
株式会社三共
遊技機
4か月前
株式会社三共
遊技機
4か月前
株式会社三共
遊技機
4か月前
株式会社三共
遊技機
4か月前
株式会社三共
遊技機
4か月前
株式会社三共
遊技機
4か月前
株式会社三共
遊技機
4か月前
株式会社三共
遊技機
4か月前
株式会社三共
遊技機
29日前
株式会社三共
遊技機
29日前
株式会社三共
遊技機
4か月前
株式会社三共
遊技機
4か月前
株式会社三共
遊技機
4か月前
株式会社三共
遊技機
4か月前
続きを見る
他の特許を見る