TOP
|
特許
|
意匠
|
商標
特許ウォッチ
Twitter
他の特許を見る
公開番号
2025144003
公報種別
公開特許公報(A)
公開日
2025-10-02
出願番号
2024043555
出願日
2024-03-19
発明の名称
遊技機
出願人
株式会社七匠
代理人
個人
,
個人
主分類
A63F
5/04 20060101AFI20250925BHJP(スポーツ;ゲーム;娯楽)
要約
【課題】 設定変更技術における操作性の向上を図ることができ、また、既存の設定値以外の特殊設定が用意されている場合には、そのような特殊設定への誤導入を効果的に抑制できる遊技機を提供する。
【解決手段】 演算処理及びデバイス制御を行うためのメイン制御部と、演出を制御するためのサブ制御部とを備え、前記メイン制御部の設定変更処理機能を有する遊技機であって、前記設定変更処理は、所定のボタン操作によって暫定設定値を順次変更させて設定すべき設定値を決定することのほかに、前記所定のボタンとは異なるボタンの押下操作によって、前記設定のうちの特定の設定へ即時変更させることを特徴とする。
【選択図】 図5
特許請求の範囲
【請求項1】
演算処理及びデバイス制御を行うためのメイン制御部と、演出を制御するためのサブ制御部とを備え、前記メイン制御部の設定変更処理機能を有する遊技機であって、
前記設定変更処理は、所定のボタン操作によって暫定設定値を順次変更させて設定すべき設定値を決定することのほかに、
前記所定のボタンとは異なるボタンの押下操作によって、前記設定のうちの特定の設定へ即時変更させることを特徴とする遊技機。
続きを表示(約 240 文字)
【請求項2】
前記設定変更処理は、所定のボタン操作によって暫定設定値を順次変更させて設定すべき設定値を決定する際、前記特定の設定をスキップして順次変更させることを特徴とする請求項1に記載の遊技機。
【請求項3】
前記所定のボタンとは異なるボタンはBETボタンであり、前記特定の設定は設定1または設定Lである、及び/または、前記所定のボタンとは異なるボタンは精算ボタンであり、前記特定の設定は設定6である
ことを特徴とする請求項1または2に記載の遊技機。
発明の詳細な説明
【技術分野】
【0001】
本発明は、広く遊技機の設定変更技術に関し、より詳細には、回胴装置を備えるスロットマシン、ぱちんこ等の遊技機における、操作ボタン等を介した設定変更技術に関する。
続きを表示(約 1,300 文字)
【背景技術】
【0002】
従来、回胴式遊技機(スロットマシン)、或いは回胴装置(スロット)を備えたぱちんこ等の遊技機(以下、「遊技機」と総称する。)においては、その遊技機の出玉率(機械割)を予めプログラムされた範囲内で調整する設定変更が行われている。
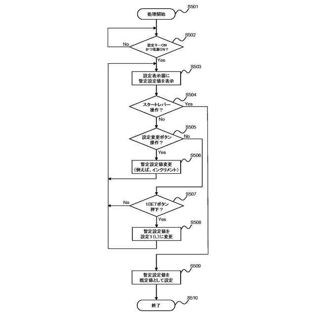
【0003】
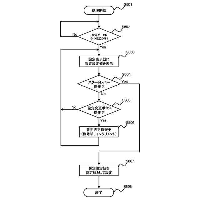
通常、この設定変更は、図8に示されるような手順で変更される。すなわち、同図において、設定変更処理が開始されると(ステップS801)、ステップS802に進み、遊技機筐体内に配置されている設定キーがONにされ、かつ、電源がONにされることを待つ(Yesとなるまで、ステップS802にて待機。なお、設定キーについては、図3A及び図3B等を参照して後述する。)。
【0004】
そして、ステップS802でYesとなると、ステップS803へ進み、遊技機の設定表示器に暫定の設定値が表示される(専用の設定表示器が設けられる場合もあれば、他のデジタル表示器が利用される場合もある。)。
【0005】
次に、ステップS804へ進み、スタートレバーが操作されたかどうかが判断され、Yesの場合はステップS807へ進むが、Noの場合はステップS805へ進み、設定変更ボタンが操作されたかどうかが判断される。同ステップにおいてNoの場合はステップS803へ復帰するが、Yesの場合はステップS806へ進み、暫定設定値が変更される(例えば、設定値がインクリメントされるなど。設定値が1~6まで用意されている遊技機の場合は、1→2→3→4→5→6→1→・・・と変更されていくなどである。)。
【0006】
ステップS807では、前ステップでスタートレバーが操作されており(スタートレバーは現時点での暫定設定値を既定値にする指令操作である。)、暫定設定値を既定値として設定し、設定変更処理を終了する(ステップS808)。
【0007】
そして、上述した設定変更技術を踏まえ、設定変更の誤設定を防止したり、設定変更が不正に変更されることを防止したりする観点から、これまで設定変更技術に関する種々の改良が積み重ねられてきた。
【0008】
例えば、不正な設定値の変更を防止する遊技機が提案されている(特許文献1)。
【0009】
すなわち、特許文献1には、ハズレ及び複数種類の当選役のいずれかを抽選により決定し、前記当選役が抽選されたときには抽選された当選役に応じた特典が遊技者に付与される遊技機において、前記ハズレ及び複数種類の当選役の少なくともいずれか1つの当選確率を変更する変更ボタンと、前記変更ボタンによる変更を行うことができる位置と変更を行うことができない位置との間で回動するキーシリンダとが設けられた設定基板を備えたことを特徴とする遊技機が開示されている。
【0010】
また、設定変更操作部における当選確率の不正な変更を防止することができる遊技機が提案されている(特許文献2)。
(【0011】以降は省略されています)
この特許をJ-PlatPat(特許庁公式サイト)で参照する
関連特許
株式会社七匠
遊技機
16日前
株式会社七匠
遊技機
16日前
株式会社七匠
遊技機
16日前
株式会社七匠
遊技機
16日前
株式会社七匠
遊技機
16日前
株式会社七匠
遊技機
16日前
株式会社七匠
遊技機
16日前
株式会社七匠
遊技機
16日前
株式会社七匠
遊技機
23日前
株式会社七匠
スロットマシン
2か月前
株式会社七匠
スロットマシン
5か月前
株式会社七匠
スロットマシン
5か月前
株式会社七匠
スロットマシン
2か月前
株式会社七匠
スロットマシン
2か月前
株式会社七匠
スロットマシン
15日前
株式会社七匠
スロットマシン
15日前
株式会社七匠
スロットマシン
15日前
株式会社七匠
スロットマシン
15日前
株式会社七匠
スロットマシン
15日前
株式会社七匠
スロットマシン
5か月前
株式会社七匠
スロットマシン
1か月前
株式会社七匠
スロットマシン
1か月前
個人
玩具
1か月前
個人
玩具
4か月前
個人
自走玩具
1か月前
個人
フィギュア
9か月前
個人
玩具
8か月前
個人
盤上遊戯具
9か月前
個人
運動補助具
3か月前
個人
ゲーム玩具
5か月前
個人
打撃練習用具
16日前
株式会社三共
遊技機
3か月前
株式会社三共
遊技機
7か月前
株式会社三共
遊技機
29日前
株式会社三共
遊技機
3か月前
株式会社三共
遊技機
3か月前
続きを見る
他の特許を見る