TOP
|
特許
|
意匠
|
商標
特許ウォッチ
Twitter
他の特許を見る
公開番号
2025159121
公報種別
公開特許公報(A)
公開日
2025-10-17
出願番号
2025134422,2021124165
出願日
2025-08-12,2021-07-29
発明の名称
ゲームプログラムおよびゲームシステム
出願人
株式会社カプコン
代理人
弁理士法人有古特許事務所
主分類
A63F
13/55 20140101AFI20251009BHJP(スポーツ;ゲーム;娯楽)
要約
【課題】ゲームプレイをより快適にするゲームプログラムおよびゲームシステムを提供する。
【解決手段】ゲームプログラムは、コンピュータを、ユーザの操作により指定されるゲーム状況である指定ゲーム状況と、ユーザの操作により指定される、ゲーム空間に配置されたノンプレイヤオブジェクトの動作である指定動作とを対応付けて、設定情報として記憶装置に記憶する設定手段、記憶装置に記憶された自動プログラムに基づき、ノンプレイヤオブジェクトの動作を制御する第1制御手段、進行中のゲーム状況である進行ゲーム状況が指定ゲーム状況と一致したか否かを判定する状況判定手段、および、進行ゲーム状況が指定ゲーム状況と一致したと判定された場合に、指定ゲーム状況に対応する指定動作を行うよう、ノンプレイヤオブジェクトを制御する第2制御手段、として機能させる。
【選択図】図4
特許請求の範囲
【請求項1】
ユーザにより操作される操作装置と、記憶装置と、コンピュータとを備えるゲームシステムにおいて実行されるゲームプログラムであって、
前記コンピュータを、
ユーザの操作により指定されるゲーム状況である指定ゲーム状況と、ユーザの操作により指定される、ゲーム空間に配置されたオブジェクトの動作である指定動作とを対応付けて、設定情報として前記記憶装置に記憶する設定手段、
ノンプレイヤオブジェクトの動作を制御する第1制御手段、
進行中のゲーム状況である進行ゲーム状況が前記指定ゲーム状況と一致したか否かを判定する状況判定手段、および、
前記進行ゲーム状況が前記指定ゲーム状況と一致したと判定された場合に、前記指定ゲーム状況に対応する前記指定動作を行うよう、前記ノンプレイヤオブジェクトを制御する第2制御手段、
として機能させる、ゲームプログラム。
続きを表示(約 1,800 文字)
【請求項2】
前記第1制御手段は、前記進行ゲーム状況が前記指定ゲーム状況に近づくように、前記ノンプレイヤオブジェクトの動作を制御する、請求項1に記載のゲームプログラム。
【請求項3】
前記記憶装置に記憶された複数の前記設定情報は、
第1指定ゲーム状況と、前記ノンプレイヤオブジェクトの第1指定動作とを対応付けた第1設定情報と、
第2指定ゲーム状況と、前記ノンプレイヤオブジェクトの第2指定動作と、前記第1指定ゲーム状況の後に前記第2指定ゲーム状況が発生することを示す発生順とを対応付けた第2設定情報と、を含み、
前記第2制御手段によって前記第1指定ゲーム状況に対応する前記第1指定動作を行うよう前記ノンプレイヤオブジェクトが制御された後、前記第1制御手段は、前記発生順に基づき、前記進行ゲーム状況が前記第2指定ゲーム状況に近づくように、前記ノンプレイヤオブジェクトの動作を制御する、請求項2に記載のゲームプログラム。
【請求項4】
前記記憶装置に記憶された複数の前記設定情報は、
第1指定ゲーム状況と、前記ノンプレイヤオブジェクトの第1指定動作とを対応付けた第1設定情報と、
第2指定ゲーム状況と、前記ノンプレイヤオブジェクトの第2指定動作とを対応付けた第2設定情報と、を含み、
前記第2指定ゲーム状況は、前記ノンプレイヤオブジェクトが指定位置にあるという状況を含み、
前記設定手段は、前記第1設定情報および前記前記第2設定情報に対して、順番を設定し、
前記第1制御手段は、設定された前記順番に基づき、前記第2制御手段により前記第1指定ゲーム状況に対応する前記第1指定動作を行うよう前記ノンプレイヤオブジェクトが制御された後、前記ノンプレイヤオブジェクトを前記指定位置に移動させるように、前記ノンプレイヤオブジェクトの動作を制御する、請求項2に記載のゲームプログラム。
【請求項5】
前記指定ゲーム状況は、前記ゲーム空間における前記ノンプレイヤオブジェクトの絶対位置、および、前記ゲーム空間に配置された前記ノンプレイヤオブジェクトとは別のオブジェクトに対する前記ノンプレイヤオブジェクトの相対位置の少なくとも1つが、所定の位置であるという状況を含む、請求項1~4のいずれか1項に記載のゲームプログラム。
【請求項6】
前記コンピュータを、ユーザの操作により、前記ゲーム空間に配置されたプレイヤオブ
ジェクトの動作を制御するプレイヤオブジェクト制御手段、として更に機能させ、
前記指定ゲーム状況は、前記ゲーム空間における前記プレイヤオブジェクトの位置および動作の少なくとも1つが所定の条件を満たしたという状況を含む、請求項1~5のいずれか1項に記載のゲームプログラム。
【請求項7】
前記コンピュータを、前記第1制御手段により前記ノンプレイヤオブジェクトの動作が制御される間、前記ノンプレイヤオブジェクトに関する所定のパラメータを変動させるパラメータ変更手段、として更に機能させ、
前記指定ゲーム状況は、前記パラメータが所定の値に到達したという状況を含む、請求項1~6のいずれか1項に記載のゲームプログラム。
【請求項8】
前記ゲームシステムは、ゲーム画面が表示される表示装置を備え、
前記所定のパラメータは、その値が前記ゲーム画面にゲージとして表示されるパラメータである、請求項7に記載のゲームプログラム。
【請求項9】
前記指定動作は、連続した複数の動作を含み、
前記設定情報は、前記連続した複数の動作の順番、および、前記連続した複数の動作の動作間の空き時間の少なくとも1つを含む、請求項1~8のいずれか1項に記載のゲームプログラム。
【請求項10】
前記第2制御手段は、前記進行ゲーム状況が前記指定ゲーム状況と一致したと判定された場合に、前記ノンプレイヤオブジェクトが前記指定ゲーム状況に対応する前記指定動作に関する行動を所定の確率で行うよう、前記ノンプレイヤオブジェクトを制御する、請求項1~9のいずれか1項に記載のゲームプログラム。
(【請求項11】以降は省略されています)
発明の詳細な説明
【技術分野】
【0001】
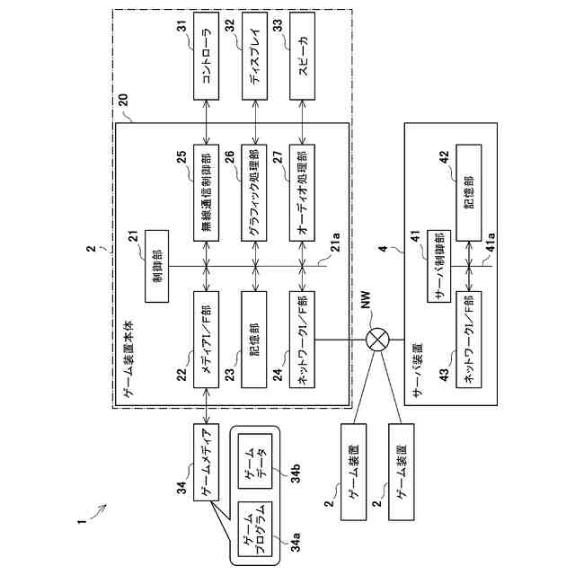
本発明は、ゲームプログラムおよびゲームシステムに関する。
続きを表示(約 2,100 文字)
【背景技術】
【0002】
従来、仮想のゲーム空間内にユーザの操作により直接的に動作が制御されるプレイヤオブジェクトと、ユーザの操作によっては直接的にその動作が操作されないノンプレイヤオブジェクトが登場するゲームが知られている。例えば非特許文献1には、ノンプレイヤキャラクタが行う動作をユーザが設定できるゲームが開示されている。このゲームでは、ユーザが所定のボタンを押すと、ノンプレイヤキャラクタがユーザにより設定された動作を行うシーンに切り替わる。
【先行技術文献】
【非特許文献】
【0003】
CAPCOM,「ストリートファイターV」のモードを紹介,“トレーニングモード”,[online],[令和3年5月19日検索],インターネット <URL:https://www.capcom.co.jp/sfv/160201_gamemode.html>
【発明の概要】
【発明が解決しようとする課題】
【0004】
ユーザにとってより快適にプレイできるゲームが望まれる。
【0005】
そこで、本発明は、ゲームプレイをより快適にするゲームプログラムおよびゲームシステムを提供することを目的とする。
【課題を解決するための手段】
【0006】
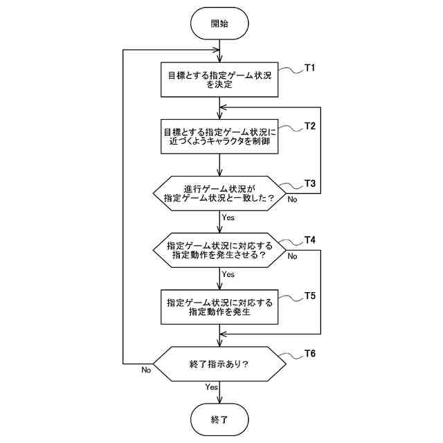
上記の課題を解決するために、本発明の一態様に係るゲームプログラムは、ユーザにより操作される操作装置と、記憶装置と、コンピュータとを備えるゲームシステムにおいて実行されるゲームプログラムであって、前記コンピュータを、ユーザの操作により指定されるゲーム状況である指定ゲーム状況と、ユーザの操作により指定される、ゲーム空間に配置されたオブジェクトの動作である指定動作とを対応付けて、設定情報として前記記憶装置に記憶する設定手段、ノンプレイヤオブジェクトの動作を制御する第1制御手段、進行中のゲーム状況である進行ゲーム状況が前記指定ゲーム状況と一致したか否かを判定する状況判定手段、および、前記進行ゲーム状況が前記指定ゲーム状況と一致したと判定された場合に、前記指定ゲーム状況に対応する前記指定動作を行うよう、前記ノンプレイヤオブジェクトを制御する第2制御手段、として機能させる、ゲームプログラムである。
【0007】
上記ゲームプログラムによれば、ゲーム進行中に指定ゲーム状況が発生すると、指定動作を行うようノンプレイヤオブジェクトが制御される。このため、ユーザが設定した動作を、ボタンを押すなどのユーザの操作と関係なしにノンプレイヤオブジェクトに行わせることができる。
【0008】
前記第1制御手段は、前記進行ゲーム状況が前記指定ゲーム状況に近づくように、前記ノンプレイヤオブジェクトの動作を制御してもよい。これにより、ユーザが指定したゲーム状況を発生しやすくなり、その結果、ユーザにより設定された動作がノンプレイヤオブジェクトにより行われやすくなる。
【0009】
前記記憶装置に記憶された複数の前記設定情報は、第1指定ゲーム状況と、前記ノンプ
レイヤオブジェクトの第1指定動作とを対応付けた第1設定情報と、第2指定ゲーム状況と、前記ノンプレイヤオブジェクトの第2指定動作と、前記第1指定ゲーム状況の後に前記第2指定ゲーム状況が発生することを示す発生順とを対応付けた第2設定情報と、を含み、前記第2制御手段によって前記第1指定ゲーム状況に対応する前記第1指定動作を行うよう前記ノンプレイヤオブジェクトが制御された後、前記第1制御手段は、前記発生順に基づき、前記進行ゲーム状況が前記第2指定ゲーム状況に近づくように、前記ノンプレイヤオブジェクトの動作を制御してもよい。これにより、ノンプレイヤオブジェクトが第1指定動作を行った場合に、次にノンプレイヤオブジェクトが第2指定動作を行うであろうことを、ユーザは予測することができる。
【0010】
前記記憶装置に記憶された複数の前記設定情報は、第1指定ゲーム状況と、前記ノンプレイヤオブジェクトの第1指定動作とを対応付けた第1設定情報と、第2指定ゲーム状況と、前記ノンプレイヤオブジェクトの第2指定動作とを対応付けた第2設定情報と、を含み、前記第2指定ゲーム状況は、前記ノンプレイヤオブジェクトが指定位置にあるという状況を含み、前記設定手段は、前記第1設定情報および前記前記第2設定情報に対して、順番を設定し、前記第1制御手段は、設定された前記順番に基づき、前記第2制御手段により前記第1指定ゲーム状況に対応する前記第1指定動作を行うよう前記ノンプレイヤオブジェクトが制御された後、前記ノンプレイヤオブジェクトを前記指定位置に移動させるように、前記ノンプレイヤオブジェクトの動作を制御してもよい。ノンプレイヤオブジェクトの移動によって、進行ゲーム状況を指定ゲーム状況に近づけ得るため、ユーザが指定したゲーム状況を発生させやすく、その結果、ユーザにより設定された動作をノンプレイヤオブジェクトにより行われやすくする。
(【0011】以降は省略されています)
特許ウォッチbot のツイートを見る
この特許をJ-PlatPat(特許庁公式サイト)で参照する
関連特許
株式会社カプコン
ゲームプログラムおよびゲームシステム
2日前
株式会社カプコン
ゲームプログラムおよびゲームシステム
13日前
株式会社カプコン
ゲームプログラムおよびゲームシステム
6日前
個人
玩具
4か月前
個人
玩具
1か月前
個人
自走玩具
1か月前
個人
ゲーム玩具
5か月前
個人
運動補助具
3か月前
個人
打撃練習用具
14日前
株式会社三共
遊技機
7か月前
株式会社三共
遊技機
3か月前
株式会社三共
遊技機
3か月前
株式会社三共
遊技機
3か月前
株式会社三共
遊技機
3か月前
株式会社三共
遊技機
3か月前
株式会社三共
遊技機
3か月前
株式会社三共
遊技機
3か月前
株式会社三共
遊技機
7か月前
株式会社三共
遊技機
3か月前
株式会社三共
遊技機
3か月前
株式会社三共
遊技機
3か月前
株式会社三共
遊技機
3か月前
株式会社三共
遊技機
3か月前
株式会社三共
遊技機
3か月前
株式会社三共
遊技機
3か月前
株式会社三共
遊技機
3か月前
株式会社三共
遊技機
7か月前
株式会社三共
遊技機
7か月前
株式会社三共
遊技機
3か月前
株式会社三共
遊技機
7か月前
株式会社三共
遊技機
7か月前
株式会社三共
遊技機
7か月前
株式会社三共
遊技機
7か月前
株式会社三共
遊技機
7か月前
株式会社三共
遊技機
7か月前
株式会社三共
遊技機
7か月前
続きを見る
他の特許を見る