TOP
|
特許
|
意匠
|
商標
特許ウォッチ
Twitter
他の特許を見る
公開番号
2025166546
公報種別
公開特許公報(A)
公開日
2025-11-06
出願番号
2024070642
出願日
2024-04-24
発明の名称
ノズル、切削装置及び被加工物の加工方法
出願人
株式会社ディスコ
代理人
個人
,
個人
,
個人
,
個人
,
個人
,
個人
主分類
B24B
55/02 20060101AFI20251029BHJP(研削;研磨)
要約
【課題】切削液を加工点に供給しながら単層又は複層の被加工物に溝を形成する際に、この溝における切削液の残留を抑制する。
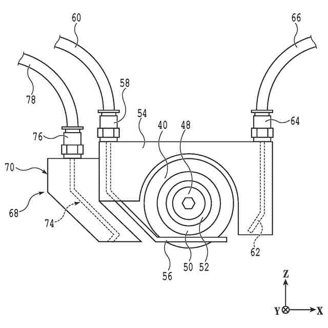
【解決手段】回転する円環状の切削ブレードを単層又は複層の被加工物に切り込ませた状態で切削ブレードと被加工物との接触界面に切削液を供給しながら切削ブレードからみて後方向に被加工物を移動させることによって被加工物に前後方向に沿った溝を形成する際に溝に残留する切削液を除去するように溝に流体を供給するためのノズルであって、正面視において角環形状を有し、かつ、下端が流出口となる流路が内部に形成されている本体を有する。本体は、正面視において、中心に流出口が位置する下面と、側面視において、下面の前端から後斜め上に向かって延在する部分を有する前面と、を含む。
【選択図】図4
特許請求の範囲
【請求項1】
回転する円環状の切削ブレードを単層又は複層の被加工物に切り込ませた状態で該切削ブレードと該被加工物との接触界面に切削液を供給しながら該切削ブレードからみて後方向に該被加工物を移動させることによって該被加工物に前後方向に沿った溝を形成する際に該溝に残留する該切削液を除去するように該溝に流体を供給するためのノズルであって、
正面視において角環形状を有し、かつ、下端が流出口となる流路が内部に形成されている本体を有し、
該本体は、
正面視において、中心に該流出口が位置する下面と、
側面視において、該下面の前端から後斜め上に向かって延在する部分を有する前面と、を含む、ノズル。
続きを表示(約 1,100 文字)
【請求項2】
該流路は、該流出口から前斜め上に向かって延在する部分を含む、請求項1に記載のノズル。
【請求項3】
単層又は複層の被加工物を保持するための保持テーブルと、
該保持テーブルに保持された該被加工物を切削するための円環状の切削ブレードが先端部に装着され、かつ、左右方向に沿って延在するスピンドルと、該切削ブレードと該被加工物との接触界面に切削液を供給するための切削液供給ノズルと、を有し、かつ、該保持テーブルの上方に位置する切削ユニットと、
該保持テーブルと該切削ユニットとを前後方向に沿って相対移動させるための移動機構と、を備える切削装置であって、
該切削ユニットは、該スピンドルとともに回転する該切削ブレードを該保持テーブルに保持された該被加工物に切り込ませた状態で該切削ブレードと該被加工物との該接触界面に該切削液供給ノズルから該切削液を供給しながら該切削ブレードからみて後方向に該被加工物を移動させるように該移動機構を動作させることによって該被加工物に該前後方向に沿った溝を形成する際に該溝に残留する該切削液を除去するように該溝に流体を供給するための流体供給ノズルをさらに有し、
該流体供給ノズルは、該切削ブレードからみて該後方向に位置するとともに、正面視において角環形状を有し、かつ、下端が流出口となる流路が内部に形成されている本体を有し、
該本体は、
正面視において、中心に該流出口が位置する下面と、
側面視において、該下面の前端から後斜め上に向かって延在する部分を有する前面と、を含む、切削装置。
【請求項4】
該流路は、該流出口から前斜め上に向かって延在する部分を含む、請求項3に記載の切削装置。
【請求項5】
単層又は複層の被加工物に前後方向に沿った溝を形成する被加工物の加工方法であって、
該被加工物からみて後方向に位置する円環状の切削ブレードの下端を該被加工物の上面と下面との間に位置付ける位置付けステップと、
該位置付けステップの後に、該切削ブレードを回転させながら該切削ブレードからみて該後方向に該被加工物を移動させることによって該被加工物に該前後方向に沿った溝を形成する加工ステップと、を備え、
該加工ステップにおいては、該切削ブレードと該被加工物との接触界面に切削液が供給されるとともに該溝に残留する該切削液を除去するように該溝に流体が供給される、被加工物の加工方法。
【請求項6】
後斜め下に向かうように流れる該流体が該溝に供給される、請求項5に記載の被加工物の加工方法。
発明の詳細な説明
【技術分野】
【0001】
本発明は、被加工物に溝を形成する際に溝に残留する切削液を除去するように溝に流体を供給するためのノズルと、このノズルが設けられている切削装置と、被加工物に溝を形成する被加工物の加工方法と、に関する。
続きを表示(約 1,700 文字)
【背景技術】
【0002】
IC(Integrated Circuit)等のデバイスのチップは、携帯電話及びパーソナルコンピュータ等の各種電子機器において不可欠の構成要素である。このチップは、例えば、複数のデバイスが設けられているウェーハ又はパッケージ基板等(以下「ウェーハ等」ともいう。)を複数のデバイスの境界に沿って分割することによって製造される。
【0003】
この分割は、例えば、ウェーハ等を保持するための保持テーブルと、保持テーブルの上方に位置する切削ユニットと、保持テーブルと切削ユニットとを相対移動させるための移動機構と、を備える切削装置において行われる。また、切削ユニットは、保持テーブルに保持されたウェーハ等を切削するための円環状の切削ブレードが先端部に装着されているスピンドルと、切削ブレードとウェーハ等との接触界面(加工点)に切削液を供給するための切削液供給ノズルと、を有する。
【0004】
なお、切削液は、例えば、水を主成分とする液体であり、一般的に、切削ブレードによるウェーハ等の切削に伴って加熱される両者を冷却し、かつ、これに伴って生じる切削屑を洗い流すために加工点に供給される。さらに、切削液には、例えば、加工精度を向上させるためにウェーハ等に含まれる物質と化学反応するような物質(例えば、有機酸又は酸化剤等)が含まれることもある(例えば、特許文献1参照)。
【0005】
そして、切削装置においては、例えば、以下の順序でウェーハ等が分割される。まず、その一面に貼着されているダイシングテープを介してウェーハ等を保持テーブルによって保持する。次いで、保持テーブルからみて後方向に位置する切削ブレードがウェーハ等を貫通し、かつ、その切っ先(下端)がダイシングテープに対応する高さに位置付けられるように切削ブレードと保持テーブルとの相対的な位置を調整する。
【0006】
次いで、スピンドルとともに切削ブレードを回転させ、かつ、切削液供給ノズルから加工点に切削液を供給しながら、切削ブレードからみて後方向に保持テーブルを移動させる。これにより、その底面がダイシングテープに位置し、かつ、ウェーハ等を貫通する溝が形成される、すなわち、ウェーハ等が分割される。
【先行技術文献】
【特許文献】
【0007】
特開2020-27917号公報
【発明の概要】
【発明が解決しようとする課題】
【0008】
切削液を加工点に供給しながらウェーハ等の単層又はウェーハ等及びダイシングテープ等を含む積層(以下「単層又は複層の被加工物」ともいう。)に溝が形成されると、この溝に長期間に渡って切削液が残留するおそれがある。そして、この切削液にウェーハ等に含まれる物質と化学反応するような物質が含まれる場合、両物質の化学反応が長期間に渡って生じ、例えば、複数のチップが意図しない色に変色するといった問題が生じるおそれがある。
【0009】
この点に鑑み、本発明の目的は、切削液を加工点に供給しながら単層又は複層の被加工物に溝を形成する際に、この溝における切削液の残留を抑制することである。
【課題を解決するための手段】
【0010】
本発明の一側面によれば、回転する円環状の切削ブレードを単層又は複層の被加工物に切り込ませた状態で該切削ブレードと該被加工物との接触界面に切削液を供給しながら該切削ブレードからみて後方向に該被加工物を移動させることによって該被加工物に前後方向に沿った溝を形成する際に該溝に残留する該切削液を除去するように該溝に流体を供給するためのノズルであって、正面視において角環形状を有し、かつ、下端が流出口となる流路が内部に形成されている本体を有し、該本体は、正面視において、中心に該流出口が位置する下面と、側面視において、該下面の前端から後斜め上に向かって延在する部分を有する前面と、を含む、ノズルが提供される。
(【0011】以降は省略されています)
この特許をJ-PlatPat(特許庁公式サイト)で参照する
関連特許
株式会社ディスコ
焼成炉
15日前
株式会社ディスコ
切削装置
25日前
株式会社ディスコ
処理装置
15日前
株式会社ディスコ
研削装置
15日前
株式会社ディスコ
加工装置
9日前
株式会社ディスコ
加工装置
4日前
株式会社ディスコ
加工装置
24日前
株式会社ディスコ
加工装置
24日前
株式会社ディスコ
切削装置
10日前
株式会社ディスコ
加工装置
17日前
株式会社ディスコ
加工方法
22日前
株式会社ディスコ
加工装置
1日前
株式会社ディスコ
加工装置
25日前
株式会社ディスコ
搬送システム
23日前
株式会社ディスコ
搬送システム
15日前
株式会社ディスコ
搬送システム
22日前
株式会社ディスコ
シート固着装置
3日前
株式会社ディスコ
保護部材形成装置
24日前
株式会社ディスコ
保護部材形成装置
22日前
株式会社ディスコ
レーザー加工装置
3日前
株式会社ディスコ
抗折強度測定装置
15日前
株式会社ディスコ
配線引き抜き治具
15日前
株式会社ディスコ
液状樹脂供給装置
23日前
株式会社ディスコ
加工室の洗浄方法
12日前
株式会社ディスコ
ウェーハの分割方法
16日前
株式会社ディスコ
カーフチェック方法
16日前
株式会社ディスコ
ウエーハの加工方法
16日前
株式会社ディスコ
加工装置及び支持柱
16日前
株式会社ディスコ
ウエーハの加工装置
22日前
株式会社ディスコ
被加工物の処理装置
24日前
株式会社ディスコ
スピンドルユニット
1日前
株式会社ディスコ
被加工物の加工方法
9日前
株式会社ディスコ
処理装置及び検知方法
10日前
株式会社ディスコ
シリアル接続システム
1日前
株式会社ディスコ
キャリア板の除去方法
3日前
株式会社ディスコ
加工方法、及び研磨装置
3日前
続きを見る
他の特許を見る