TOP
|
特許
|
意匠
|
商標
意匠ウォッチ
Twitter
他の意匠を見る
発行日
2025-10-01
公報種別
意匠公報(S)
登録番号
1725661
登録日
2022-09-15
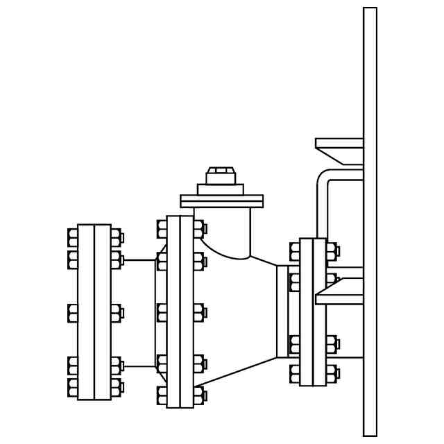
意匠に係る物品
スラリータンク内バキューム用マンホール蓋
意匠分類
K6
-129(化学機械器具)
出願番号
2022002720
出願日
2022-02-14
意匠権者
住友金属鉱山株式会社
,
SUMITOMO METAL MINING CO.,LTD.
代理人
個人
意匠に係る物品の説明
本物品は、タンク内部に堆積した鉱石スラリー等の残渣を除去するためのバキューム用マンホール蓋であって、その形状的特徴は使用状態を示す参考図、斜視図等に示すように、タンク側面下部のマンホール部に着脱する大径の円板からなる蓋体にノズルとバルブが接続され、タンク内のスラリーを全量払い出した後に、バルブを操作してタンク内部の残渣を吸引除去する方式となしたものである。
意匠の説明
この意匠をJ-PlatPat(特許庁公式サイト)で参照する
関連意匠
住友金属鉱山株式会社
7日前
住友金属鉱山株式会社
3か月前
住友金属鉱山株式会社
9日前
住友金属鉱山株式会社
4か月前
住友金属鉱山株式会社
定量供給器具設置台
4か月前
住友金属鉱山株式会社
磁歪材料の固定具
6か月前
住友金属鉱山株式会社
スプレーノズル固定用治具
15日前
住友金属鉱山株式会社
フィルタープレスの濾板当て板
4か月前
住友金属鉱山株式会社
給液用オーバーフローの分配槽
15日前
住友金属鉱山株式会社
タンク設置用基礎
11か月前
住友金属鉱山株式会社
タンク設置用基礎
11か月前
住友金属鉱山株式会社
吊り上げ器具
2日前
住友金属鉱山株式会社
側溝天端及び蓋の保護カバー
28日前
住友金属鉱山株式会社
スラリータンク内バキューム用マンホール蓋
15日前
住友金属鉱山株式会社
居付き除去棒
1か月前
住友金属鉱山株式会社
製錬炉内確認用治具
2日前
住友金属鉱山株式会社
岩石切断機用サンプル固定治具
2日前
住友金属鉱山株式会社
補助バーナーの位置測定器
1か月前
住友金属鉱山株式会社
槽内蛇管の浮き上がり防止治具
1か月前
住友金属鉱山株式会社
サンプリングガス冷却器およびガス冷却用配管
1か月前
住友ファーマ株式会社
皿
3か月前
住友ファーマ株式会社
皿
3か月前
個人
濾布
13日前
個人
濾布
13日前
ウォンボン カンパニー リミテッド
浄水器
14日前
ウォンボン カンパニー リミテッド
浄水器
14日前
株式会社中部コーポレーション
撹拌翼
21日前
株式会社ナリカ
撹拌器
4か月前
コーウェイ株式会社
浄水器
10か月前
住鉱潤滑剤株式会社
撹拌翼
7か月前
キュア ホールディングス プロプライエタリー リミテッド
浄水器
10か月前
エスペック株式会社
恒温器
8日前
住鉱潤滑剤株式会社
撹拌翼
7か月前
エスペック株式会社
恒温器
8日前
フルタ電機株式会社
消泡機
7か月前
株式会社LIXIL
冷水器
10か月前
続きを見る
他の意匠を見る