TOP
|
特許
|
意匠
|
商標
特許ウォッチ
Twitter
他の特許を見る
10個以上の画像は省略されています。
公開番号
2025072924
公報種別
公開特許公報(A)
公開日
2025-05-12
出願番号
2023183412
出願日
2023-10-25
発明の名称
ノック式筆記具
出願人
三菱鉛筆株式会社
代理人
個人
,
個人
,
個人
主分類
B43K
24/08 20060101AFI20250501BHJP(筆記用または製図用の器具;机上付属具)
要約
【課題】回転子に対するノック部材の径方向のがたつきを抑制したノック式筆記具を提供する。
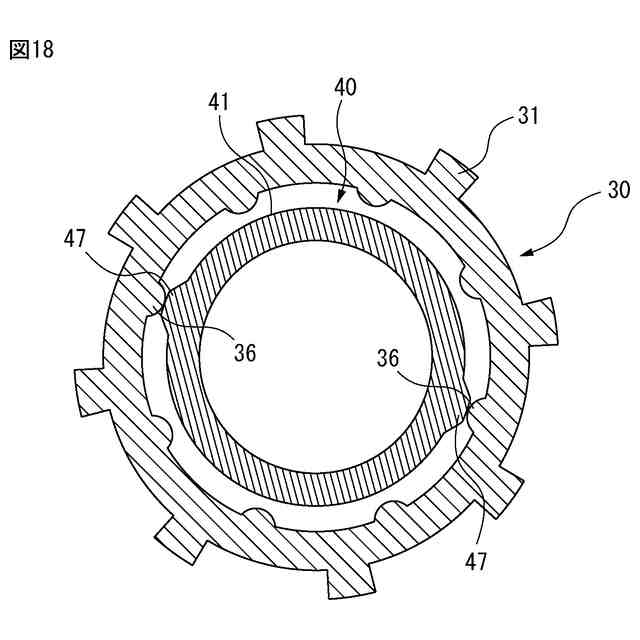
【解決手段】ノック式筆記具1が、軸筒2と、円筒状に形成され且つカム面を有するノック部材30と、ノック部材の前方に配置された回転子40であって、ノック部材のカム面と協働するカム受け面とノック部材内に挿入可能な挿入部41とを有する回転子40と、を具備し、ノック部材の内面に第1規制部36が形成され、回転子の挿入部の外面に第2規制部47が形成され、ノック操作によってカム面とカム受け面とが協働してノック部材に対して回転子を回転させて当該ノック式筆記具が筆記状態になったとき、第1規制部36及び第2規制部47が、径方向において整列して、回転子に対するノック部材の径方向の移動を規制するように構成され、ノック操作中には、第1規制部36及び第2規制部47が、径方向において整列しないように構成されている。
【選択図】図18
特許請求の範囲
【請求項1】
軸筒と、円筒状に形成され且つカム面を有するノック部材と、前記ノック部材の前方に配置された回転子であって、前記ノック部材の前記カム面と協働するカム受け面と前記ノック部材内に挿入可能な挿入部とを有する回転子と、を具備するノック式筆記具において、
前記ノック部材の内面に第1規制部が形成され、前記回転子の前記挿入部の外面に第2規制部が形成され、
ノック操作によって前記カム面と前記カム受け面とが協働して前記ノック部材に対して前記回転子を回転させて当該ノック式筆記具が筆記状態になったとき、前記第1規制部及び前記第2規制部が、径方向において整列して、前記回転子に対する前記ノック部材の径方向の移動を規制するように構成され、
ノック操作中には、前記第1規制部及び前記第2規制部が、径方向において整列しないように構成されていることを特徴とするノック式筆記具。
続きを表示(約 630 文字)
【請求項2】
前記第1規制部及び前記第2規制部が径方向において整列するとき前記第1規制部及び前記第2規制部が当接し、前記ノック部材及び前記回転子が軸線方向に係止するように構成されている請求項1に記載のノック式筆記具。
【請求項3】
前記第1規制部及び前記第2規制部が、突起又は長手方向に延びるリブであり、前記第1規制部が、1回のノック操作による前記回転子の回転角に応じて設けられている請求項1又は2に記載のノック式筆記具。
【請求項4】
先端にボールを抱持したボールペンチップを備えたリフィルをさらに具備し、前記軸筒の外部から内部に貫通する粘弾性材料からなる緩衝部が設けられ、前記リフィルの前進が前記緩衝部との当接によって規制されるように構成されると共に、前記軸筒の外面に把持部が設けられ、前記緩衝部が前記把持部の一部からなる請求項1又は2に記載のノック式筆記具。
【請求項5】
雄ねじ部を備えた雄ねじ部材と、雌ねじ部を備え且つ前記雄ねじ部材と螺合可能な筒状の雌ねじ部材とを有し、前記雄ねじ部が第1係止部を有し、前記雌ねじ部が第2係止部を有し、前記雄ねじ部材及び前記雌ねじ部材の螺合時に前記第1係止部及び前記第2係止部が互いを乗り越えていることで、前記雄ねじ部材及び前記雌ねじ部材の螺合解除時に前記第1係止部及び前記第2係止部が係止するように構成されている請求項1又は2に記載のノック式筆記具。
発明の詳細な説明
【技術分野】
【0001】
本発明は、ノック式筆記具に関する。
続きを表示(約 2,100 文字)
【背景技術】
【0002】
一般に、ノック式筆記具は、軸筒の後端部に配置されたノック部材と、ノック部材の前方に配置された回転子と、筆記体であるリフィルを後方に付勢するスプリングと、軸筒の内面に設けられたカム突起である外カムとを有している。ノック式筆記具では、スプリングの付勢力に抗してノック部材を前方に押圧するノック操作を行うことによって、ペン先である筆記部が軸筒の先端から突出した筆記状態と筆記部が軸筒内に没入した非筆記状態とが切り替えられる。具体的には、ノック操作によって、ノック部材が、回転子と共に前方へ移動しながら回転子を所定の回転角度だけ回転させる。ノック操作による回転子の回転に応じて、回転子が軸筒内の外カムと係合又は係合解除することで、ノック式筆記具は、筆記状態と非筆記状態とが切り替えられる。
【0003】
ノック式筆記具が筆記状態のとき、スプリングによって後方に付勢された回転子は外カムと係合して固定される。一方で、ノック部材は、スプリングによって付勢されておらず、他の部材によっても規制されていない。そのためノック部材は、ノック式筆記具の中心軸線における径方向及び軸線方向に僅かに移動可能となっており、がたついてしまう。したがって、筆記動作等によってノック部材が回転子又は軸筒にぶつかり、使用者にとって不快な音及び振動が生じる虞がある。
【0004】
ノック部材のがたつきという課題を解決するため、特許文献1に記載のノック式筆記具が公知である。特許文献1に記載のノック式筆記具では、回転子(回転カム)に設けられた係止突起と、ノック部材(固定カム)に設けられた係止段部とが、軸線方向に係止することによってがたつきを軽減している。
【先行技術文献】
【特許文献】
【0005】
特開2003-305990号公報
【発明の概要】
【発明が解決しようとする課題】
【0006】
特許文献1に記載のノック式筆記具では、そもそも特許文献1に記載されているように、ノック部材の軸線方向の若干のがたつきは許容されており、さらに、ノック部材の径方向のがたつきについては考慮されていない。
【0007】
本発明は、回転子に対するノック部材の径方向のがたつきを抑制したノック式筆記具を提供することを目的とする。
【課題を解決するための手段】
【0008】
本発明の一態様によれば、軸筒と、円筒状に形成され且つカム面を有するノック部材と、前記ノック部材の前方に配置された回転子であって、前記ノック部材の前記カム面と協働するカム受け面と前記ノック部材内に挿入可能な挿入部とを有する回転子と、を具備するノック式筆記具において、前記ノック部材の内面に第1規制部が形成され、前記回転子の前記挿入部の外面に第2規制部が形成され、ノック操作によって前記カム面と前記カム受け面とが協働して前記ノック部材に対して前記回転子を回転させて当該ノック式筆記具が筆記状態になったとき、前記第1規制部及び前記第2規制部が、径方向において整列して、前記回転子に対する前記ノック部材の径方向の移動を規制するように構成され、ノック操作中には、前記第1規制部及び前記第2規制部が、径方向において整列しないように構成されていることを特徴とするノック式筆記具が提供される。
【0009】
前記第1規制部及び前記第2規制部が径方向において整列するとき前記第1規制部及び前記第2規制部が当接し、前記ノック部材及び前記回転子が軸線方向に係止するように構成されていてもよい。前記第1規制部及び前記第2規制部が、突起又は長手方向に延びるリブであってもよい。前記第1規制部が、1回のノック操作による前記回転子の回転角に応じて設けられていてもよい。先端にボールを抱持したボールペンチップを備えたリフィルをさらに具備し、前記軸筒の外部から内部に貫通する緩衝部が設けられ、前記リフィルの前進が前記緩衝部との当接によって規制されるように構成されていてもよい、前記緩衝部が粘弾性材料からなるようにしてもよい。前記軸筒の外面に把持部が設けられ、前記緩衝部が前記把持部の一部からなるようにしてもよい。雄ねじ部を備えた雄ねじ部材と、雌ねじ部を備え且つ前記雄ねじ部材と螺合可能な筒状の雌ねじ部材とを有し、前記雄ねじ部が第1係止部を有し、前記雌ねじ部が第2係止部を有し、前記雄ねじ部材及び前記雌ねじ部材の螺合時に前記第1係止部及び前記第2係止部が互いを乗り越えていることで、前記雄ねじ部材及び前記雌ねじ部材の螺合解除時に前記第1係止部及び前記第2係止部が係止するように構成されていてもよい。
【発明の効果】
【0010】
本発明の態様によれば、回転子に対するノック部材の径方向のがたつきを抑制したノック式筆記具を提供するという共通の効果を奏する。
【図面の簡単な説明】
(【0011】以降は省略されています)
この特許をJ-PlatPat(特許庁公式サイト)で参照する
関連特許
三菱鉛筆株式会社
鉛筆
22日前
三菱鉛筆株式会社
鉛筆
15日前
三菱鉛筆株式会社
筆記具
15日前
三菱鉛筆株式会社
塗布具
1か月前
三菱鉛筆株式会社
筆記具
29日前
三菱鉛筆株式会社
革用塗布具
1か月前
三菱鉛筆株式会社
化粧料塗布具
1か月前
三菱鉛筆株式会社
ノック式筆記具
2か月前
三菱鉛筆株式会社
ノック式筆記具
15日前
三菱鉛筆株式会社
化粧具用キャップ
1か月前
三菱鉛筆株式会社
多液混合型塗布具
2か月前
三菱鉛筆株式会社
スピーカー用塗料組成物
3日前
三菱鉛筆株式会社
化粧料塗布具のキャップ
1か月前
三菱鉛筆株式会社
筆記具用水性インク組成物
14日前
三菱鉛筆株式会社
超音波探触子用バッキング材
7日前
三菱鉛筆株式会社
非吸収面用インクおよび塗布具
1か月前
三菱鉛筆株式会社
筆記具用水中油滴型インク組成物
1か月前
三菱鉛筆株式会社
筆記具用水中油滴型インク組成物
2か月前
三菱鉛筆株式会社
電極作製用単層カーボンナノチューブ分散液
13日前
三菱鉛筆株式会社
替芯ケース
2か月前
三菱鉛筆株式会社
液体塗布容器
23日前
三菱鉛筆株式会社
電極作製用カーボンナノチューブ分散液及び電極作製用スラリー
1か月前
三菱鉛筆株式会社
水系化粧料組成物用顔料分散液、それを用いた水系化粧料組成物
22日前
三菱鉛筆株式会社
インクリフィル
2か月前
三菱鉛筆株式会社
直液式芳香消臭剤容器
1か月前
三菱鉛筆株式会社
筆記具部品及び筆記具部品の製造方法
28日前
三菱鉛筆株式会社
3次元プリンタ成形及び炭素化による炭素成形体の製造のための炭素成形体用組成物及びフィラメント
2か月前
個人
両利き筆記具
3日前
ぺんてる株式会社
筆記具
2か月前
個人
ペンスタンド
11か月前
ぺんてる株式会社
塗布具
5か月前
ぺんてる株式会社
塗布具
5か月前
個人
ツールホルダー
3か月前
コクヨ株式会社
転写具
5か月前
コクヨ株式会社
転写具
5か月前
コクヨ株式会社
転写具
5か月前
続きを見る
他の特許を見る